现代高质量的放大设备里通常都装有三组扬声器来分别放送低音频、中音频和高音频。有时只有两级扬声器:一组用来放低音及中音;另一组用来放送高音。在所有上述情况下,扬声器都应能够失真最小地放出从30~60赫到12000~16000赫的频带。各组扬声器的工作频带用分频滤波器来分隔。
在设计分频滤波器时,必须合理选择滤波器的分隔频率和信号在阻带内的衰减;并且正确计算滤波器的组成元件,以保证滤波器与负载匹配;同时,滤波器的损耗也应当尽可能小。本文将在放大设备用的分频滤波器的设计方面提出一些建议供作参考。
分隔频率的选择

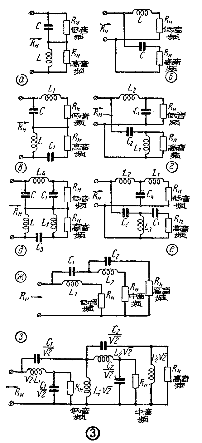
分隔频率(f\(_{T1}\)及fT2)由扬声器的组数来决定。例如,有两组扬声器时,就在400~1200赫的频率范围内选取一个分隔频率,通常等于600赫(图1)。如果有三组扬声器,就选取两个分隔频率,其中一个选在25O~1200赫内;另一个选在5000赫附近(图2)。
阻带衰减的选取
通常用每个倍频程降低多少分贝来衡量滤波器阻带的有效衰减(两个频率之比等于2或0.5,它们就相差一个倍频程)。在最简单的放大器中,采用衰减的6分贝/倍频程的滤波器;在结构较复杂的放大器中,通常使用衰减为12分贝/倍频程的滤波器;而在一些高质量的立体声设备中,即采用衰减为18分贝/倍频程的滤波器。


表1列出了两组(图3а,б,в,ι,е)和三组(图3Ж,з)扬声器在阻带中具有不同衰减的滤波器的计算公式。
衰减为6分贝/倍频程的滤波器(图3的а和б),其元件参数可按表1中公式计算。当计算衰减为12分贝/倍频程滤波器元件的参数时,则须将衰减为6分贝/倍频程滤波器的电感及电容值相应地乘以或除以\(\sqrt{2}\)(图3的з和Ж)。
例:已知:f\(_{T1}\)=500赫,fT2=4500赫,R\(_{H}\)=10欧。求: L1,C\(_{1}\),L2及C\(_{2}\)。
按公式可得出:
L\(_{1}\)=3.2毫亨,C1=32微法,
L\(_{2}\)=0.355毫亨,C2=3.55微法。
滤波器的电容器和线圈
分频滤波器的损耗应为最小。因为只有这样,才能将有用功率的大部分传给扬声器。因此,最好采用损耗比较小的МВГО型(工作电压为160伏)的纸介电容器或МБГП型(工作电压为200伏)的纸介电容器;而电感线圈则应用较粗的导线绕制(在线圈电阻中的损耗应不大于有用功率的5~10%)。此外,为了减小非线性失真,最好采用没有铁心的线圈。但在某些情况下,滤波器参数L和C的数值可能很大,为了减小滤波器的尺寸,只好采用带有铁心的线圈和“单极”电解电容器。“单极”电容器可以用两个通常的电解电容器串联组成(图4)。

该电容器的总电容量可用下式求得:
C\(_{总}\)=C1·C\(_{2}\)C1+C\(_{2}\)
电解电容器的电阻随频率的增高而增大,这使滤波器的高频频率特性恶化。因此,要将电容量为0.3~1.0微法的纸介电容器(最好用МБМ型的)与电解电容器并联。当放大器输出功率小于50瓦,而其工作频率低于20000赫时,在滤波器中可用“单极”电解电容器。这时,最好采用ЭГО,КЭГ或ЭГЦ型低压电解电容器。
扬声器类型的选择
扬声器的额定功率(几个扬声器的功率之和)应大于放大设备的额定输出功率。如果放大设备采用几组扬声器,分别放送各段频带,那么每组扬声器的功率总和都应当比放大设备的额定输出功率大一些。如果这一要求不能满足,扬声器将会过载而出现非线性失真。
电动式扬声器的声压频率特性曲线是不平坦的;因此最好将它增多一倍使用,在这种情况下,如果相位配合得当,输出功率便可增加到将近两倍。所用两个扬声器的基本谐振频率应当相差30赫,而且最低的一个谐振频率应当在70~80赫处。
通常,可以使用功率为5~10瓦,纸盆直径为250~300毫米的低频扬声器(例如:10ГД—14,10ГД—12,5ГД—10,5ГД—14,4ГД—1和4ГД—2型)。也可以使用2ГД—4和2ГД—3型扬声器。在高频扬声器中,建议选用4ГД—1,4ГД—2,1ГД—12,1ГД—14,1ГД—9和ВГД—1型。在桌式结构中,通常使用谐振频率为150赫的1ГД—9型电动式扬声器。
匹配问题
滤波器的输入端和输出端应与负载阻抗相匹配。如果放音设备准备装几组扬声器的话,最好选取阻抗相同的扬声器,这时输出变压器只要一个次级线卷;否则必须应用有几个次级线卷的输出变压器。
以两组扬声器或两只不同的扬声器工作的输出变压器,它的变换系数可由下式计算:
n\(_{1}\)=w2аw\(_{1}\)=\(\sqrt{R}\)H1·α;ηmp·R\(_{a}\)(1+α);
n\(_{2}\)=w2бw\(_{1}\)=\(\sqrt{R}\)H2·α;ηmp·R\(_{a}\)(1+α),
式中w\(_{2а}\)、w2б——次级线卷的砸数;ηmp——变压器的效率;R\(_{a}\)——输出级的交流负载阻抗; RH1、R\(_{H2}\)——分别为第一组及第二组扬声器的阻抗或第一只及第二只扬声器的阻抗;α=P1P\(_{2}\)——扬声器组的功率比。

如果各组扬声器的阻抗相等,而功率不同,则在用于功率较小的一组扬声器的滤波器后面,应接入固定的《T》型衰耗节(图5)。该节内各元件的参数由下式计算:
R\(_{1}\)=RH(\(\frac{α}{_{1}}\)-1α1+1);
R\(_{2}\)=RH(\(\frac{2α}{_{1}}\)α\(^{2}\)1-1),
式中 α\(_{1}\)=P1P\(_{2}\)
滤波器的安装和调整
滤波器的各个元件间的寄生电感和电容的耦合,会导致它们的频率特性失真,特别是在高音频区域中。故应采用单独的和公共的屏蔽,以及将电感线圈彼此垂直放置,可以大大减弱这种寄生耦合。

为了便于调整,可以将滤波器电路分为一些单独的回路来分别计算它们的谐振频率,然后,按图6电路来调谐各个串联的回路;按图7电路来调谐各个并联回路。根据电子管电压表(建议利用ЛВ—9和МВЛ—1型电压表)的最小读数来调谐。调谐后,测绘出滤波器的特性。也可根据电子管电压表的最大读数来调谐回路。这时,如果调串联回路,需将电子管电压表和回路的一个电抗元件并联;如调并联回路,则将电子管电压表与被检查的回路并联。([苏]工程师И.切克马列夫)(马成良 赵永昌译自苏联“无线电”杂志1962年第10期)