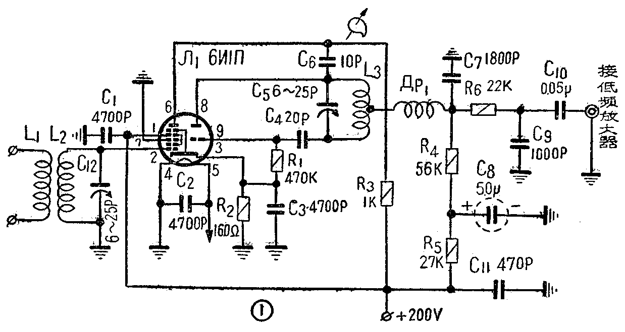
附加器如图1所示,电子管使用6И1П(国产管为6U1——译注)。当输入信号强度为100微伏、频偏为75千赫时,它能输出不小于0.3伏的低频电压,因此,超再生附加器的固有杂音在这里实际并不显著。超再生辐射场强不大于8~12微伏,并且它的强度决定于线圈L\(_{1}\)、L2、L\(_{3}\)的相对位置。

输入回路按照使用对称天线设计,并调谐到超短波调频频带的中间频率。电子管6И1П的七极部分用作高频放大,并用以减少超再生振荡器(由电子管三极部分担任)通过天线向外的辐射。采用片形如图2所示的可变电容器取得64.5~73兆赫的波段复盖。此可变电容器固定在调谐旋轴上,距离线圈L\(_{3}\)一端为1~1.5毫米。

调频信号通过天线回路和高频放大器后,经电容器C\(_{6}\)交连到超再生振荡回路。频率检波由超再生振荡器的失谐回路完成。检波后得到的低频电压由负载电阻R4上取出,然后送到低频放大器的栅极去。超再生级屏极直流电压通过扼流圈ДР1供给。线圈L\(_{2}\)、L3无支架,直径15毫米。L\(_{1}\)绕在直径为15毫米的纸管上;并且将L2固定在距离L\(_{1}\)0.5毫米的位置上,线圈的构成:L2和L\(_{3}\)用直径20毫米漆包线分别绕5匝和4匝。L1用直径0.18单丝漆包线绕6匝。扼流圈ДP\(_{1}\)用0.27毫米漆包线在1/2瓦炭膜电阻(56千欧)上绕50匝。如果低频放大器做得合适,附加器的质量指标不低于三级无线电接收机的标准。(苏联E.斯塔霍夫)(白绍卿译自苏联“无线电”1960年第9期)