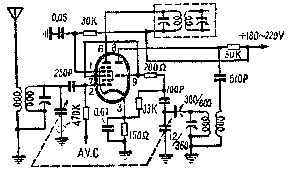
问:超外差式收音机用6U1(6И1П)作变频,应采用何种线圈,装置时应注意哪些问题?
答:6U1(6И1П)与6К8三极部分的特性基本相同,可采用美通610К(中波段)与640К(短波段)天地回路线圈与振荡回路线圈。接线方法见附图(图中只绘出中波段)。6U1性能很好,但装接不良,非常容易产生寄生振荡。安装时天地回路线圈与振荡回路线圈要尽可能离远些,接线宜用单股导线,尽可能短些。接地点要与底板可靠地焊接。双连的外壳,仅用螺丝与底板相连是不够的,要另用编织线焊接。装好后可将三极部分栅极33КΩ电阻与阴极断开,串入一只万用表(表棒正极接阴极,负极接33КΩ电阻),测量振荡栅流。转动双连,振荡电流在100微安到300微安之间是正常的,如果没有振荡电流,应将振荡线圈的回授线圈反接。如果振荡不正常(这对640振荡线圈是可能的),可把回授线圈拆下,改绕在调谐线圈上,中间衬一层到二层黄腊绸或其他高频性能较好的绝缘材料如聚苯乙烯薄膜就行了。(鲜于景苍答)

问:市售二寸半恒磁式扬声器的音圈阻抗是多少欧,简单的晶体管收音机的输出阻抗是多少欧,输出变压器的圈数比应如何决定?
答:市售二寸半恒磁式扬声器品种较多,音圈阻抗也不一致,有3.5欧、8欧、16欧等数种。要判断其阻抗时,可用普通欧姆表测出音圈的直流电阻,然后再乘常数1.4,大致等于其音圈在400赫时的阻抗。
晶体管收音机的输出阻抗随着电路不同和工作点不同有所改变,详细请参阅本刊1962年8期“晶体管收音机输出变压器的设计”一文。
问:晶体管收音机电路中电解电容器的耐压应如何确定?
答:晶体管收管机电路中的电解电容器耐压除有特殊注明的外,一般可以用供电电压作为必要的最低耐压,例如某晶体管收音机用6伏电池供电,则电路中电解电容器如耐压超过6伏时,即可使用。电容器耐压比所要求的高,对电路并没有影响,但体积略大,价格较贵而已。(以上丁启鸿答)
问:有时收音机在频率高端收音正常,频率低端则工作不久就收不到电台,此时将双连向高频端转动一下再回到低端,暂时又能收音,但不久又没有了,不知何故?
答:此系本地振荡器振荡太弱所致。因本地振荡器的振荡强度在整个波段内是不均匀的,双连愈转入时振荡愈弱,若弱到不能维持振荡,就停振不能收音。将双连转出一下(即向高端频率转动一下),振荡恢复;双连再转入(即回到低端频率),振荡暂时维持一下,不久仍又停振。因此,应加强振荡线圈的耦合,如是抽头式的则将抽头向地端移近一些(若是线圈本身因受潮等使Q值太低则应更换),使双连全部转入时仍能维持正常的振荡,就不会有上述毛病。抽头式线圈抽头点与阴极间的接线宜愈短愈好。
问:在简单收音机中,常用6N1(6Н1П)半边做输出级,如何选配工作状态?
答:用6N1半边做输出管,一般所用屏压为200伏左右,屏流约10毫安,栅偏压约-3伏左右。该管最大屏极耗散功率为2.2瓦,应注意工作点的直流屏压屏流的乘积不要超过此数,否则屏极会发红而烧坏。屏极负载可选用10千欧左右,输出到扬声器的功率约达200毫瓦,用普通的扬声器在不大的室内收听已够响亮。输出变压器不能用6P1(6П1П)的直接代替,需改制一下。可利用普通四五灯机用的输出变压器铁芯,将初级电感做到七、八亨利以上。如使用3.5欧的扬声器,则初次级圈数比约为45:1左右。(以上俞锡良答)
问:电唱机输出音量较大时,会产生低频啸叫,是何原因?
答:电唱机当扬声器音量较大时,常会产生振荡啸叫,术语叫做“低频机震”。它是由声、电和机械振动之间产生的回授所引起的,机震频率一般在200赫以内。
改善的办法是,在电唱机与木箱间增设避震装置,增加木箱厚度,或把扬声器箱和电唱盘分开来装置。(费建星、黄烱答)