检查一架收音机的工作是否正常,可以通过测量各部分电路的工作电压和电流来确定。工作正常的收音机,各部分的电压和电流应当符合设计规定的数值,或相差不大,否则就可能引起故障,或使电路工作性能变坏,如发生声音轻弱、失真等。
在电子管收音机里,共有三种电源来供作收音机的工作动力,这就是通常所说的“甲电”、“乙电”和“丙电”。这几种电源保证收音机各部分取得所需的电压和电流。下面就结合这三种电源的电路来谈谈收音机各部分的电压和电流的作用和测量检查方法。
一、电压的测量
1.乙电电路
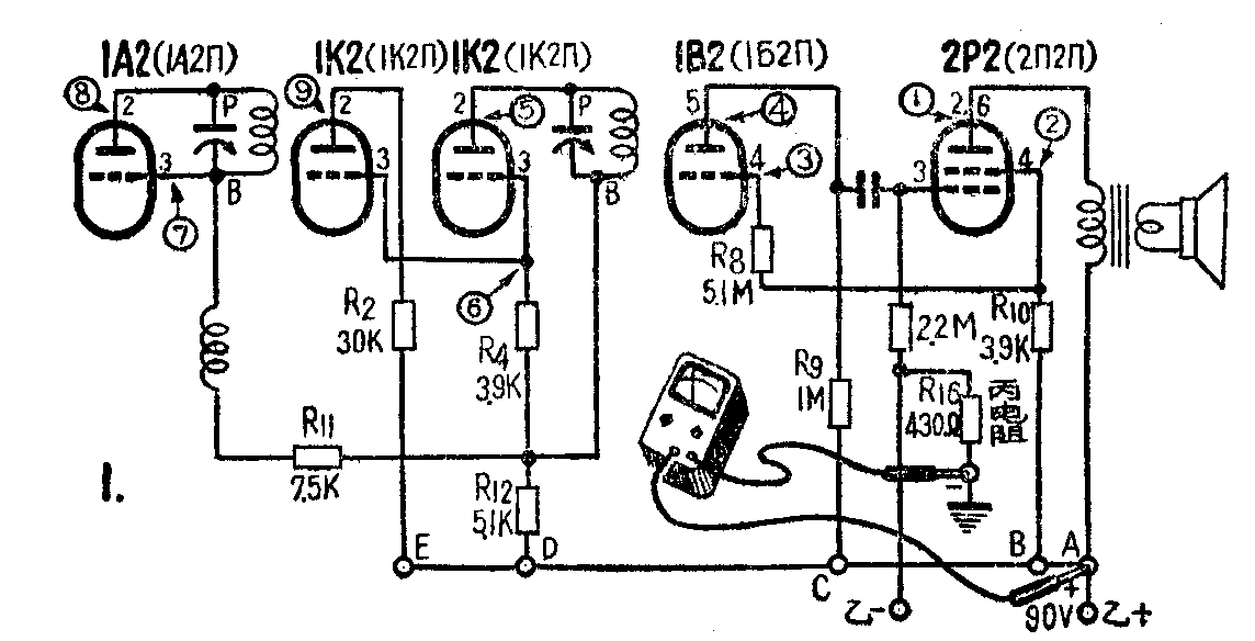
电子管屏极和帘栅极所需的电源,通常称为“乙”电源(或“B”电源)。拿“长江”牌五灯干电池式收音机来说,乙电供电电路(见图1)的正端经过一些变压器初级线圈和一些电阻,分别加到各级电子管的屏极和帘栅极;电源的负端则经过R\(_{16}\)后接地,也就是接到各个电子管的阴极接地端,完成电源回路。

由于各级电子管的屏极和帘栅极所要求的电压不同,所以各部分的降压电阻是不同的,例如图中2Р2的帘栅压是由B点经过降压电阻R\(_{1}\)0取得,而1В2管的帘栅压则由B点经过R10、R\(_{8}\)的两次降压才能取得。其它各管乙电供电电路如图所示,就不一一叙述。
测量时,先将电压表选择开关扳到直流电压(DC)范围内的250伏一档,电表负试棒接触机壳,另外一根正试棒,依次接触图中标明①②③……各点进行测量,如果发现某一点的电压与额定电压相差很多,那么在这个支路中的电阻或电容,一定有变值及漏电等现象,需要进一步检查。
下表是取自修理中的实测记录,若以每伏20000Ω的电表测试,一般差误不到5%,可供参考。

2.甲电电路
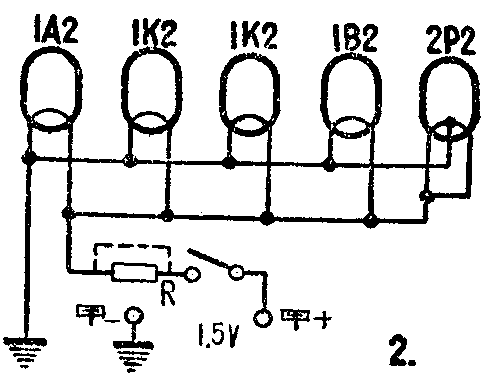
供给电子管灯丝的电源称为“甲”电源。在电池式收音机里,全部电子管的灯丝都采用并联接法。甲电源所用的甲电池电压为1.5伏,而“北京”牌小型管的规定灯丝电压为1.2伏,电压用得太高了,电子管的寿命将随之缩短,因此在“长江”牌125型、“新时代”162—1—1型等一些收音机中,都在灯丝电路内甲十端串联一只降压电阻R(图2),将甲电池电压降低一些,以适合电子管的需要。

测量甲电电路只要检查灯丝电压是否合格就行。测量时把电表开关扳到直流电压的3伏或10伏一档,试棒负端触碰机壳,正端触碰灯丝接甲电正极的一端,测出电压值如不低于1.3伏,尚可应用。如果甲电池电压不足或者管子衰老,发音就要低落。这时可以把串联在灯丝回路中的电阻短路(如图中虚线所示),把加给灯丝的电压提高。
3.丙电电路
供给电子管栅极偏压用的电源一般称为“丙”电源。在一些老式收音机中,是用一组丙电池专门供给,但接线麻烦,使用不便,在现代收音机中已不采用了。在电池式收音机里,末级以前的各级的电子管都设计为零栅偏压,即直接接地;末级功率放大管的负栅偏压大都设法在乙电电路中串接一只降压电阻而取得,例如图1中R16就起这种作用。这时乙电电路内的总电电流流过它产生的电压降,正端接地,也就是加到阴极(未画出),而负端经过2.2兆欧电阻加到栅极上去。
这样取得的负偏压的高低,是与电路中的电阻值、以及电流成正比的。
测量栅负偏压时,将电表选择开关扳到直流10伏一档,正试棒触地端(机壳),负试棒触乙一,实测之电压数,就是负偏压。
此外,变频管当振荡时也产生一个自生负偏压,也可按同样的步骤测量,测量时负试棒接触电子管1A2的振荡栅极电阻,正试棒接机壳。电池式收音机的这种自生负栅偏压比较低,而且在550千赫及1600千赫间的不同点上,数值不同。测量时最好将双连电容器转到1400千赫左右。一般实测值约在O.5~1伏之间为正常。如果把试棒串接一只高频扼流圈,电压指数更为显著。
二、电流的测量
电子管收音机的每一级电子管都需要应用上述三种电源供电。因此根据所测量各电源电路里电流是否符合设计数值,也能判断出收音机各部分的工作是否正常。
测量某电路里的电流时,是把电路断开,串接一只电流表,如用三用表测量时,先把选择开关扳到直流电流范围,根据预先估计的电流大小,放到适当的量档。如果对预测的电流数值不够了解,那末要将量档选高一些,以免烧坏电表,例如要测量一架五灯干电池收音机的甲电消耗电流。电子管如用的是1A2等一套,从电子管手册中查出1А2、1В2、1К2的灯丝电流都为0.03安,2P2管灯丝并联使用时为0.06安,这时总电流应为(0.03×4)+0.06= 0.18安,即180毫安,那末所选量档的满度电流值正比180毫安高,例如250毫安档。然后将电表串接在甲+电路中。正试棒接电池正极一端;负试棒接电路另一端(见图3)。

测量乙电全部消耗电流的步骤与前一样,把电流表串接在乙+电路中。当乙电源闭路后,电表的指数,即是全部乙电电流。
如在修理工作中,需要测试某只电子管的屏流,或者帘栅电流,这时如将线路拆断来进行测量,就感到太不方便了,因此要采取不拆断线路的简便方法。现以测试功率放大管2P2的屏流和帘栅电流为例,说明测量方法如下。

先将电压表开关选择到直流3伏一档,然后开启电源,电表的正试棒接触A点(图4),负试棒接触B点,记下电压的读数后将电源关掉。把电表扳到(R×10)一档,测出输出变压器初级圈的直流电阻,这样就可以按照欧姆定律公式I=\(\frac{E}{R}\)求出电流。设实测输出变压器初级线圈两端电压为2伏,该线圈直流电阻为400欧,屏极电流=2伏;400欧=5毫安。
如要测试帘栅电流,可将负试棒移到C点,电表扳到50伏一档,然后开启电源,测出降压电阻两端电压值。设实测电压为14伏,则计算出帘栅电流为14伏/10000欧=0.0014安(1.4毫安)。(石锐)