人耳可以听见的声音,频率最高只能达到15~20千赫。因此一般把频率超过15~20千赫的声波叫做超声波。利用各种不同频率和适当功率的超声波,能够为我们做很多工作,例如清洗机器零件、消毒、除尘、探测、探伤、焊接等等。利用超声波还能加速塑料分子的聚合,加速水泥的凝固,刺激种子提前发芽。在冶金中利用超声波,可以提高金属的冶炼质量。诊断和治疗疾病、探矿、分析建筑材料强度,现在都广泛应用各种超声波仪器。
本文介绍的晶体超声波发生器,可用来进行许多实验,通过这些实验,能够了解超声波的主要特性。
电路原理
振荡电路的原理图见图1a,这是一个推挽式振荡电路。电子管使用两个6П3C,接成三极管。屏极回路中的L\(_{1}\)C2组成振荡回路,振荡频率约3兆赫,可用C\(_{2}\)来调整频率。L2为反馈线圈。R\(_{1}\)为栅负偏压电阻,用来确定电子管的工作点。输出经C4、C\(_{5}\)加到石英晶体,通过晶体的压电作用,产生超声波。

电源直接使用交流市电。电源变压器的绕组Ⅱ供给电子管屏压。高频扼流圈ДP\(_{1}\)和电容器C1组成一个低通滤波器,防止高频振荡电流进入电源部分。绕组Ⅲ供给灯丝电流,电容器C\(_{3}\)作高频旁路用。
由于采用了推挽振荡电路,两个电子管交替工作(在电源电压正半周时Л\(_{2}\)工作,负半周时Л1工作),可省去整流器。
主要零件的制作或选择
1.谐振线圈L\(_{1}\)和反馈线圈L2
这两个线圈是螺旋式的。制作时必须做两块木夹板。用宽为25厘米的木板,锯成两块正方形的木板。每块木板的中心钻一个直径10~15毫米的小孔,以便穿入螺柱。在一块木板上还必须钻一个小孔或开一个宽为3毫米的槽,以便固定线圈的引出线头。绕制时,把螺柱穿入木板的中心孔内,在木板上下端的螺柱上各套一个螺帽,然后拧上螺帽,使两块木板相隔的距离,约等于线圈导线的直径。螺柱的一端夹在台虎钳上,第一圈绕好后,再拧紧螺帽,继续绕以下各圈。线圈L\(_{1}\)和L2分别单独绕制,L\(_{1}\)绕16圈,L2绕1\(_{2}\)圈,都采用直径3毫米的铜线。装置时,把一个线圈放在胶木或塑料十字架上(见图2)。为了固定线圈,在这个十字架上要用手锯或锉刀按线圈圈距刻出相应的凹槽。放上线圈后,再用一个未刻槽的十字架压住线圈。另一个线圈直接放在一块有机玻璃(或分层绝缘板及塑料板)上。两个线圈重迭起来,有十字架的线圈放在上面,用螺钉固定在振荡器底板上。

2.扼流圈ДP\(_{1}\)
高频扼流圈ДP\(_{1}\),用单丝漆包线(直径0.25毫米)绕制。线圈骨架直径为30毫米,可采用陶瓷或塑料圆筒。分段迭绕,每段100圈,共绕300~500圈。
3.电源变压器ТP\(_{1}\)
采用Ш-33型硅钢片,迭厚33毫米。绕组Ⅰ当电源电压为127伏时绕544圈,用直径0.45毫米的漆包线绕制。如果电源电压为220伏,绕组Ⅰ应用直径0.35毫米的漆包线绕944圈。绕组Ⅱ用直径0.14毫米的漆包线绕2980圈。绕组Ⅲ用直径1毫米的漆包线绕30圈。也可采用成品电源变压器,要求功率不小于70瓦,并能保证供给电子管6П3С屏极470伏的电压。
4.电容器C\(_{4}\)、C5
电容器C\(_{4}\)、C5上的电压,可达1000伏,要求选用工作电压1500伏的产品。
5.晶体
选用钛酸钡或其它一般压电晶体,要求谐振频率在0.5~4.5兆赫之间,否则必须改绕线圈L\(_{1}\)(低于0.5兆赫时增加圈数,高于4.5兆赫时减少圈数)。
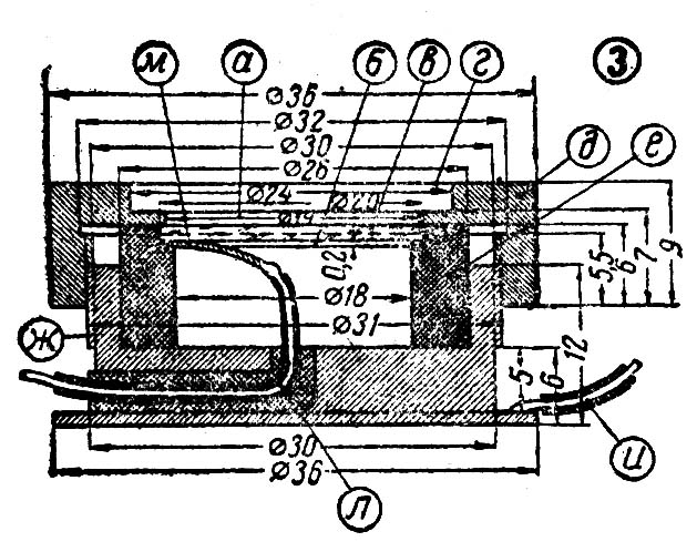
6.晶体夹持器
用青铜按图3尺寸和样式制作。夹持器分两部分。一部分是底座,另一部分是盖子,图3中用不同倾斜方问的影线区分这两部分。夹持器的外形见图6。

在底座上用电钻开一个Г形引线孔,导线Л即从这个孔中引出。另一根导线u直接焊在底座上。底座内壁垫一圈橡皮圈e,作防震和绝缘用,可利用一般擦铅笔字的橡皮裁制。橡发圈上放一块薄圆铜片б,厚0.2毫米,作为接触片。在接触片上即放置晶体б。接触片另一面焊一片焊片м,以便连接导线Л。底座上部外圈,刻有螺纹,以便旋紧盖子这时盖子内圈下部也应刻有相应的螺纹。
导线Л和u长约一米,末端装上插头,以便插入振荡器的输出闸口。注意Л和u不要相互扭绞。
晶体必须用肥皂冲洗干净,烘干后再进行装置。接触片б与晶体接触的一面也必须清洁干净。然后在片周围滴几滴变压器油,装上晶体,旋紧盖子。
7.透镜式容器
透镜式容器由圆筒e和超声波透镜б组成(见图4)。圆筒用2毫米厚的有机玻璃板制作。先作一个直径19毫米的木模,然后把有机玻璃板在火焰上加热至软化,卷在木模上。接合处用醋精粘合,并用线扎起来,约等二小时,即可风干。这时用砂纸打光圆筒的端部,解开扎线。

超声波透镜的制作比较复杂,首先要用轴承中的滚珠(直径18~22毫米)作一个模具。把滚珠烧到赤热状态,然后自然冷却。再在这个滚珠上,钻一个直径6毫米的孔,并在孔壁攻上螺丝纹。取一根直径与这个孔的直径相同的铁心柱,一端攻上螺纹,旋入滚珠孔内,见图5。制透镜时,取一块厚10~12毫米的有机玻璃板,放在钻床上,用上述模具代替钻头。开动钻床,使保持中等转速,滚珠即在有机玻璃板上钻出球形凹穴。当滚珠钻入有机玻璃板的深度等于滚珠半径时,即将钻床电源切断,但仍保持滚珠对有机玻璃板的压力,并用水进行冷却。冷却后即可取下有机玻璃板,以球形凹穴为中心,用手锯截成边长为36毫米的正方形板。用细砂纸磨平凸出部分,并且使方形板底面至球凹穴最低点的长度(见图4б)为0.1毫米。以后,再切去方形板的四角,做成圆形(直径36毫米),注意圆形板的圆心要与球形凹穴中心对准。在圆形板的底面,还要做出一个高3毫米、直径23.8毫米的凸缘,见图4,以便插入晶体夹持器。

装置时,在圆筒端部涂上醋精或二氮乙烷,粘在透镜板上,要求圆筒中心对准透镜中心。粘好风干后,在透镜板上钻三个螺丝孔,以便安装固定螺丝a、g(见图4)。由于这种螺丝较细,要特制一把起子,可以用直径为1.5~2毫米的一般导线,截取10~12厘米长,装上手柄制成。
装置好的超声波透镜和晶体夹持器,见图6。

调整
振荡器装好后,要仔细检查一遍电路,如果没有错误,接上电源,调整C\(_{2}\),求得使晶体谐振的频率。调整时,先不套上透镜容器,而在晶体夹持器上部a~ι满变压器油或石油,如果得到晶体谐振频率,这部分的液体会显著凸起。
实验
1、超声波喷泉
装上透镜容器,注意容器底面与晶体片之间不能聚集空气泡。然后在透镜圆筒内注入一般饮用水。接通电源,经过一分钟后,就会出现喷泉。调整电容器C\(_{2}\),可改变喷泉的高度。如果调好电容器C2和透镜容器的固定螺钉,可得到最大高度约30~40厘米。
在出现喷泉的同时,伴随水雾,这是水空化的结果。喷泉射出时,还会产生吱吱声。如果用变压器油代替水,喷泉的高度会显著增加。容器中液体高度降到20毫米以后,喷泉即停止。为了使喷泉继续不断,必须用一个玻璃漏斗式容器,将喷出的液体回收到圆筒内。
2.超声波杀伤
容器中的液体在超声波作用下,会形成微小的水泡(空化)。在形成水泡的地方,压力大大升高。这种现象导致液体中物质或生物机体微粒的破坏。如果在透镜容器中放入水和小鱼或水蚤,经过1~2分钟超声波处理后,它们都会死亡。用投影的方法(见图7),可以清楚地观察这个过程。

3.超声波清洗零件
在透镜式容器中注水,放入涂有润滑油的小件金属零件(如钟表齿轮、小金属块等等),则喷泉会显著降低,甚至中断。但零件上的油污都逐渐清除了。可以看出,用超声波清洗零件,要求采用功率较大的振荡器。在这个实验中,清洗时间不可能太快,而且只能清洗少数零件。
4.油水混合
在透镜式容器内先装上水,然后放一些变压器油。为了不让液体飞溅出来,容器应盖上玻璃盖子。接通电源后,开始时在容器内形成喷泉,过1~2分钟后,即形成稳定的乳状油水混合液。
5.观察超声波传播特性
用透明的材料作一个水槽,底面要求光滑,侧板高度不小于5~6厘米,面积尽可能大一些。水槽放在一个中空的台子上,下面用汽车头灯照射,投影在天花板上,可以演示超声波的传播过程(见图8)。如果没有汽车头灯,也可用一般的灯泡代替。晶体夹持器放在槽内,全部浸入水中,先垂直放,接通电源后将夹持器倾斜,使天花板上超声波射线能清楚地看到。演示时,预先把夹持器导线Л和u固定起来,或把夹持器固定放在一个支持器上,便于转动夹持器,改变超声波射线入射角。

如果在超声波射线行进过程中放置障碍物,还可以观察超声波射线反射或折射特性。(郑午译) (〔苏联〕B·克拉斯纽克)