一、电视广播为什么要用超短波?
在传送语言、音乐的普通无线电广播中,声音信号的频率大约是从几十赫到几千赫,所以每个广播电台只要占据10千赫的频带宽度就够了。因此,在从535~1605千赫的“中波段”中,虽然这一波段的宽度只有约1兆赫,但是却可以容纳一百多个电台同时广播,而不互相干扰。但是电视广播用中波段就不行了。因为电视广播中除了音频信号(伴音)以外,还有图象信号,而后者的频率范围很宽,从几十赫到几兆赫。并且,为了避免电视信号失真,载运电视信号的载波的频率,要求为图象信号的7~10倍,因此高达几十兆赫。这样高的频率早已超过了中波段的频率范围,即使是高到十几兆赫的短波段也不行,只有应用超短波波段(30兆赫~30000兆赫),才能满足要求。这就是电视广播必须用超短波传送的主要原因。
二、超短波是怎样传播的?
带有电视图象和伴音信号的高频电流由发射机送到天线上以后,就变成带有这些信号的超短波,向外发射出去。
一般认为超短波不能由电离层反射回来,而只能沿直线方向传到直接可见的地方。
比较详细的分析,从电视天线发出的超短波有两条传播途径:一条是由发射天线按直线方向传到电视接收天线(图1中射线1),这称为直射波;除此以外,还有一条是经过地面反射后传到接收点(图中射线2),称为反射波。到达接收点的反射波,实际上是经过许多点反射的许多反射波的总和,例如在城市中,就可能有房屋屋顶和各式各样的建筑物等的反射,但为了看起来清楚起见,图中仅画了一根线来代表。
因此在接收天线上收到的是这两种电波的总和。由于反射波所走途径可能不同,结果在接收点得到的总场强可能增强,也可能因反射波起抵消作用而使总场强削弱,而一般情况下都是起抵消作用,所以总不希望有反射波。理论和实践证明,提高天线的高度和采用尽可能短些的波长,可以提高接收点的场强和使电视信号传得更远。例如苏联新建的电视台发射天线高出地面五百多米。此外,加大发射机的功率,也将减小反射波的有害影响,从而提高接收信号场强。
有时,反射波还影响图象质量,使图象出现重迭的边影。

在图1上我们还可以看到,在实线射线旁边还画有虚线。这是超短波在大气层中传播时,由于大气层的不均匀性而引起折射的结果。因此超短波在传播时,并不按直线轨道传播,而是沿着略带弯曲的虚线传播。
有时,在离开电视台天线的距离超过了直接可见距离(大约几十公里)几倍的地方,也会收到电视信号。这是由于大气层气体随气候条件变化而产生的特殊变化,使超短波折射程度增大到足以使它回到地面,经过地面反射后又射向大气层,然后又折射到地面,如此反复几次,便传到了远地。这种现象称为超折射,见图2所示。也有时,超短波不是向地面而是向电离层折射,称为负折射,信号将传不到接收点。这些情况都不能看成是正常情况。
电视超短波在城市内传播的情况是很复杂的。它能够穿透砖墙、混凝土墙和木料,但遇到有钢筋或其它金属物的屋顶、墙壁等就要反射。反射时要损失掉能量,而且可能影响图象质量,所以最好没有反射情况。
此外,超短波在传播途径上遇到障碍物时,有可能绕过它继续传到被障碍物挡住见不到发射天线的所谓“阴影区”,不过信号要弱得多。
近年来,超短波传播理论有了新的发展,已不限于只能在直视距离内传播,有时离开电视台几百公里甚至几千公里的地区,偶然也收到了超短波电视信号。这是由所谓“散射”现象造成的。在离开地面十几公里的对流层和离地面几十公里直到几百公里的电离层内,由于气象条件的变化,常常出现一些湍动的气流,形成一些湍流气团,超短波遇到这种湍流团,会造成不同方向的折射,散射到各个方向,由于电离层很高,所以散射出的电磁波能回到地球上很远的地点。散射传播方式目前已经用来进行通信,但用于电视广播的远距离传送,尚待进一步研究。
根据以上分析,在一般情况下,电视信号的传播距离受到地球表面弯曲形状的限制,可靠的传播距离只有几十公里。要扩大电视传播距离,要求采用特殊的方法。例如有的采用无线电接力线路传送,有的借助飞机在高空飞行,来转播电视信号。也有人提出设法利用月球朝向地球的表面作为反射器进行电视转播。虽然月球距地球很远,但在它们之间并没有对超短波传播的特殊阻碍,这个方法在原理上是可以实现的。可是实际上却存在着很大的困难,因为发射天线和接收天线必须随着月球在空中运行而移动,另外还需功率极大的发射机。由于人造地球卫星发射成功,看来利用人造地球卫星来进行电视广播,颇有前途。
三、电视发射天线与接收天线
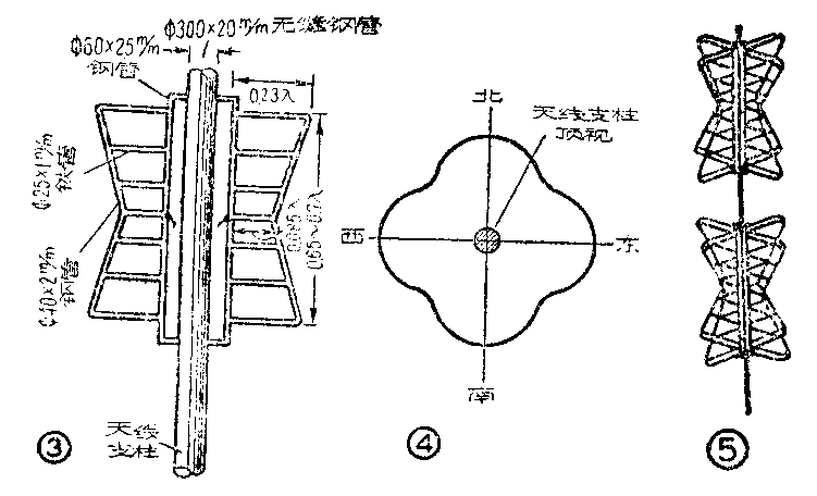
电视发射天线一般多采用“蝶翼形”天线。这是由两组象蝴蝶翅膀一样的天线栅组成(为了看得清楚一些,图中只画了一组),它们互相垂直地固定在直立的天线支柱上。各个组成部分的材料及名称都注在图上。从图上可以看出,天线栅上横列许多根水平的横条,并且支柱两边的每一对横条左右对称,通常称它们为“对称振子”,里面通了高频电流,就有电磁波辐射出去。

这种天线在水平面内的辐射方向图如图4所示,这种近似圆圈的图形表示天线沿水平面向四面八方发射出去的电磁波是近似相等的。这样,居住在电视台周围任一方向上的用户都能收到电视广播。同时,这种构造的天线没有电磁波向天线顶上空发射,这样也是为了避免无谓地浪费电磁能量。有时为了提高方向性,扩大传播距离,常常用两个蝶翼形天线装成两层,如图5所示。
下面再谈谈几种常用的电视接收天线。一种是简单的半波天线(图6甲)。装置时,它的振子(两臂)应水平放置。从这种天线的方向图(图6乙)可以看出,只有垂直于天线振子前后的两个方向(O°,18O°)接收信号的能力最强,其它方向接收能力都弱。

效果比较好的三元定向天线(图7甲)具有方向性强,抗干扰性能好的优点,它也常常用来接收电视广播。这种天线由三部分组成:即一个引向振子,一个折合振子和一个反射振子。把引向振子放在前面对着电视台时,电磁波先到达引向振子,然后到达其它两个振子,先后在三个振子上产生感应电压。由于超短波的波长很短,三个振子离开的距离虽然很小,它们上面产生电压的相位却差别很大,加上几个振子之间也有相互感应的影响,因此几个振子间距离如果安排得恰当,当电磁波从引向振子这边传来时,有可能使折合振子上得到很高的信号电压,而从反射振子那边传来时电压很低。结果就得到图7乙所示的方向图。在0°方向接收能力最强,其它方向时都弱,电波从90°和270°两个方向来,将收不到。这样,不需要的干扰信号就不容易进入接收机了。
假如接收机离开电视台很近,就不一定用室外天线,也能得到良好效果。室内天线采用套管式的比较方便,它由两根可以自由伸缩的金属管,装在一个绝缘座上,每根振子由四节套管组成,改变振子的长度,就可以接收到不同的电视台节目,因为电视台各频道所用载频不同,需要用长度不同的天线来接收。市场上供应的这种天线,能适合接收国内所有电视台的广播。由于它的位置、方向和两振子之间的夹角可以随意调节,所以很容易达到使图象与声音都最佳的目的。(慕振兴)