扩音机的末级大多数都是采用推挽电路。它的优点很多,主要的有下列几方面:由于推挽作用使输出的谐波失真减小;能够避免从电源部分所引起的交流声,使电源滤波装置不需很复杂;电子管可工作于甲乙类或乙类工作状态,屏极效率比较高,在一定的消耗下能够获得较大的输出功率;而且这种电路中两输出管的屏流分别以不同的方向流经输出变压器初级的两半线圈,可以抵消铁心的直流磁化作用,提高输出变压器的效率,从而节省了材料;此外,当一管屏流增加时,另一管屏流减少,所以没有音频交流分量渡过高压电源,也就不致于通过电源电路交连到前面各级而引起干扰。因此推挽电路比之单管放大电路有很多好处。
这个电路用一个6NI(6HП)的两个三极组作两级电压放大,另一个6N1作倒相,分别供给两个未级管以相位相反的推动电压,末级是用两个6P1(6П1П)来作推挽放大;电源部分用5Z4P(5Ц4C)作全波整流,供给扩音机的直流高压。
高、低音调是分开控制的。R\(_{1}\)是高音控制器,R7是低音控制器,这两个音调控制网络的原理,和上一期封底电路所用的相同,只是在这里它们被分别放置在第一级电压放大管的前后,因为使用这种控制网络时,对放大量有较大的衰减,高达30~4O分贝。如两个网络放在两级放大电路之间,则为了保持第二级电压放大有足够的输出电压,第一级放大就需要有比较高的增益,这样就增加了产生失真的机会。将这两个控制网络分别放在两个放大级里,在频率特性均匀的情况下,第一级电子管的输出不需很大,就可以保证第二级电子管栅极得到额定的激励电压,这就减小了由于提高第一级增益而致产生失真的可能性。
倒相级电子管的第一个三极组V\(_{2}\)(图中上部)的作用和普通的放大管工作一样,被它放大后的电压加在末级管V3的栅极上。这个电压在R\(_{17}\)上的一部分电压降,回加到倒相管的另一个三极组V'2(图中下部)的栅极,被它放大后的电压送给另一个末级管V\(_{4}\)的栅极,但是电子管的屏极输出电压和栅级输入的电压相位是相反的,所以V'2屏极电压相位,即V\(_{4}\)栅极输入电压的相位,与R17上电压的相位,即V\(_{3}\)栅极上面的输入电压相位也相反,这两个功率放大管就分别将输入的两个相位相反的音频电压各自进行放大,在输出变压器初级两半线圈上便得到相位相反的两个放大了的电压;它们相加起来,经过变压器加到扬声器上。R17的阻值要正确选择,使得倒相管两组的输出电压能够相等。倒相级的作用主要是获得反相的输出电压,放大倍数并不重要,所以一般都是不高的。
用负回输来减小失真改善音质,是扩音机中最常用的方法,这里,各级放大管的阴极上都有电流回输,并且还有一个在输出变压器次级加到第二级放大管的深度由压负回输,使扩音机得到更好的频率特性和稳定的工作伏态。
V'\(_{1}\)的屏极电路和末级输出变压器的初级线圈都分别装有简单的频率校正器,进一步改善扩音机的频率响应特性,使它对于高低音的放大量较为均匀。
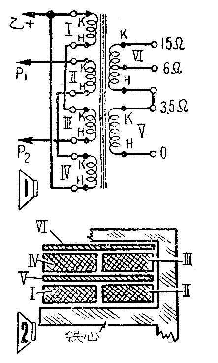
优质扩音机除了借电路的结构来提高声音的重放质量之外,输出变压器也是一个很关重要的元件,它的初级线圈必须有足够的电感,使低音频不致衰减很大;初、次级线圈之间的漏感要小,以免降低了高音频的输出,所以要采取较为复杂的绕制工艺,这里的输出变压器,铁心用厚度为0.35毫米的EI一26型优质硅钢片(例如Э4AA硅钢)迭厚25毫米,初级线圈Ⅰ、Ⅱ、Ⅲ、Ⅳ用0.12号线分绕成1188圈的线圈四个;次级线圈V用1.0号线绕90圈,引出3.5欧抽头,这一段夹在初级线圈之中;线圈VI绕在初级线圈之外,用0.7号线绕26圈为3.5~6欧的一段,接着用0.5号线绕69圈为6~15欧的一段。使用时次级线圈Ⅴ和Ⅵ是串连起来的。这个输出变压器的分段和接线图见图1。绕组在铁心内的位置见图2,各个线圈用都按同一方向绕制,层间绝缘和档间绝缘和一般的电源变压器相同。各段线圈的线端最好先在焊片上固定起来,然后在外面按图1连接。

电源变压器的绕制数据是:用厚度为0.5~0.35毫米的EI—30型硅钢片迭厚45毫米;初级线圈用0.35号线分绕473圈的线圈两个,1—3、2—4并连时接110伏;2—3串连时,1、4接220伏;次级高压线圈 300×2伏,120毫安,用0.224号线绕2580圈,在1290圈处抽中心头;次级整流灯丝线圈5伏2安,用1.0号线绕22圈;次级灯丝线圈6.3伏2.5安,用1.12号线绕27圈。初级线圈绕好后,用同号线在外面再绕一层作为隔离层,一端空着不接,另一端夹在铁心内通地,它也应加以档间绝缘。
装置扩音机的要点,在上一期的封底电路说明里已简单谈过,要注意隔离和布线,尽可能避免交流声发生的机会,输出变压器要远离电源变压器,后者的铁心不要贴着底盘,要用螺帽或厚垫圈将它垫高,使铁心和底盘之间保持着几个毫米的空隙,防止交流磁通沿铁底盘散布出来,给放大部分感染交流声。
选用口径较大的扬声器可以得到较好的低音输出,这里的输出变压器次级备有几个抽头,采用上海广播器材厂300—1型(口径300毫米,音圈阻抗 15欧)或华北厂YD 6—3型(口径255毫米,音圈阻抗3.5欧)的都可以。前者的低音重放较好,后者是以纸盘扬声器,高音较佳。

为了得到优质放音,扬声器应装在助音箱里使用,图3介绍了一种流行的倒相式助音箱的型式,尺寸见附表所列。这种助音箱板厚约12~20毫米,后面是密闭的,制作时接缝处用动物胶如牛骨胶等胶合,再用木螺丝上紧,以免产生震动,内部的两旁及顶上各贴上一块比木板面积略小的吸音材料(如厚毛毡之类)。面板上的方孔是作声音倒相之用的,使从箱壁反射后经方洞口射出来的低音波和前面直接传出的低音波能够相位相同,互相迭加,从而增强低音。长方孔面积表上已有注明,最好做得能调节其大小。孔的长宽可以自由选择,只要面积符合要求。面板前面蒙上一层硬质疏孔的蒙布,能够防尘和增加美观。

这个扩音机装置完毕校验时,如果另件使用正确,倒相前面的几级问题是不大的,校验工作主要是将倒相电压和推挽级的工作状态调整正确。开始时先测量一下各电子管的灯丝电压和整流输出电压是不是符合额定值,6P1的屏极电压不应超过250伏。如果这小电压过高,可以加大滤波电阻的阻值来改正。
推挽级的调整,先用万用表在这一级的阴极电阻R\(_{19}\)。上测量它的直流电压作为参考数据,它约和6P1的栅偏压相等(-12.5伏),如果相差过大,应将R19的阻值稍为更动(这个电阻如改用300欧滑环式的线绕电阻,调整时会更为方便)。其次,将万用电表100毫安档分别串入两个末级管的屏极电路测量它们的屏流(未测量的一个屏级电路仍应接好,不能断开)。推挽管屏流的差数一般的不超过两管屏流的平均值5%就可以了,如果管子的特性原来相差比较大是没法调得好的,这在装置前先要注意选择。
末级调好了再来调准倒相电压,它们的准确与否,直接影响到扩音机音质的好坏。调整时,将两个推挽管的屏极并接在一起,R\(_{17}\)临时换上一个50K的电位器(图4)。在扩音机的输入端输入一个信号,(也可用手指按在第一个倒相管的栅极——图上的第2脚以得到50赫的交流信号),调动50K电位器,使刚才在扬声器中听到的交流声消灭(或最小),这时,V3和V\(_{4}\)栅级上的信号电压正好相等,在屏极电路里因相位相反而互相抵消。这时电位器上端和滑臂之间的阻值就是R17的最佳值,可用万用表量出后换上阻值相同的固定电阻。最后,各处更动过的接线仍接回原来的地方。

负回输电压的大小,是由R\(_{22}\)调整的,它的阻值增大,回输就小,能使音量增大,但是失真的程度也要增加;在作欣赏唱片的用途时,R22为10K的阻值是适合的,这时扩音机的不失真输出功率约有6~10瓦左右。开始试验时如果发生强烈的叫啸声,那是回输电压的相位错接了成为正回输,将两个推挽管的屏极到输出变压器的接线对调一下就可以改正过来。
扩音机工作时必须加上负载(扬声器),否则在空载的情况下,输出功率将会全部加在输出变压器上而将它烧坏。也不要像试验收音机那样,用手指按前级放大管的栅极作试验,在音量较大时,这样很容易使扬声器在强烈的振动下损坏。
音量控制是用两个音调控制器兼任的,如果在使用上觉得不方便,需要有一个总的音量控制时,可将R12换用阻值相同的电位器,改成图5的接法便行。

这个扩音机可以使用一般售品的晶体式或磁电式的电唱头。电路里的电子管改换GT式管子时,6N1可用6H8C(6SN7GT)代换;6P1可用6П6C(6V6GT)代换;5Z4P可用5Y3 GT或80代换。(冯报本)