业余爱好者自制晶体管收音机,第一步可在原有的锗二极管检波器或普通矿石机的基础上加一级低频放大,只要有一个小功率的低频晶体管,例如国产的П6、П101,国外的П3、П13、OC71、OC72或其他同类型管,就可以用来装成一个晶体管收音机。大家知道:在晶体管共发射极电路中,如果在基极和发射极之间加一个欲放大的信号电压,使基极电流发生改变,那么在集电极与发射极之间的电路中,就会产生一个比基极电流变化大得多的集电极电流变化。此外,由于晶体管共发射极电路的输入阻抗低,输出阻抗高,因此输入到晶体管的功率远比输出功率小,换句话说,晶体管放大器产生了功率增益(图1)。把这样一个晶体管放大器接到矿石机后面,它会把声音放大好几倍,收音机的灵敏度也会提高,如果加上良好的天、地线,在距电台比较近的地区,还可以推到扬声器发声,音量足供一间普通房间十余人收听。锗二极管检波器加低放的电路很多,下面介绍三种基本的典型电路:

一、用输入变压器的单管机

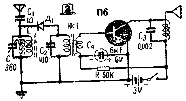
电路如图2。它的简单原理如下:天线上收集下来的信号,通过C\(_{1}\)接到由L、C组成的调谐回路上。C可用市售的容量为360微微法的单连可变电容器。L可在长度为140毫米、直径为10毫米的磁性瓷棒上绕56圈左右,导线最好用多股纱包线,以提高其Q值。调谐回路输出的高频信号用锗二极管Д1检波后,经过输入变压器耦合到下一级去放大。输入变压器用10:1的降压变压器,可用华北无线电器材厂出品的专门给晶体管收音机用小型低频变压器改绕。初级用42号漆包线绕3000圈(有许多成品的初级都是3000圈左右,因此可不必重绕);次级用36号漆包线绕300圈。如果没有这样的铁心,也可以用普通电子管收音机用的输出变压器改绕,圈数和线号同前。它的次级一端接到低放管П6的基极上,另一端经过一个6微法、6伏耐压的小型电解电容器C4接到晶体管的发射极,使次级感应所得的电压,能够顺利地通过这个容量很大的电容器加到基极与发射极之间。另外还通过一个50千欧左右的电阻R接到电池的负端,给低放管加上一定的偏压,这个电阻的阻值,随着晶体管的不同,需要调整决定,最好根据实验在50千欧到100千欧之间挑选一个。
晶体管的集电极上直接接上一个直流电阻为1000欧的舌簧式扬声器。由于舌簧式扬声器的阻抗较高,不再需要别的匹配变压器就能与低放管输出阻抗匹配。如果配用一般电子管收音机上用的恒磁电动扬声器,音圈阻抗多数为3.5欧,这时就必须加一个匹配用的输出变压器。这个变压器也和上面所述的输入变压器一样,可用晶体管收音机专用的铁心,或用普通电子管收音机用的输出变压器铁心(铁心截面为15×15毫米)代替,初级用40号线绕1300圈,次级用30号线绕85圈。
这里为什么要用一个10:1的输入变压器呢?因为晶体管的输入阻抗很低,如果不用输入变压器,而将二极管与三极管直接连接起来,会使调谐回路的Q值大大下降,造成选择性不良,串台现象十分严重。低放晶体管的输入阻抗约为1000欧,通过10:1的输入变压器使它变高后,在变压器初级上等于加有一个100千欧的负载,这样对调谐回路的影响就不大,保证全机选择性良好。另外在输入变压器的初级上还需要接一个100微微法的电容器C\(_{2}\),它的作用是把锗二极管检波输出中的高频成分旁路,不再传到低放晶体管去。
在这个电路中,锗二极管的接法并没有严格要求,正接或反接都可以。
天线上串接一个10微微法的电容器C\(_{1}\),其目的是为了使接上天线和地线以后选择性不致降低过多,同时保证光用一根天线时有足够高的电压传输比。这电容器的容量大,电压传输比就高,声音大,但在离电台较近地区,就会串台;容量小,串台现象减轻,但电台声音会小一些。制作时可根据具体收听条件和天线的长短,在10微微法左右适当选择。
电容C\(_{4}\)用容量略大、耐压较高的也无妨,但漏电不能太大,其极性为负极接输入变压器,正极接发射极,如果接反了,就会使电容遭到击穿而失效。
上面所说的是指用PNP型晶体管(П6即属这一种)。如果改用 NPN型管(例如П101),那么无论电池和电解电容器的极性都要倒过来。
这单管机用电很省,一般使用时消耗电流为2毫安左右,若用两节手电池,至少可用几个月。
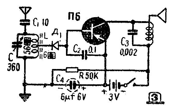
二、调谐回路抽头式单管机
电路如图3。这电路不用输入变压器,因此制作起来比较容易。由于前一种电路中输入变压器要做得很好是不容易的,因此或多或少牺牲了一些音质;而这一种电路由于没有这个元件,音质比前一种来得优美。

天线的接法与前面一种相同。只是锗二极管是接到调谐回路的抽头点上,换句话说,只取出调谐回路上的一部分电压拿去检波。从这一点上说,不如前面一种电路效力高。线圈的绕法和前一种相同,抽头点抽在离地线端约为总圈数1/10的地方,即5圈或6圈数处。线圈的地线端和发射级之间也接一个小型电解电容器C\(_{4}\),它的作用与前相同,是让检波所得的音频电压无损耗地加到基极和发射极之间。从电池的负端接一50千欧的电阻R,通过部分调谐线圈和锗二极管,给低放晶体管加上一定的偏压。
和前一种电路一样,为了不让检波输出的高频成分传到低放晶体管中去;在基极和发射极之间接有一个0.1微法的电容器C\(_{2}\),由于这电路中不用输入变压器,低放晶体管的输入阻抗又低,因此这个旁路电容器的电容量必须比前一种电路大得多才行。
如果低放晶体管不是采用PNP型的,而是用NPN型的,如П101,那么不仅电池和电解电容器的极性要倒过来,而且二极管的极性也要倒过来,不能随便乱接,否则灵敏度和音量都要受到损失,这时电路按图4改接。

三、加有次级线圈的单管机
电路如图5。这电路的特点是线圈不抽头而另绕一个次级圈。初级为56圈,次级为5圈,用同一种线绕,两线圈紧靠在一起。锗二极管、电池、电解电容器的接法与第二种同。这一种单管机的选择性比较好一些,适合于强力电台林立的地区采用。

在制作这些单管晶体管收音机的时候,首先要判明晶体管的电极,然后根据零件的大小安装在一块层压胶板上(图6),或直接固定在选定的机箱内。焊接晶体管的时候要特别留心,不要焊接时间过长,否则会损坏晶体管,另外,磁性天线不宜靠近金属物,更不能装在金属屏蔽的箱内,否则磁性天线就不能发挥效用。线路装成以后,经过检查无误后即可接上电池。

如果手边有一个能量10毫安左右的直流电流表,把它串接在低放晶体管集电极电路中(图7),并将基极电阻R先用一个电位器R'代替,调R',把电流调到2毫安左右,同时听声音是否够大,电流大一些,声音会大一些,但电池用得就要费一些,可根据需要决定,一般不宜超过5毫安。调好之后,拆下R',量出它的滑臂和另一端之间的电阻值,再选用相同阻值的固定电阻R接入代替R'。(丁启鸿)
