最近我们试制了一种效果良好的矿石收音机,现在介绍给大家参考。本机的特点是零件少、装置简单,选择性良好,也具有一定的灵敏度。它不但能收到本地的全部中波电台,还可以接收到2475千赫等频率的电台;而且在任何时间都没有发生过夹音。在上海用高8米、长18米的天线,白天可以收到本市七个电台外,还可以收到两个中央台节目;在晚上还能收到福建、浙江等地电台的广播。白天用耳机听,音量大到震耳的程度,晚上用一只8时的舌簧扬声器(1000欧以上的),在一间不大的房间里听起来还很清楚。

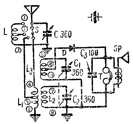
电路见图1。当开关S转到①或②位置上时,信号经过调谐回路LC的选择,选出需要的电台信号,通过电感交连,送到L\(_{3}\)C1回路中,然后经矿石D检波,由耳机或扬声器放出声音。这相当于一个双调谐回路的矿石收音机电路。这时灵敏度比本电路转换到下述另一种状态时为高。
当开关S转到和④或⑤相接的接点时,高频信号先经过L\(_{1}\)C回路的调谐,选出需要的电台信号,交连到L2C\(_{2}\)回路,再交连到L3C\(_{1}\)回路,然后再经矿石检波后,由耳机或扬声器放出声音。这相当于接成三个调谐回路的矿石收音机电路。这时因为经过了几个回路的选择,分隔电台的能力大为提高,但由于能量损失很多,灵敏度将有所降低。
总的说来,采用本机的电路,目的在于提高选择性,所以适合在电台较多的地方采用。
本机中,C\(_{1}\)、C2是一般的0.00036微法双连可变电容器。C用0.00036微法的单连可变电容现。C\(_{3}\)用0.0001微纸固定电容器。耳机用1000~4000欧的都行。L1、L\(_{2}\)、L3绕制数据为:L\(_{1}\)用27~30号漆包线在长2厘米、直径4厘米的纸管上绕30圈,在第10圈处抽头。L2和L\(_{3}\)都用27~30号漆包线,在长10厘米、直径3.8厘米的纸管上密绕80圈。L3在第25圈处抽头。L用27~30号漆包线在长6厘米、直径4厘米的纸管上密绕80圈,在第40圈处抽头。

安装时,四个线圈要按照图2的方式排列。L\(_{2}\)与L3之间距离不得超过11厘米。把零件全部装好后,再仔细检查一遍,如果没有接错,就可以开始试听调整。
首先将天线接在④上,把地线接在⑥上。然后转动C及C\(_{1}\)、C2,如果耳机里没有声音,可调整一下矿石,找到灵敏点。听到声音后,再把天线转接到①、②等接点各试一次,这样便能找到最大灵敏点和最好的选择性。(李传钟)