一般三用电表加上这个附加器后可以准确地测量高阻抗电压和高频交流电压,对于装置、调整和修理收音机及其他电子仪器比较方便,同时并不影响三用表的其他功用。
一、结构和使用
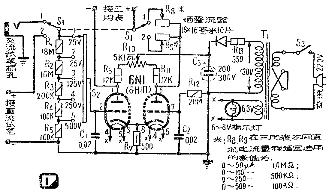
附加器的线路见图1。关于它的工作原理请参看本刊今年第一期“电子管电压表”一文,这里不再叙述。为了保持读数的直线性(即电子管6N1的工作范围应选用在特性曲线的直线部分),电压的基本量程被限制为0~2.5伏,故需另加分档分压器,将电压量移扩大到:0~25伏;0~125伏;0~250伏;0~500伏(如果S\(_{2}\)的位置更多,还可以再增加量程数)。应用特制的交流试笔(图2甲)及底盘夹子来测量交流电压。被测电压的频率可达10兆赫以上。交流试笔的外套可用废自来水笔帽或硬质塑料管制作。由于晶体二极管Л1Л的容许最大反向电压只有75伏,所以附加器本身的交流电压量程被限制为0~2.5伏及0~25伏。如果要测量更高的交流电压,在交流试笔前面应附加图2乙所示的电阻分压器,或采用电容式分压器(参看本刊今年第1期“电子管电压表”一文)。


在测量交流电压时,将交流试笔的香蕉插头插入电阻分压器的插孔,另一端的插塞插入交流试笔插孔,接上三用表,再将两个鳄鱼夹子都夹到机器底盘上,便可用电阻分压器的香蕉插头接触要测电压的地方进行测量。(如果被测电压在25伏以下,可不接入电阻分压器,此时可直接用交流试笔去测量)。当测量直流电压时,可直接用试笔接在十、一端上去测量就行了。
二、装置和调整
线路中的R\(_{1}\)、R2到R\(_{5}\)应选用阻值准确、稳定的炭膜电阻。交流试笔前面的分压电阻R14和R\(_{15}\)最好用高频电阻(也可以用1/4瓦的炭膜电阻)。 6N1的灯丝电路不得接地以免烧毁。
底盘上的主要零件布置见图3。

电源变压器T\(_{1}\)的绕制数据:铁心叠片截面积5平方厘米;初级用37号(直径0.17毫米)漆包线绕1000+1000匝;次级高压线卷用40号(直径0.12毫米)漆包线绕1200匝;灯丝线卷用22号(直径0.71毫米)漆包线绕58匝。
校准和每次使用这个附加器之前,必须先接好电路,打开电源预热15~20分钟。将电表工作状态转换开关拨到直流电流最灵敏的一档(一般为0~500微安),调节R\(_{1}\)0,使指针指到度盘上的零位。然后校准刻度,最简单的方法是用干电池或电铃变压器等接出2.5伏的标准直流及交流电压,将此标准电压加在附加器的输入端, 用螺丝起子调R8(及R\(_{9}\)),使三用表的指针指满刻度(注意,为了避免损坏电表,R8及R\(_{9}\)应从最大值逐渐减小其阻值,千万不能让它们短路)。这样调节后,就可以直接利用电表上的原有刻度,读数误差不会太大。如果要求更高的精确度,可以在三用电表度盘上再加画一个直流和一个交流电压刻度,刻度的校准和画法,参看前面提到的“电子管电压表”一文。
调好R\(_{8}\)及R9后,在整个量程范围内读数已充分准确,一般不需要再加画刻度。(何理路编译)