本文介绍的一架超外差式收音机,它的变频和中放由电子管担任,其后的检波、低放工作则用晶体管担任。这样可以消除选用高频晶体管的困难,又可以取得一般晶体管收音机的一些主要优点。
一、电路简介
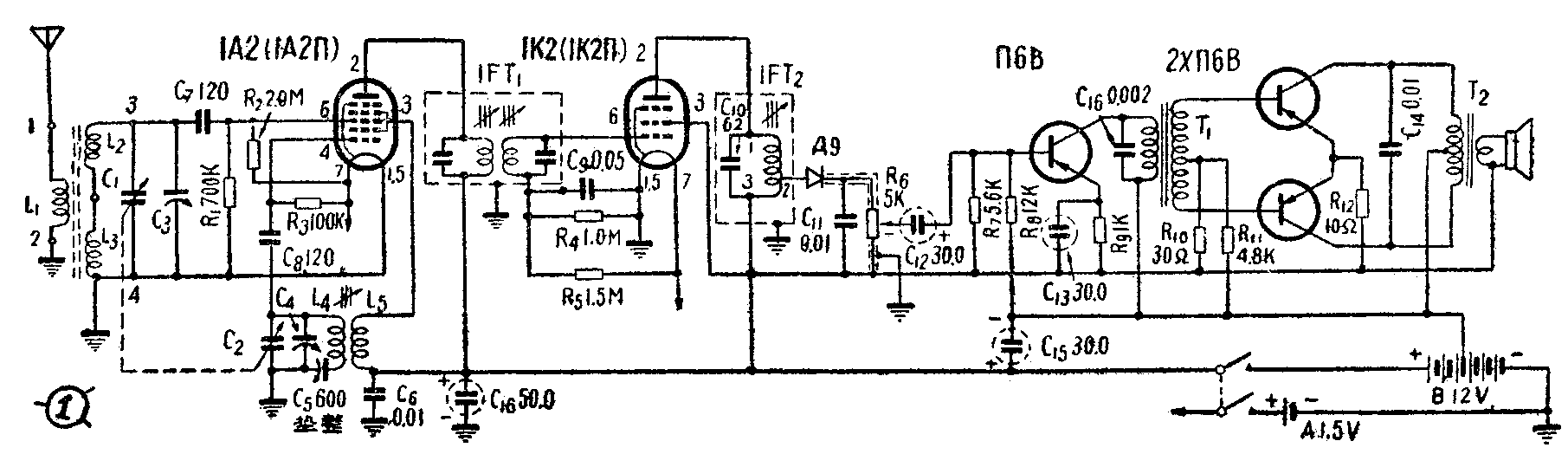
本机电路见图1。由于有电子管参与工作,就需要设一个电压足够高的乙电。考虑到收音机的体积和所用电子管的特性,决定用12伏。

本机变频工作由1A2(1A2П)担任。为了保证在12伏的低屏压下变频工作稳定可靠,将它的阴极、第一栅、第二栅组成的三极部分和阴极、第三栅、第四栅、第五栅、屏极组成的五极部分的栅偏压电阻R\(_{2}\)及R3,都接灯丝正极,使栅极略显正性,以提高其工作跨导。本机的变频增益约8分贝, 且实际上用晶体管也不过10分贝左右。
中频放大由1K2(1K2П)担任。为了得到较高的放大倍数, 同样可以采用改变栅偏压的办法,使其栅极略显正性,这样用提高跨导的办法来增加放大倍数,简单有效。本机的中放增益约23分贝,而用晶体管也不过25~30分贝。
检波用锗二极管担任。本机用的是Д9型的,用Д1型亦可。末前级低放由P-N-P型晶体三极管П6B担任。末级功率放大由两只П6B作乙类推挽放大。推挽放大器的优点很多,这里不一一列述。对晶体管来说乙类推挽放大器出甲类单臂放大器的效率高得多,这是晶体管电路的一个很大特点。一般甲类功率放大器的效率在40%左右,而推挽功率放大器的效率可高达90%。
二、零件和安装
为了提高收音机的灵敏度和选择性,采用了磁性天线。由于目的偏重于提高谐振回路的Q值,所以线圈是用21股(用旧中频变压器中的7股线三根合成)纱漆包线绕成,且输入调谐线圈分绕成两段L\(_{2}\)和L3,分别置于磁棒的两端,天地回路的线圈L\(_{1}\)放在磁棒的中部。线圈平绕在内径为11毫米的纸管上,使能在磁捧上移动,以便调整。磁棒用M4型直径10毫米,长170毫米的(图2)。

振荡线圈可用任何牌号的回授式(A式)成品线圈。不过成品线圈体积较大,如购买不方便。也何以参照图3自行绕制。线圈是绕在一段外径为10毫米的胶木管上(可截用一段坏钢笔笔杆)。线槽夹板用塑料片制成,并用万能胶和胶木管粘牢。在线槽内用7股的纱漆包线乱迭绕43圈(约32微亨)作为L\(_{5}\),裹上两层黄腊布或牛皮纸后,再用同号线乱迭绕81圈(约158微亨)作为L4。线圈管内的磁心用M\(_{1}\)1型Φ8×0.7×16的。为了固定磁心的位置,先在胶木管内壁涂一层石蜡,再将磁心旋入。

中频变压器用华北无线电器材厂出品ZPO3—1型的。为使中放级和检波级很好地匹配,输出级中频变压器IFT\(_{2}\)须经改装。将原变压器的两个固定电容器拆去,把两个线圈串联起来(注意两个线圈的方向一定要一致),另配一个62微微法的云母固定电容器与之并联。再在35圈处抽一头(图4)。这个抽头的位置不一定必须在35圈的地方,在制做时不妨多抽几个头,待调试时选定一个匹配最佳的作正式抽头。

末级功率放大器所用的输入和输出变压器均为成品。输入变压器的初级阻抗为10千欧,次级阻抗为4千欧。输出变压器的初级阻抗为200欧,次级阻抗为3.5欧,配用2 1/2时、3.5欧的永磁扬声器。如果自制,输入变压器T\(_{1}\)可用EI型33G合金片迭成的铁心,截面积为5平方毫米,初级用Ф0.05毫米漆包线绕1600圈,次级用Ф0.13毫米漆包线绕2×500圈。输出变压器T2铁心用EI型33G合金片,截面积为14平方毫米,初级用Ф0.27毫米漆包线绕2×245圈,次级用Ф0.35毫米漆包线绕93圈。
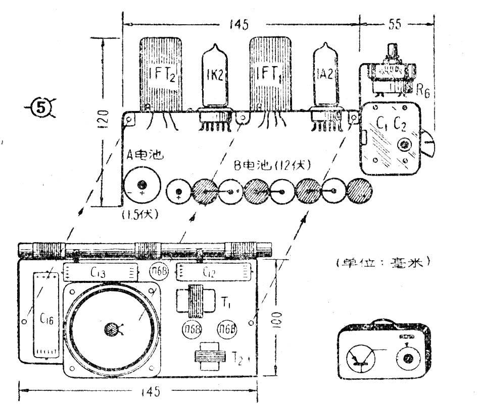
安装时应该对零件安排作周密的考虑,一方面要尽量缩小收音机体积,一方面要照顾电气的合理性。图5所示即为这个收音机主要零件的装配图,供大家参考。

C\(_{1}\)C2是普通.00036微法双连可变电容器。两个电子管和中频变压器装在面积为35×145毫米\(^{2}\)的铁板上,晶体管部分装在一块1×100×145毫米2绝缘胶木板上,装接好以后用三个螺丝钉连成一体。
甲电用Ф25×50二号电池一只。乙电用八节Ф15×50四号电池串联而成。连电池在内总体积为65×120×200毫米\(^{3}\)。
关于使用晶体管所应注意的一些事项,在1961年1月份本刊有详细说明,这里不再多述。
三、调试和使用
线路中所标各元件的数值,虽然都是经过计算确定的,但是实际所用的元件均有一定误差,尤其是半导体元件,即使几个属于同一型号的晶体管,它们之间的电气特性也都不完全一致。因此,为使收音机发挥其最大效能,必须对其中某些影响较大的元件加以调整。
经过仔细的检查,焊接上没有错误,接上天线,开启电源,旋转可变电容器便可以收到电台的播音。当然,这时可能声音很轻,很模糊。不过这说明安装基本正确,下面便可以进一步进行调整。

输出级所要调整的元件主要是基极偏流电阻R\(_{11}\)。用一个3千欧的固定电阻和一个5千欧的可变电阻串联代替R11(图6),用一个3千欧的固定电阻是为保护晶体管而设的,这样可以在可变电阻短路时不致将晶体管烧毁。转动可变电阻使扬声器发声最大而同时失真最小,然后换上一个等值固定电阻。这个电阻的阻值一般在5千欧左右。
低频放大级要调整的也是基极偏流电阻R\(_{8}\),方法同前,固定电阻用10千欧,可变电阻用200千欧。调整可变电阻的阻值,使输出大而失真小,再换以等值电阻,该电阻一般约10~50千欧。
检波级的调试工作是比较简单的。对检波器的要求是失真小,衰耗低。本机由于应有自动音量控制电路,故影响检波失真的主要是输入的功率,当输入功率足够大时(10微瓦左右),检波失真问题就可以不必多虑了。至于衰耗的大小主要取决于与前级的匹配情况。匹配得好,衰耗就小。因此,这一级的主要调试工作是在输出中频变压器中正确地选择一个抽头,使检波级的输入阻抗与中放级的输出阻抗得以匹配。
调整中放级时,先不要调输入级的中频变压器,而是细心地调输出级的中频变压器的两个磁心,使输出最大而干扰和杂声最轻。然后按一般的方法和步骤调整变频级,使谐振回路与振落回路的工作完全同步。这一步调好以后,再翻回头来仔细地调整中频变压器的输出和输入级。调试工作到此算初步完成。然后再按上述次序重调一次,经过这样的调整以后,收音机的灵敏度和选择性都可得到满意的结果。(赵渊)