用手碰一下收音机放大级电子管的栅极,会在扬声器中听到明显的感应噪声。这是由于人体感应,在电子管栅极上产生了一个感应电压,这个电压经过电子管放大,便产生了很响的噪声。如果预先设计栅偏压刚好使电子管屏流截止,那末栅极加上这个感应电压后,就可能使电子管产生屏流。这时,在电子管屏路中接入一个灵敏的继电器,使继电器在电子管通流时吸动,利用继电器的接点就能进行控制了。
感应式闸流管继电器,基本上就是运用上述的工作原理。由于闸流管是充气管,只要当栅极电压一大于截止电压,屏流就立刻达到很大的数值,所以用闸流管可以保证工作可靠,并且电路简单,制作容易。
感应式闸流管继电器的应用很广泛。在闸流管的栅极上接一根长的绝缘导线,作为感应线,放置在不允许人靠近的危险地区(如高压电源附近),那么当人靠近这感应线时,闸流管即起燃(产生屏流),继电器即动作,接通告警电路,发出告警信号,促使人们注意。如果用继电器控制计数电路,而把感应线放在车站或全场入口的适当位置,那末就可用来自动统计人数了。
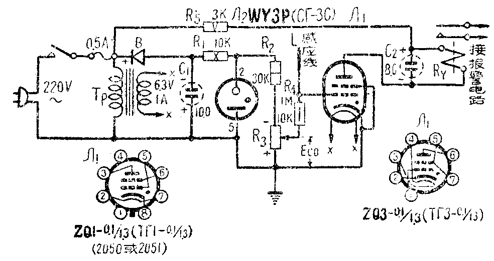
现在介绍一个感应式闸流管继电器的具体电路,见下图。这个电路可以分成两部分:电源部分和闸流管继电器部分。在电源部分中,220伏交流经0.5安的熔丝加到一个6.3伏的电铃变压器,供给闸流管灯丝电流。闸流管屏极电源直接用220伏交流。另外,经整流器B、滤波电路R\(_{1}\)C1、稳压管Л\(_{2}\)供给闸流管栅极一个负偏压;调整可变电阻R3可改变这个负偏压数值。在闸流管继电器部分中,闸流管栅极连接一根感应线L,这根线根据需要放置在适当地方。栅极上还接有电阻R\(_{4}\),它的作用是一方面限制栅流,另一方面是把感应线上感应得的电压加到闸流管栅极上去。控制用的继电器Ry接在闸流管屏路中,它串接一个电阻R\(_{5}\),用来调整通过继电器Ry的电流大小。为了不让交流电通过继电器R\(_{y}\),在它上面并联了一个数值较大的旁路电容器C2。当闸流管栅极加上感应电压时,闸流管应起燃,使继电器R\(_{y}\)吸动,完成控制作用。以下再谈谈设计制作中的几个问题。

1.适当选择栅偏压E\(_{co}\)值。Eco值应比闸流管的临界栅压还要负一些,但又要与临界栅压很接近,这样才可能得到较大的灵敏度,只要当人们一靠近感应线即能使闸流管起燃,而当人离开感应线,即能使闸流管熄灭(屏流截止)。注意E\(_{co}\)值应在装好感应线以后进行调整,以便把感应线引线的影响考虑进去。根据实验,如果用ZQ1-0.1/1.3(TГ1-0.1/1.3)型闸流管,感应线长5米,则Eco以-15.5伏为最好;如感应线长7.5米,则E\(_{co}\)需要-28伏。
2.零件的选挥。零件的数值和规格已在图中注出。如果E\(_{co}\)数值较大,R2应改用较小的电阻,图中R\(_{2}\)的数值适合Eco=-15.5伏,如E\(_{co}\)=-28伏,则R2应换成12千欧的电阻,以提高R\(_{3}\)上的电压。R4的数值,如果用ZQ1-0.1/1.3型闸流管,以1兆欧较好。增大R\(_{4}\),固然可以提高灵敏度,但闸流管易于自动起燃, 工作稳定性会变劣。
闸流管可选用国产ZQ1-0.1/1.3(平均电流为0.1安, 极限反电压为1.3千伏)或ZQ3-0.1/1.3(平均电流为0.1安, 极限反电压为1.3千伏), 这两种闸流管的灯丝电压都是6.3伏,灯丝电流0.6安。也可用2050或2051代替ZQ1-0.1/1.3,2D21代替ZQ3-0.1/1.3,不过2051型闸流管的平均电流较小,只有75毫安。对直流继电器R\(_{y}\)的要求不严格,只要它的动作电流小于闸流管的平均电流就行,例如国产JY-16(MKY-48)型电话继电器。与继电Ry串联的电阻R\(_{5}\),可根据下式估算:
R\(_{5}\)=Ra-R\(_{y}\),
R\(_{a}\)≈(\(\sqrt{2}\)Uπ)/Ia≈0.45U/I\(_{a}\),
式中:U—市电电压有效值(一般为220伏);I\(_{a}\)—继电器Ry的吸动电流;R\(_{a}\)—闸流管屏极电路总电阻,Ry—继电器R\(_{y}\)的电阻。
感应线可采用塑料绝缘导线,终端接块金属板,但应与地绝缘。
3.电源问题。整流器B可以用24×24毫米方形27片装的半波硒整流柱一个。如果用电子管整流,则整流管的灯丝电流要另用一组灯丝线圈供给,不能与闸流管灯丝共用灯丝线圈。如果电源比较稳定,则可不用稳压管,这时只要把C\(_{1}\)改接到原来稳压管的位置就行了。
由于机壳直接接市电,所以机壳可能带电,安装使用时应特别注意安全。感应线部分,因为E\(_{co}\)不很大,电路中又有大电阻R4,所以不会麻电。(唐立森)