把交流电源整流后变为直流电源,以代替原来电池式收音机中的电池,并通过几个刀的双掷开关倒换,在需要用电池时就用电池供电,在没有电池时就用整流后得到的直流电源,这样便将一部电池式收音机改装成交流、电池两用电源式的收音机了。
这里介绍三种改装的方法,供作参考。
第一种方法
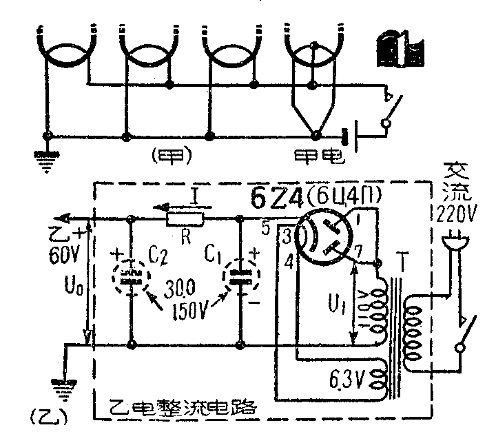
添加整流器,将交流电源降压整流后供作直流乙电源;灯丝仍用电池供电。

这种方法改起来最为方便。电路如图1所示。图1(甲)为甲电供电电路;图1(乙)为乙电整流电路。这里的变压器T可选用一般二、三灯收音机用的电源变压器。滤波电阻R的大小要看变压器次级电压、收音机全部电子管屏流和帘栅流的总和,以及原来收音机采用的屏压值而定。例如整流器电源变压器的次级若为110伏,收音机各管屏流、帘栅流的总和为10毫安,原屏压为60伏,那么可用下列经验公式粗略地计算出R的大小:
U\(_{1}\)=1.1(U0+IR),
式中各符号所代表的意义见图1(乙),代入各假设数值,可算出
R=(\(\frac{110}{1.1}\)-60)/10×10\(^{-}\)3=4千欧
R上的消耗功率为P=I\(^{2}\)R=(10×10-3)2×4000=0.4瓦。
可取用2瓦的,以保安全。
至于收音机各管的屏流和帘栅流,若有电流表时量一量就知道了。如果没有电流表的话,也可先大略估计一下。一般输出管、变频管、中放管和高放管的屏流和帘栅流可以从电子管特性表中查得。不易查到的一般只有前级电压放大管和栅极检波管(如1Б2П、1S5等),因为它们都用电阻交连,它的屏流和一般电子管手册所列是不同的。但这些管子的屏流和帘栅流都非常小,就是不计算进去问题也不大。
电阻R最好选用一个比计算值较大的可变线绕电阻,先调到最大阻值接入电路,然后慢慢减小阻值,使输出电压调到刚好适合需要就固定下来。不过电子管屏压并不要求非常准确,上下差10%问题也不大。
如果没有电源变压器,也可以利用任何一种次级有6.3伏左右电压的变压器,如电铃变压器等来供给整流管的灯丝电源,按图2(甲)电路连接。但这时收音机的底板是与交流市电的一根电源线连接的,如果接的是火线,底板将带电,手摸上去会麻手,用试电笔去碰底板会发亮,遇到这种情况,可以将电源插头两头调换一下,再插进去,就能消除上述现象。但应注意,采用这种电路时不能连接地线,而且收音机机壳要很好地与地绝缘,否则电源火线将通过底板接地,造成短路事故。如果要接地线,必须串上一个云母电容器后再接地线,如图2(乙)虚线所示。

如果有硒整流器,可以用图3的电路,将交流220伏市电直接接到硒推上,整流后再经过π形滤波器(同前),得到60伏直流乙电压。硒堆可采用华北无线电厂出品的0423型、0425型或0427型的都可以。用此电路时,底板也是可能带电的,也需要采取上述措施。

第二种方法
电路如图4所示。乙电源的设计和上一方法相同。甲电整流器是用桥式电路。滤波用扼流圈式,以减小输出电流的交流成分。因为直流管的灯丝很细,热惯性极小,要求很平稳的直流电流,否则会出现很大的交流声。

如果所用收音机的电子管比较多,灯丝电流比较大,那么灯丝整流器的交流供电电源不能用6.3伏的那一线圈,而要另绕一电压较高线圈单独供给。为了便于调整,在输出端用一可变电阻R(约500~10O欧)。扼流圈的大小则要看灯丝电流的大小来选取。
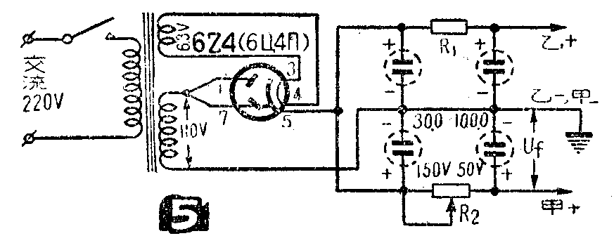
第三种方法
应用电路见图5。乙电的计算方法也同前。这里所不同的是灯丝电源也利用乙电整流电源降压供给。这时为了节省电源消耗,灯丝要改为串联的(如图6虚线改接)。否则,接成并联时电流太大,大部分由能将消耗于R\(_{2}\)上,且一般整流管输出直流电流仅有七、八十毫安,也难以满足全部电子管并联时所需大到100多毫安的电流。


其次要注意的是前几级电子管(如变频管、检波管、电压放大管)的灯丝应尽量靠近接地端,而输出管应尽量靠近电源正端。例如四管外差机串联灯丝由甲电负端到甲电正端的排列次序就应为1B\(_{2}\)、1K2\(_{2}\)、2P2,因为对灯丝交流声来说,前置电压放大管比中放管与变频管更为敏感。这样不但可以减低交流声,而且便于输出管偏压的供给。因为这时前几级管子灯丝上的直流电压降正好用作输出管的栅负偏压。
一般国产小型管的灯丝电流都是0.03安。这时串联起来就比较方便。如果其中某些电子管的灯丝电流不同,那么电流小的电子管灯丝上就要并联一个电阻,如图7。例如V4的灯丝电流为I\(_{f4}\),V1、V\(_{2}\)、V3的灯丝电流为I\(_{f}\),那么R的数值应为:
R=U\(_{f}\)/(If4-I\(_{f}\))(欧)
上式中U\(_{f}\)为V1、V\(_{2}\)、V3的额定灯丝电压,单位为伏。
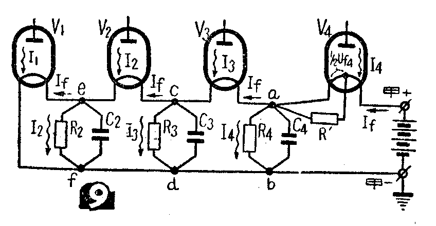
其次要注意:在这样的电路中,流过前级灯丝的除灯丝供电电流外,后级的屏流及帘栅流也有一部分流过(图8)。这样会引起有害的交连,并使前级电子管灯丝电流过大,故在级数较多的收音机中还加有去耦旁路电容器,如图9所示。图中C4、C3、C2为交流旁路电容器,除功率放大管灯丝上的那一个(例如图中的C4)要用几微法至几十微法外,其余一般约0.1~0.05微法就可以了。电阻R\(_{1}\)、R2……为直流屏流和帘栅流的分流电阻。它们的数值可用下列方法计算。


在图9中,设前三管V\(_{1}\)、V2、V\(_{3}\)的灯丝电压为1.2伏,V4的灯丝电压为2.4伏,故四管串联时额定甲电压应为
3×1.2+2.4=6.0伏
在a、b两点应该是
3×1.2=3.6伏,
也就是说R\(_{4}\)的两端应该是3.6伏。同时我们要求在R4上也刚好分去V\(_{4}\)的屏流Ip4及帘栅流I\(_{s4}\),不让它们流过V3、V\(_{2}\)、V1的灯丝,所以根据欧姆定律,可知R\(_{4}\)应为
R\(_{4}\)=Uab/(I\(_{p4}\)+Ls4)=3.6/(I\(_{p4}\)+Is4);
同理:R\(_{3}\)=Ucd/(I\(_{p3}\)+Is3)=2×1.2/(I\(_{p3}\)+Is3);
R\(_{2}\)=Uef/(I\(_{p2}\)+Is2)=1.2(I\(_{p2}\)+Is2)。
另一方面,在功率管中(如V\(_{4}\))由于屏流很大,且只通过灯丝的一半,故易使灯丝过载,所以一般都在这一半灯丝上并联一个电阻R'(图9),它的计算方法为
R'=\(\frac{1/2U}{_{f4}}\)Ip4+I\(_{s4}\)
(承恒)