本文给大家介绍一架有两级低放的晶体管收音机。它用晶体二极管Д\(_{1}\)检波,并用两个晶体三极管2G102作两级低频放大。虽然结构简单,但效果却很良好。在北京用普通的天线就能用扬声器在中等大小的房间内满意地收音。如果用耳机,在户外只要用一根两、三米长的天线就能收听。本机需要的电流总共只有3毫安,用三节手电筒电池(共4.5伏),就可以用几个月到一年。
一、电路说明
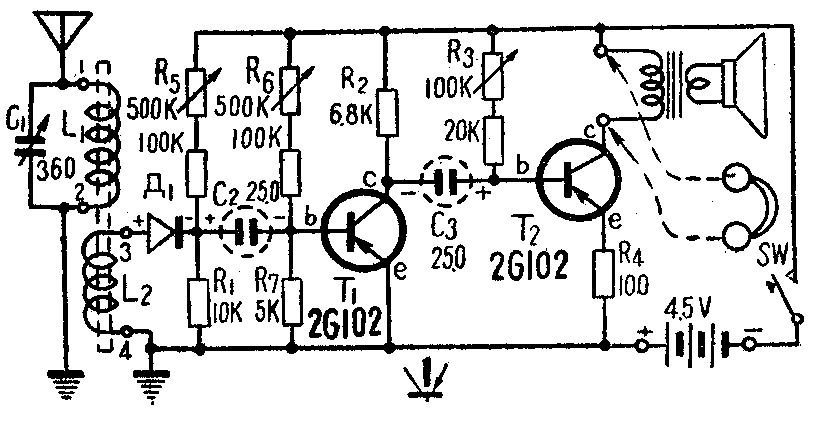
线路见图1。L\(_{1}\)C1为调谐输入回路。由它输出的高频信号由L\(_{1}\)耦合到L2,经过二极管Д\(_{1}\)检波后,从负载电阻R1上取出的低频信号,经电容器C\(_{2}\)输入三极管T1的基极,被它放大后,再经过C\(_{3}\)交连到三极管T2,作第二级放大,最后由扬声器放出声音。

T\(_{1}\)、T2用的是2G102型晶体管,用其它2G型的或п\(_{6}\)型等也可以。两级低放都装成共发射极电路。可以得到较大的电压放大和功率放大。
电位器R\(_{5}\)串联一个100千欧的电阻接到二极管Д1的负端,是用来调节它的偏压的,因为二极管在0.1伏附近的小正向电压下,检波效率最高
电位器R\(_{6}\)和R7组成一个电源分压器,使基极有一个相当稳定的电位,以稳定晶体管的工作点。
按照阻抗匹配的要求,线圈L\(_{2}\)的阻抗应当和晶体管T1的输入阻抗匹配。因为对于交流来说,25微法的电解电容器C\(_{2}\)接近于短路,可不予考虑;另外,R1=10千欧,R\(_{7}\)=5千欧;比起T1的700欧的输入电阻和线圈阻抗来说,都可以认为是断路。这样信号正半周时,图2(a)这部分电路可简化为图2(b)的等效电路。这时为了取得匹配,L\(_{2}\)的圈数就不能太多,在磁性天线上绕十几圈即可。否则圈数太多了,输入信号的功率反而减小。

R\(_{2}\)是第一级放大器的负载。它要选在本级输出电阻和下级输入电阻的两数值之间。本电路中选用6.8千欧,以求匹配,一般可在5~10千欧范围内选取。R2不宜过大,否则杂散电容过大,也是不利的。
电位器R\(_{6}\)、R3是用以选定合适的工作点。与它们串联的电阻,是保护电阻,用以避免调节时电流过大。
电阻R\(_{4}\)是电流负回授电阻,用途是补偿晶体管因温度变化而引起的工作状态的变化,使工作稳定。
两级放大电路之间最好用变压器耦合,让它的初级阻抗与前级管的输出阻抗相等,次级阻抗与后级管的输入阻抗相等。这样可取得良好的匹配。不过如感到绕变压器不方便的话,可以就用本电路中的阻容耦合方式。
末级的负载是扬声器,一般需要通过输出变压器来匹配。输出变压器初级阻抗应等于末级的负载,对2G102而言,用4.5伏电源时,可算出大致为135欧;次经阻抗应等于扬声器的音圈阻抗。
二、装配
找一块6×8平方厘米的胶木板或薄木板,按图3的样子打孔,用空心铆钉在板上铆上十个焊片,再把零件焊接在焊片上,这样做成的架子,体积又小,又便于装拆。这个架子也可以用两个普通的4眼接线架代替。

调谐线圈L\(_{1}\)和次级线圈L2紧挨着绕在一根4.5厘米长的M\(_{4}\)型磁性天线棒上。L1用28号漆包线绕51圈。头1,尾2。L\(_{2}\)用26号漆包线绕13圈,头3,尾4。按图4(a)(b)(c)的步骤,先将磁棒裹上一二层绝缘绸,再开始绕线。线头线尾用小绝缘绸条把它束紧即可,绕成后如图4(d)所示。值得提醒的是千万不要用铜线做一圈圆环扭紧在磁棒上来固定线头,或者固定磁棒,因为这种短路圆环实际上也是调谐线圈L1的次级线圈,它会吸收相当多的能量,以致大大减弱了L\(_{2}\)线圈里感应信号的强度。

在焊接晶体管的时候必须特别小心,我们一定要严格遵守生产单位对焊接管子提出的一些要求,比如2G管焊剂熔点不得大于150℃,焊接时间不得超过3秒种,引线弯曲不得近于管壳10毫米等等。因为晶体管只有在正常使用条件下,才会得到好的性能和长的寿命,否则粗心大意,毛手毛脚很可能发生弄坏管子、烧毁管子、扭松引线等情况。2G型晶体管的三根引线里面(见图5a),中间一根是基极引线(b);靠近它的是发射极引线(e);离它远些的是集电极引线(c),不能搞错。最好是把电路其它部分都焊好之后,再焊接晶体管,焊的时候一定要用一把钳子夹住管子的引线,在三秒钟以内迅速焊完。钳子能帮助散热,使得多余的热量不致于窜入管内。

三、调整
全机装好,经仔细检查无误后,即可进行调试。把R\(_{3}\)、R5、R\(_{6}\)上的三个电位器旋到最大。接上电池和扬声器。用天线头触碰T2的基极,应该听到轻微的“喀喀”声,表示第二级有放大作用。再触碰T\(_{1}\)的基极,会有更大的“喀喀”声,然后把天线接到谐振圈L1的1头,调节电容器C\(_{1}\)即可收到电台播音。接下来分别缓缓调节电位器R3和R\(_{6}\),找到音量最大、音质最好的位置,固定下来。转动R5也将找到最响的位置。电位器R\(_{3}\)、R6、R\(_{5}\)的位置选定后,分别测知它们的阻值,就可以用三个固定电阻换入电路,以代替它们。最后是改变L2,找到音量最响亮的圈数,以及增减L\(_{1}\)圈数,以收到550~1500千赫波段内的主要电台。上述的调试步骤中,电阻R3、R\(_{6}\)大小的挑选是必要的,因为同一型号的晶体管,它们的特性也不能保证完全一致。仔细调整才能尽可能地发挥晶体管的作用,使收音机处于最佳工作状态。(李怀中)