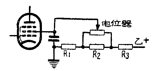
用五级管检波的再生式收音机,可以改变它的帘栅压来控制再生。这种控制方法一般是在乙电电源上并联一个电阻和一个电位器,帘栅压从电位器上取得。转动这个电位器,帘栅压便有增减,从而调整再生。但是,电位器转动时,电阻数值变化较大,不易找到最佳点。采用下图的接线方法,就可减缓电阻的变化速度,当电位器转动较大角度时,帘栅压的变化较小,容易找到最佳的一点。装置时可以先不接入R\(_{1}\)R2,而把电位器(20K、50K的都可以)接在R\(_{2}\)的位置,调整电位器,得到较好的控制点,然后量得这时的电位器电阻,选一个固定电阻即R2按图改接。如果还嫌变化速度过快,可串入R\(_{1}\),R1的数值一般为几千欧。R\(_{3}\)应根据所用电子管特性决定,如用1K2(1K2П)电子管作单管再生机,R3可选用50K的电阻。(李应楷)
