限时器能够定时地启开或闭合被控制线路。在一些有时间性限制的设备中,如点焊机、X射线机中,装了限时器就能自动控制开机或停机,十分方便。
这里介绍的一种限时器,工作原理和结构都比较简单。简化了的原理图见图1。图1中V1是一个辉光管,与辉光管串联一个继电器RA。很明显,当辉光管起辉(导电)后,继电器RA就能动作,它的接点就可接通或断开被控制线路。因此,只要控制辉光管的起辉时间,就能达到限时的目的。怎样控制辉光管的起辉时间呢!我们都知道,辉光管起辉,必须在辉光管的阳极和阴极之间加上一个足够大的电压,例如用WYl(CГlП)型辉光管,这个电压就需要180伏。低于这个电压,辉光管不能起辉,就不能导电,像一个开关处在开断位置一样。现在的问题,就是怎样使加到辉光管的电压逐渐增加到起辉电压,并且能控制这段时间的长短。从电路图中可看出,这里是利用电阻R和电容C来解决时间控制问题的。当开关K闭上时,电容器 C充电。在C充电时,电容器两极板上的电荷逐渐增加,而电容器两端的电压等于电荷除以电容量,所以电容器两端的电压是随着电荷的增加而升高的。起辉管与电容器C并联,加到起辉管上的电压也就是图中a、b两点的电压,即电容器C两端的电压。很明显这个电压是逐渐增高的。这样,当开关K按下后,起辉管不是马上导电, 而是等电容器充电到一定程度后才得到足够的电压,经过一段时间才开始导电。这段时间的长短,可以用电阻R和电容C来控制。R和C的数值愈大,则辉光管起辉延迟的时间愈长。

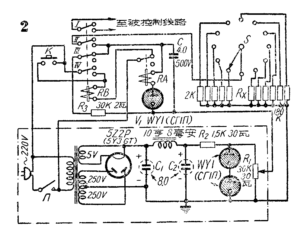
实际应用的一种限时器电路见图2。与图1比较,虚线方框内部分相当于一组电池和开关。接通电源后,按电键K,交流继电器RB动作,它的第一组接点I便接通被控线路,第二组接点接通电容器C的充电电路(充电电压取自R\(_{1}\)两端的电压,经Rx、旋键S、接点Ⅱ、电容器C完成通路),第三组接点Ⅲ,切断电容器C的放电电路,第四组接点Ⅳ代替电键K接通RB继电器的电路。辉光管V\(_{1}\)与电容器C并联,等到电容器充电到足够高的电压后,辉光管导电,继电器RA动作,它的接点便切断继电器RB的通路,继电器RB便释放,于是它的第一组接点就切断被控线路,第二组接点切断电容器充电电路,第三组接点接通电容器C的放电电路,第四组接点切断继电器RB的通路。这样,被控线路在电键K按下后接通,经过一段由Rx。C、R\(_{3}\)等决定的时限,就自动断开。

上面谈到,电容器充电时要经过一段时间才能建立起外加的电压。同样,电容器放电时,它两端的电压也不是立刻降到零,这段时间也是与放电电路中的RC数值大小有尖。在电容器还未降到辉光管的熄辉电压以前,辉光管仍继续导电,RA还不能释放,所以被控线路还不能切断。因此在设计时,除了选择充电电路中的R\(_{x}\)、C的数值外,还要考虎R3的影响。
旋键S可改变接入的R\(_{x}\),可以调整限时时间。Rx的数值根据需要决定。这个电路的限时范围为4/100秒至8秒。
电源部分采用两个辉光管作稳定电压用。如果电源电压不稳定,会影响限时器动作的准确性。R1两端的电压达300伏,可以调整。(余永茂)