线圈和电容器是无线电设备中的两种主要元件。在装配无线电设备时,首先要知道线圈的电感和电容器的电容数值。在这篇文章里,我们将介绍测量线圈电感和电容器电容等的一些简单的方法。
电感的测量
测量电感有三种主要方法:电压表和电流表法、电桥法、谐振法。

(1)电压表和电流表法。这种方法可以用来测量较大的电感,如低频扼流圈等。测量时,可用图1的线路及50赫的交流电源。读出毫安表的读数I和电压表的读数V。设线圈的电阻r可以忽略,则因为在线圈两端的电压降V=(2πfL\(_{x}\))I,所以
L\(_{x[亨]}\)=V[伏]/2πf\(_{[赫]}\)I[安]
=3.2×10\(^{-}\)3V\(_{[伏]}\)/I[毫安]。
假如线圈中的电阻r不能忽略,那么
L\(_{x[亨]}\)=3.2×10\(^{-}\)3\(\sqrt{V}\)[伏]I\(_{[毫安]}\))2-r\(^{2}\)[欧]。
如果所用的电压表内阻很高,可以用图1a的线路;如果电压表内阻较低,就应当用图1b的线路。

(2)电桥法。用电桥法可以测量几微亨到几十亨的电感,它的电源可采用800~1000赫的低频振荡器。桥路中可以利用标准电感L\(_{0}\)(图2a)或标准电容C0(图2b)。在电桥对角线上可以用毫安表,也可以用耳机来代替;如果没有低频振荡器,也可以用蜂鸣器,如图2c所示。
测量时,调节电阻R\(_{1}\)(在图2b中调节电阻R1及R\(_{0}\)),使毫安表读数或耳机中的声音达到最小。此时电桥平衡。如果采用图2a的线路时,所测电感应为Lx[微亨]=L\(_{0}\)[微亨]R2[欧]/R\(_{1[欧]}\)。如果采用图2b的线路时,所测电感应为Lx[微亨]=C\(_{0}\)[微法]×R1[欧]×R\(_{2[欧]}\)。图2b中的可变电阻R0用来补偿相反桥臂上的相角,使电表的最小读数更为明显。

(3)谐振法。谐振法可以测量很小的高频线圈电感。测量线路如图3a。为了使高频振荡器和振荡回路保持松耦合,要串联一个30~50千欧的电阻。图中的C\(_{0}\)为有刻度的标准电容器。
测量时,调节电容器C\(_{0}\)使电子管电压表的读数为最大,即使回路达到谐振。这样,利用公式ω\(^{2}\)=\(\frac{1}{KC}\),可得所测电感为
L\(_{x[亨]}\)=\(\frac{1}{4π}\)\(^{2}\)f2[赫]C\(_{0}\)[法]
或 L\(_{x[微亨]}\)=\(\frac{2.53×10}{^{1}0}\)f2[千赫]C\(_{0}\)[微微法]。
用上式计算电感时,并没有考虑到线圈本身的潜布电容C\(_{A}\)。因为在大多数情况下,这个电容是可以忽略的。如果线圈的潜布电容很大,则可按下式来计算:
L\(_{x[微亨]}\)=2.53×10\(^{1}\)0;f2[千赫](C\(_{0}\)+CA)\(_{[微微法]}\)。
测定式中的C\(_{A}\)时,将电容器调到和前面不同的刻度C0′上,再调节高频振荡器使电子管电压表的读数最大,记下这个谐振频率f′,则C\(_{A}\)可按下列公式算得:
C\(_{A[微微法]}\)=
=f\(^{2}\)\(_{[赫]}\)C0[微微法]-f′2\(_{[赫]}\)C′0[微微法];f′\(^{2}\)\(_{[赫]}\)-f2[赫]

图4是谐振法的另一种电路,可以测量更小的电感。测量时,先将开关K接通,调节电容器C\(_{0}\)使电子管电压表的读数最大,记下这个电容为C01。然后将开关K断开,即将被测电感接上,再调电容器C\(_{0}\)使电子管电压表的读数最大,记下此时的电容为C02。这样,所测电感为
L\(_{x[微亨]}\)=2.53×10\(^{1}\)0;f2[千赫]×(C\(_{0}\)1-C02;C\(_{0}\)1C02)\(_{[微微法]}\),
式中的f是高频振荡器的频率。
图4中L\(_{0}\)的数值应选用和Lx具有相同数量级的。
在用谐振法测量时,如果没有电子管电压表,也可以用一个矿石检波器和耳机并接在振荡回路上以监测谐振,例如图3b所示的情况。不过这时高频振荡器的输出要用已调幅的信号。
电容的测量
测量电容的方法很多,下面只介绍几种常用的方法。其中有些是和测量电感的方法大体上相同的。

(1)电压表和电流表法。这种方法可以测量大于0.1微法的电容。测量电路如图5所示,测量方法和图1测电感的方法相同。因为
V=I/2πfC\(_{x}\), 所以
C\(_{x[法]}\)=I[安]/2πf\(_{[赫]}\)V[伏],
若所用电源为50赫的市电,则
C\(_{x[微法]}\)=3.2I[毫安]/V\(_{[伏]}\),
如果要测量电解电容器,应当采用图6的电路。电路中的直流电压(用电池或蓄电池)是用来保持电容器的极性的,电压大小最好等于电容器的工作电压。交流电源可以采用50赫的市电,通过变压器来供电,交流电压值要小于直流电压很多,以免破坏电解电容器的极性,一般可采用4~6伏。所用毫安表应当只能测量交流电流,而对直流电流没有反应。在这种情况下,仍按前一公式计算。

(2)电桥法。一般的测量线路有图7所示的两种。测量时,调节电容器C\(_{0}\),使毫安表的读数最小(或耳机中的声音最小)。如用图7a的电路,被测电容为Cx=C\(_{0}\)R1/R\(_{2}\),如果用图7b的电路,则Cx=C\(_{0}\)C2/C\(_{1}\)。

(3)谐振法。要测量几个微微法到几千个微微法的电容时,可用谐振法(图8和图9)。测量时,如果采用图8的线路,应调节高频振荡器的频率,使电子管电压表的读数最大,这时,所测电容为:
C\(_{x[微微法]}\)=2.53×10\(^{1}\)0;f2[千赫]L\(_{0}\)[微亨]。
假如所测的电容很小,为了避免线圈的潜布电容和接线电容的影响,可以采用图9的线路。先将开头K断开,调节高频振荡器频率使电子管电压表的读数最大,记下此时标准电容的电容量为C\(_{0}\)1。然后关上开关使被测电容Cx和C\(_{0}\)并联,为了重新达到谐振,就需要把标准电容减小到C02。C\(_{0}\)1和C02的差就是C\(_{x}\)的数值。

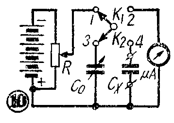
(4)冲击法。此法可以测量大的电容,其线路如图10所示。测量时,先把K\(_{1}\)放在位置1,把K2放在位置4,将电位器R的旋臂放在电压较低的位置(例如2伏左右),使电容器C\(_{x}\)充电。然后把开关K1扳到位置2,使电容器通过微安表放电。如果微安表偏转过小,可以调节电位器的旋臂,适当增高充电电压,直到微安表的指针差不多能摆动到全刻度时为止。这时要记下指针的最大偏转值。然后将开关K\(_{2}\)转到位置3,和标准电容器C0相连。在充电电压不变的情况下(即电位器旋臂固定不动),扳动K\(_{1}\)对C0作充放电实验。调节C\(_{0}\)的数值,使C0通过微安表放电时所发生的偏转,和刚才待测电容器放电时所得的偏转一样。这时,被测的电容C\(_{x}\)就和标准电容C0相等。
线圈Q值、回路等效电阻的测量

(1)Q值的测量。测量高频线圈的Q值时,可利用谐振曲线法。利用图3的线路,保持C\(_{0}\)不变,改变高频振荡器频率f,并记下对应的电子管电压表读数V,即可得到图11a的谐振曲线;如果保持f不变而改变C0,即可得到图11b的谐振曲线。
经过V=0.7V\(_{[谐]}\)的地方画一条平行于横轴的直线,交谐振曲线于1、2两点。自1、2两点分别引垂线交横轴于f1、f\(_{2}\)两点(在图11b中为C01、C\(_{0}\)2两点)。此时,对于图11a的情况,
Q=\(\frac{f}{_{[谐]}}\)f2-f\(_{1}\);
而对于图11b的情况
Q=2C\(_{0}\)[谐]C02-C\(_{0}\)1。

测量低频线圈的Q值时,可利用衰耗法和代换法。衰耗法的线路见图12。选一内阻为R\(_{i}\)(600欧)的振荡器,终接一等于Ri的纯电阻。先将K断开,用电子管电压表量所接电阻上的电压为V\(_{1}\)。然后关上K,使谐振电路接入,用电子管电压表量LC谐振时的电压为V2。这时
Q=\(\frac{2πf}{_{[赫]}}\)L[亨]R\(_{i[欧]}\)×2(V1;V\(_{2}\)-1)。

比较法的线路见图13。先如图13a那样测得LC谐振时的电压为V\(_{1}\),然后用一可变电阻R代替LC(见图13b)。调节可变电阻,使电压表上的读数仍为V1,记下此时的电阻R,则
Q=\(\frac{2πf}{_{[赫]}}\)L[亨]R\(_{[欧]}\)。

(2)振荡回路等效电阻的测量。线路如图14所示。高频振荡和回路之间要保持松耦合。测量时,先关上开关K使R短路,调节高频振荡器频率使电压表读数最大,并记下此读数为V\(_{1}\)。然后将开关K断开,接入已知的附加电阻R,再改变振荡器频率使电压表的读数最大,并记下这个电压为V2。这时,回路的等效电阻为
r\(_{x[欧]}\)=R[欧](\(\frac{V}{_{2}}\)V1-V\(_{2}\))。
(高煜)