一、概述
美多牌663-2-6型收音机是一架超外差式六灯三波段收音机,在1961年第三届全国广播接收机观摩评比中获得一等奖。该机适用于110/220伏,50至60赫的交流市电。功率消耗约45瓦。机内采用165毫米恒磁扬声器,并装有音调控制电路,所以声音优美动听。全部调节机钮均装置在机前刻度玻璃面板上。本机配有华丽木壳,外形颇为美观。电声性能及电气性能都符合国家标准。机件在生产过程中作了严格的检验,能经受:+40±2℃的高温试验4小时,-40°±2℃的低温试验4小时, 湿度为95±2%、温度为摄氏25±2°的潮湿试验48小时,振频为40赫、加速度为3g的振动试验20分钟和加速度为15g、每分钟30~40次的冲击试验1000次。因此该机能在温度0°~40℃、相对湿度90%以下、大气压力750±30毫米水银柱的环境下连续使用8小时。
二、主要电气电声指标
1、频率范围:
中波 530~1610千赫;
短波1 3.98~9.1兆赫;
短波2 8.9~18.2兆赫。
2.中频频率 465±2千赫
3.灵敏度
中波不劣于 90微伏
短波1 不劣于 130微伏
短波2 不劣于 130微伏
4.选择性 在1000千赫偏调±10千赫
衰减不小于 30分贝
5.假像波道衰减
中波不小于 20分贝
短波12兆赫以下不小于 14分贝
短波12兆赫以上不小于 6分贝
6.自动增益控制
输入电压变化26分贝时,相应输
出电压变化不大于10分贝
7.中频波道衰减不小于 40分贝
8.音量控制作用范围不小于 40分贝
9.额定功率输出不小于 0.5分贝
10.拾音器插口灵敏度不大于
0.15分贝
11.交流声电平不大于 -40分贝
12.整机频率特性 150~3500赫内
电压不均匀度为6分贝
13.整机输出非线性失真系数在测试
频率400赫时不大于 7%
14.高频部分机震抑止特性 <0分贝
15.低频部分机震抑止特性 无机震
三、电路简介
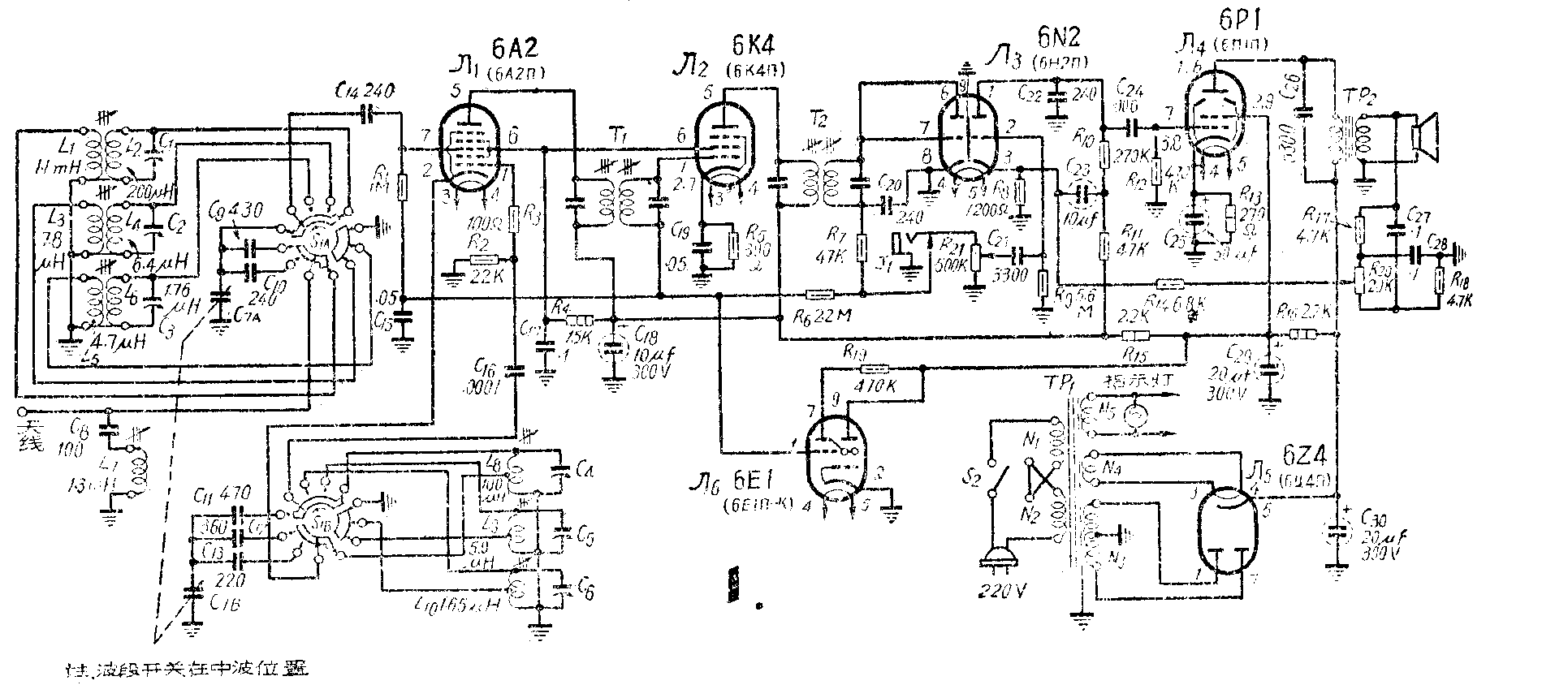
收音机的电原理图见图1。

收音机采用超外差式电路,用五栅混顿管6A2П混频。为了防止外来的频率等于中频的干扰进入收音机,机内装有C\(_{8}\)及L7所组成的中频陷波电路,使得中频波道衰减分贝值较规定提高了一倍,即原规定20分贝,目前已达40分贝。
调谐回路的各个电感线圈均采用铁氧体磁心。这样既能调节到规定的电感量,又能提高电感线圈的有效Q值,使得每个波段的灵敏度大为提高, 同时对统调情况也有所改善。短波波段采用了波段展阔装置,复盖系数设计为接近于二比一,使得接收短波电台时更易于分隔清楚。
收音机的音频输出变压器Tp\(_{2}\)初级阻抗为6000欧;匹配3.5欧恒磁扬声器。装在机箱内的平均声压大于5微巴。电源变压器Tp1的高压线圈N3为460伏(中心抽头)。
收音机的音色调节采用负回输方式,这样使得既能调节音色又降低了收音机整机失真度。音色调节器调节到高音调时的回输量大于6分贝;调节至低音调时的回输量大于4分贝。J\(_{1}\)为电唱机插口,在放送唱片时建议采用压电式晶体拾音器,这样放音效果更为完善。
四、安装与使用
收音机底盘上、下各主要零件的排列位置见图2、3。由于采用了双套旋钮,增加了度盘与调节钮的相互配合。靠右面的一套旋钮中,中心小旋钮是波段转换开关S\(_{1}\),外套大旋钮是转动双连电容器C7调电台用的调谐旋钮。靠左面的另一套旋钮中,中心小旋钮是音量调节电位器R\(_{21}\)的调节旋钮,电源开关S2也附在它上面,外套的大旋钮是音色调节器R\(_{2}\)0的调节旋钮。

在放送唱片时,可将电唱机插头插入机后“拾音器”插孔内,并需将电台指针调到没有电台的刻度位置。收音时,电唱机插头要拔出。
本机出厂时,一般是将电源交换插放在220伏位置。如果当地市电电源的电压是110伏,可将本机后面电源变换插拔出,以110伏字样对准尖头后重新插入即可。 (予征)