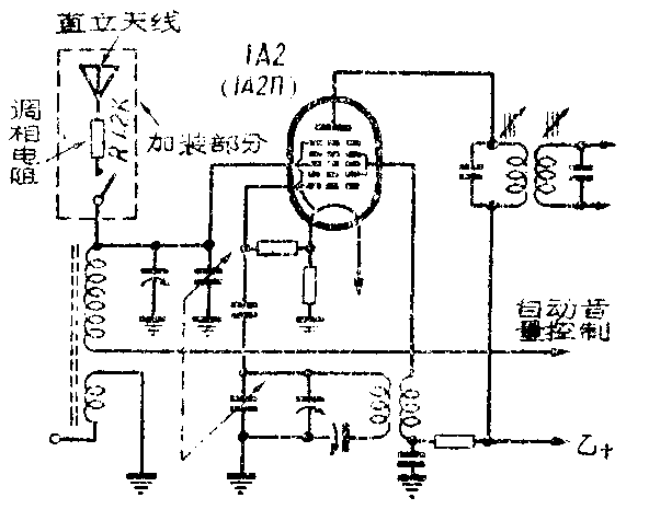
我们曾用装有磁性天线的上海牌451型手提式收音机来作测向试验。为此需用1.4米的粗铜丝做一根直立天线,另在直立天线的一端串联一个1.2K的调相电阻(用10K的电位器,便于调整),经开关后接至变频管1A2П的栅极(如附图)。当直立天线开路时,转动收音机, 可以测知磁性天线8字形的方向性,即有两个方向(互相相差180°)收听声音最大。接入直立天线后只有一个方向收听声音最大,从而可以测出电台的方向。(苏锦澄、黄成思)

用收音机作测向试验
我们曾用装有磁性天线的上海牌451型手提式收音机来作测向试验。为此需用1.4米的粗铜丝做一根直立天线,另在直立天线的一端串联一个1.2K的调相电阻(用10K的电位器,便于调整),经开关后接至变频管1A2П的栅极(如附图)。当直立天线开路时,转动收音机, 可以测知磁性天线8字形的方向性,即有两个方向(互相相差180°)收听声音最大。接入直立天线后只有一个方向收听声音最大,从而可以测出电台的方向。(苏锦澄、黄成思)
