数数,看来是很简单的事。小朋友一面踢毽子。一面“一、二、三、四……”地数着,多么轻松愉快!但是要是数目太大了,数起来就不那么容易了。比如说,你曾经数过一百、二百……一千甚至好几千的数,但是你曾经数到过几百万甚至几千万的数吗?即使你有这个耐心,也没有那个时间。例如,你下决心要数到“一千万”。一秒钟能数几个数呢?你试试看,顶多是十个数。这样,数到一千万,需要用一百万秒钟。也就是说,就是昼夜不停地数下去,也得数上十来多天。而且数目这样大,那一定是免不了要出错误的。这样看来,在必要的时候,能有一架机器代替我们数数,要它能数的数目很大,数得很快又没有错误,那倒是一件不坏的事。
电子计数器就是这样的机器。它能数很大的数目,数得很快,而且数得很准。例如,现有的较好的计数器,每秒钟能数一千万个数,而误差最多差1个数。
电子计数器数数的方法是数出通到计数器中的脉冲。例如,每秒钟输入一万个脉冲,那么在一秒钟测量后,它就指示出10000这个数字。因此,可以用计数器来测量各种物理量或电气量,只要先把待测的量变成和它相应的脉冲数就行了。

我们举一个测量频率的例子。图1是测量的原理图。将待测频率的电波经过脉冲变换器,使每一周波产生一个脉冲。这些脉冲经过定时开关送入电子计数器。如果定时开关开一秒钟,电子计数器上示出的数字是158670,那么频率就是158670赫;如果开一分钟时示出的数字是158670,那么频率就是158670/60二2644.50赫。
和一般带电表的测量仪器不同,电子计数器测量电量时具有很高的分辨能力。例如用一个六位数字的电子计数器来测量1076.53451赫的频率,它能量出六位数字,得到1076.53赫;而用带电表的仪器测量时,由于人眼分辨度的关系,最多只能看到四位数字,如1076赫,而且最后一个数字“6”已经是凭估计得出的了。
电子计数器在现代的测量技术中用得越来越广泛了。利用它可以作各种各样的测量。例如它和盖革管结合,可以探测放射性元素的量, 与一个电子开关结合,可以测量到一千万分之一秒的时间。它也可以用到生产流水线上去作计数或检验工具。有人把带电子开关的电子计数器叫做“单位时间的事件测量表”,这也就说明了电子计数器的用途是十分广泛的。
计数器电路有很多种。有利用触发电路的,也有利用专门的计数管的。不过使用计数管的电路对零件的要求较严,有一些计数管每秒钟计数的次数较少,所以现时用触发电路式的计数器比较多。这里我们就来谈一谈用触发电路构成的电子计数器的工作原理。
二进位计数电路

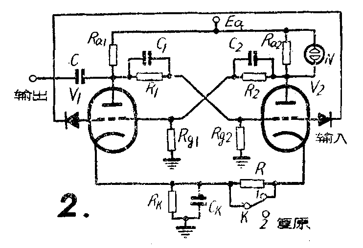
图2画出了一个双稳态触发电路。把两个电子管的栅极通过两个隔离二极管连在一起,作为公共输入端。从电子管V\(_{1}\)的屏极通过一个电容器C引出一个接线端作为输出端。再把一个氖灯N并联到电子管V2的屏极电阻R\(_{a2}\)上。很明显,这个氖灯只有当电子管V2通过很大电流,在R\(_{a2}\)上产生足够大的电压时才能燃亮。在V2通流而V\(_{2}\)截止时,氖灯就熄灭。
现在我们假定电子管V\(_{1}\)电流最大而V2截止时的状态为起始状态,并用“0”来表示这个状态。这时氖灯是熄灭的,所以氖灯不亮就相当于“0”的状态。然后,假定电子管V\(_{2}\)电流最大V1截止时的状态为工作状态,并用“1”来表示。这时氖灯燃亮,所以氖灯亮就相当于“1”的状态。
设触发器处在起始状态,氖灯不亮。这时如果在输入端输入一个负脉冲,它将使触发器从起始状态变为工作状态,即由“0”变为“1”,这时氖灯燃亮。与此同时,由于电子管V\(_{1}\)从通流状态变为截止状态,它的屏压突然增高,所以就在输出端输出一个正脉冲。在这个状态下,如果输入第二个负脉冲,那么电路将由工作状态变为起始状态,即由“1”变为“0”,氖灯熄灭,同时在输出端输出一个负脉冲。
现在我们假设把这个触发电路T\(_{1}\)的输出端接到另一个完全相同的触发电路T2的输入端。当第一个触发器T\(_{1}\)由“0”变到“1”,即氖灯燃亮时,它输出一个正脉冲,这个正脉冲并不能改变第二个触发器T2的状态,因为T\(_{2}\)电路输入端接的两个隔离二极管不让正脉冲进入触发器T2的电路。但是,当T\(_{1}\)由“1”变到“0”,即氖灯熄灭时,它输出一个负脉冲。这个负脉冲却能使第二个触发器T2翻转。如果T\(_{2}\)原本是处于相当于“0”的起始状态,氖灯不亮,那么现在它将变为相应于“1”的工作状态,氖灯燃亮。由此可见,将T1的输出脉冲作为T\(_{2}\)的输入信号,就起了二进位计数制中“逢二进一”的作用、即进位的作用。当第一个脉冲输入T1时。它的氖灯亮,表示是1。当第二个脉冲输入T\(_{1}\)时,它的氛灯灭了,但却向T2转入一个负脉冲,使T\(_{2}\)的氛灯亮,表示是二进制中的10,也就是2。(关于二进制的问题,请参阅本刊1961年第5期“什么是二进位计数制?”一文)
如果按照相同的方式在T\(_{2}\)后面接上第三个触发器T3、第四个触发器T\(_{4}\)等等(见图3),那么,就组成了一个二进位计数器。如果计数器中有n个触发器,那么它就可以表示出二进制n位数的脉冲数目。

现在我们来说明图2中复原开关K的作用。平常,K都是处在位置1,把电阻R短路,所以K和R的接入对电路毫无影响。当需要将电路转入起始状态时,只要把K向复原位置扳动一下就可以了。这时如果电子管V\(_{2}\)是通流的,那么由于大电阻R接入它的阴极,就使它的屏流减小,因而使电路翻转,变到V1通流、V\(_{2}\)截止的起始状态,使氖灯熄灭。如果扳动开关K时V2是截止的,那么R的接入就不会对电路有什么作用,电路仍保持起始状态。应当指出,由于电路的翻转极快,所以要使电路复原,只需将K向2扳一下,立刻顺手扳回1去就行了,并不需要把K\(_{2}\)放在2上停一段时间。
图3示n位二进制计数器的方框图。图中将所有触发器左面的电子管V\(_{1}\)的阴极连在二起,通过RkC\(_{k}\)接地;所有V2的阴极也连在一起,并通过K和R后经R\(_{k}\)Ck通地。这样,当扳动一下K时,所有的触发器都回到起始状态,所有的氖灯都同时熄灭。这样就可以开始计数了。
第一个脉冲使T\(_{1}\)转入工作状态,T1的氖灯亮。同时由T\(_{1}\)输出一个正脉冲。正脉冲不能使T2翻转,所以其它氖灯都不亮。如表中的第一行所示。
第二个脉冲使T1输入起始状态,氖灯熄灭。同时向T\(_{2}\)输入一个负脉冲,使T2的氖灯亮,如表中的第二行。第三个脉冲使T\(_{1}\)的氛灯亮,如表中的第三行。第四个脉冲使T1转入起始状态,同时向T\(_{2}\)输入一个负脉冲,于是T2也转入起始状态,T\(_{2}\)的氖灯熄火。同时T2向T\(_{3}\)输入一个负脉冲,使T3转入工作状态,T\(_{3}\)的氖灯亮,如表中的第四行。以后的情况可以依此类推。表中所示为第一至第十个脉冲进入计数器后,各触发器所处的状态。
因为人们长期以来已经习惯用十进位计数,为了方便起见,现在制成的电子计数器多用十进位计数制。这种计数器是根据前面所说的原理将电路稍加改变制成的。例如,可以将每四个触发器组成一组,各组分别作为十进位计数器的个位组、十位组、百位组等。在每一个触发器组中,当输入第一到第九个脉冲时,动作和前述二进位计算器完全一样。但是电路的连接具有这样的特性,即当输入第十个脉冲时,触发器组的四个触发器都转入起始状态,同时向前一位的触发器组输入一个负脉冲,这样就完成了逢十进位的作用。一个这样的十进位计数器的面板如图4所示。面板中以四个氖灯表示一位,读数时只要分别将每位上燃亮的氖灯所指示的数字相加起来就行了。例如图中所示的读数为1679。

现在已经大量采用每位上用十个氖灯作指示的十进位计数器。这样使用起来就更方便了。它的基本原理也和前面所讲的一样,只不过电路的连接有些不同罢了。(进)