移动式电工具的电源线,多使用橡胶绝缘的多股心线的软导线。这种软导线的心线在移动中受各种机械性损伤的机会很多,在长期使用中,易被拧断。心线断开后,往往很难从外表看出来,寻找故障点比较困难。
寻找这类软导线心线的故障点,一般都是采用测量心线间电容量的方法。即从导线的两端,分别测量断了的心线对另一根完好的心线间的电容量,根据从两端测得的电容量的差,按比例计算出心线断开点的大约位置。但这种方法应用不方便,而且不准确。
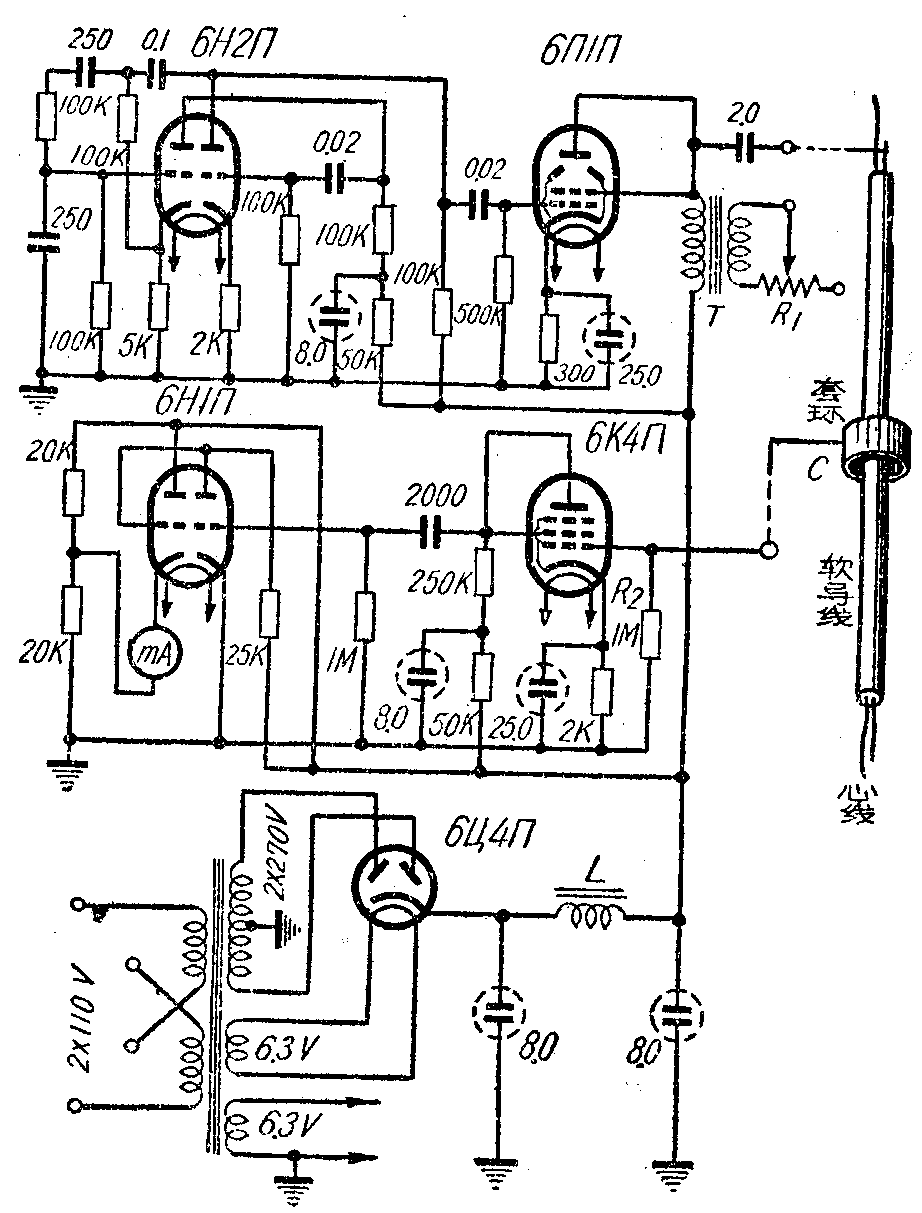
这里介绍一种软导线心线断开点检查器,可用来比较迅速准确地测出心线断开点。
检查器的电路原理图如下图所示。用6H2П构成一个低频振荡器,频率约为13~15千赫。6H2П的低频振荡电压,借按三极管连接的6П1П作功率放大,通过2做法的电容器交连输出,按至已确定断了的心线上。输出变压器T的次级与可调电阻R\(_{1}\)相接,作为6П1П输出的负载电阻,其阻值视输出变压器的变压比而定。调整R1的阻值,可影响通过2微法电容器的有效输出功率。软导线穿过一个用金属片卷成的套环。这套环的内径应稍大于软导线的外径,但过大亦不适宜,轴向长约10毫米。同时这套环与连接线,都必须有良好的金属屏蔽,以免受到杂散感应,形成测量误差。这时,心线与金属套环便形成一个电容器C。振荡电流自心线通过这电容器,加在由6K4П和6H1П组成的放大器的输入端(通过栅漏电阻R\(_{2}\))。这微弱的振荡电流,经过两级放大后,控制末级的毫安表。毫安表的满刻度电流以10毫安为适宜。

检查时应将软线从金属套环中穿过,如毫安表有一定的指示值,即表示有振荡电流自心线通过,这段心线未断。如毫安表没有指示,或数值突然下降很多,则表示心线断开了。连续地把导线从金属套环中穿过,注意毫安表的指示值,如在穿过某一点时,毫安表指示值突然降低,即表示该点是心线的开断点。(朱敏)