电子管电压表的输入阻抗高、输入电容小,测量时不致影响被测电路的工作状态,因此测量结果很准确。此外,还可以加装放大器提高测量的灵敏度;而且能测量几十赫到几兆赫的各种频率的电压,所以它是一种很有用的仪表。这里介绍一种适合无线电爱好者自制的电子管电压表。
一、电路原理
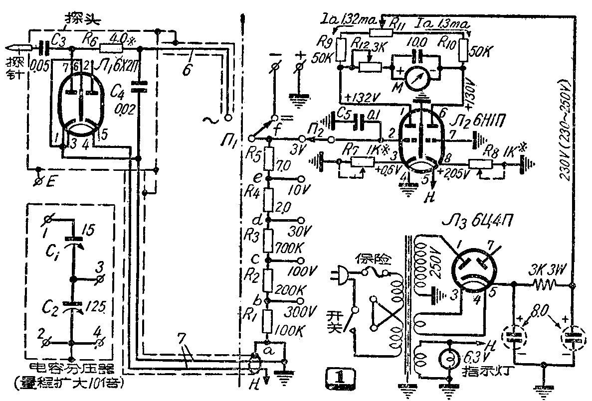
检波
图1中,用6Х2П的一组二极管将被测的交流电压检波,在直流负载电阻R\(_{1}\)到R5(分档分压器)上输出直流电压。

当被测电压正半周时,二极管导电,它的内阻远小于R\(_{1}\)到R6,故电容器C\(_{3}\)通过二极管充电。在负半周内,二极管不导电,内阻为无限大,电容器C3就通过R\(_{1}\)到R6放电。因为这些电阻的数值很大,在负半周内电容器C\(_{3}\)放电来不及放完,因此在这些电阻上面产生的直流电压降,其数值与被测电压的振幅成正比。
由于电容器充电是充到被测电压的峰值,所以测量的是电压峰值。
分档分压器
分档分压器的作用是将量程分档。它的计算方法如下:首先选定需要分作几档,例如本表设计为0~3伏、0~10伏等各档;然后决定分压器总的电阻值R(就是电压表的输入电阻),可以从5兆欧到20兆欧间选择。本表选用10兆欧。
分档分压器各分压电阻的值按下式计算:
R\(_{0}\)=En·RE\(_{m}\)。
这里:R\(_{0}\)是从分压器最下端(a点)到分压器某抽头(例如c点或d点)间的电阻值,以欧姆计;En是电表的最小量程的满度电压值(本表是3伏);E\(_{m}\)是某个量程的满度电压值。
现以本表分压器为例说明计算方法:
先计算分压器最下一档的电阻R\(_{0}\)1,也就是R1。R\(_{1}\)两端(a、b两点)间的量程电压Em1是300伏。所以
R\(_{0}\)1=R1=\(\frac{E}{_{n}}\)·REm1=3×10×10\(^{6}\);300=100千欧。
然后计算100伏档的分压电阻R\(_{0}\)2,也就是a、c两点间的电阻(R1+R\(_{2}\))。这时的量程电压Em2是100伏。所以
R\(_{0}\)2=R1+R\(_{2}\)=En·RE\(_{m2}\)=3×10×10\(^{6}\);100=300千欧。
于是R\(_{2}\)=R02-R\(_{1}\)=300-100=200千欧。
分压器其余各电阻可依同法计算。
为了使交、直流电压的量程一致,还应对图1中的R\(_{6}\)进行计算。因为前面二极管检波输出电压是峰值,是直流电压的1.414倍,所以还要串入电阻R6,使检波后的峰值电压降到与加给分压器的直流电压相等的有效值电压。峰值电压U\(_{最大}\)与有效值电压U有效的关系如下:
U\(_{最大}\)=1.414U有效。
而分压器分压电阻的关系应该和电压关系成正比,所以
R\(_{C}\)+R=1.414R
R\(_{6}\)=0.414R。
本表R选用10兆欧,所以R\(_{6}\)应采用约4兆欧。
电容分压器
由于6Х2П不能承受过高的交流电压,不能直接用探头去测量300伏和更高的电压。这就需要另加一个“电容分压器”来扩大量程。它由C\(_{1}\)和C2构成。由1、2两端子输入全部被测电压,从C\(_{2}\)上(3、4两端子)取出被测电压的一部分加给探头进行测量。电容分压器的计算方法如下:
设被测电压用U\(_{1}\)表示,加给探头的电压用U2表示。电压表输入阻抗的有功消耗很小,可以忽略不计。由于电容器两端的电压降与容抗成正比,所以
量程扩大倍数K可写成:
K=\(\frac{U}{_{1}}\)U2=C\(_{1}\)+C2;C\(_{1}\)=1+C2C\(_{1}\)。
假设我们要求量程扩大10倍,即K=10,那么由上式可求得
C\(_{2}\)=(K-1)·C1=(10-1)·C\(_{1}\)=9C1,
为照顾测量高频(可达30兆赫)时误差不致太大,1、2两端的输入电容应较小,所以C\(_{1}\)用在10~15微微法范围内。如C1用15微微法,则C\(_{2}\)=9×15=135微微法。还要考虑C上还并联有探头的输入电容,它包括6Х2П屏阴极间电容3.8微微法,以及元件与引线的分布电容总共约10微微法。故C2选用135-10=125微微法就够了。
C\(_{1}\)、C2可以用半可变电容器。C\(_{2}\)最好用一个固定的和一个可调的电容器并联,以便于调准。这两个电容器应有较高的品质因数,最好用损失小的陶瓷电容器。
假如所测电压的频率在150千赫以下 时,用电阻分压器也可以,计算方法与分档分压器一样。

加装电容分压器后,交流电压的量程将扩大10倍,例如П\(_{2}\)置3伏档,便可测量0~30伏的电压。
直流放大器电路
图1中虚线右边部分是直流放大器电路。在这部分将6Н1П的两组三极管连接 成平衡桥式直流放大电路,(也叫推挽式)。其实单有这部分,就已经构成了一个完整的桥式直流电子管电压表。如只要量直流电压,只装这部分也就行了。本表用开关Ⅱ\(_{1}\)倒换交、直流测量电路。在测量直流电压时,Ⅱ1倒在“=”位置;测量交流电压时,Ⅱ\(_{1}\)换到“~”位置。
当没有外加被测电压时,左三极管的栅极可以调到对地电位为零,而右三极管的栅极直接接地,也是零电位。由于两阴极电阻(R\(_{7}\)、R8)阻值相等,两个三极管阴极对地电位也是平衡的。另外,两个三极管屏路负载阻值也相等,且有R\(_{11}\)随时可调到两管屏压完全相等,所以两管的屏极电位也能平衡。这样便构成一个平衡的电桥电路。两管的内阻作为电桥的两臂;两屏极电阻R9、R\(_{1}\)0各加R11的一部分,分别作为电桥的另两臂。电桥平衡时,接在对角线上的电流表M便没偏转。电位器R\(_{11}\)用作电表零位调整。
当接上被测电压时,左三极管的栅极有了负压,改变了它的内阻,它的屏流减小,电桥便失去平衡,因而表针偏转。这偏转程度与被测电压成正比,所以达到了测量电压的目的。
这种电路的优点是受电源电压变动的影响很小,性能比较稳定。
两管的电阻R\(_{7}\)、R8,如阻值用得大会减低灵敏度,但能提高电表刻度的直线性。所以最好采用两个阻值接近的电位器代替,这样就能简便地调整电表的灵敏度。
在测量交流电压时,由于检波二极管有热放射电流(也叫起伏屏流),这电流在分档分压器上造成起始负压,在不同分压档这负压的数值大小不一,因此加给左三极管栅极的起始负压各挡不一致,但右三极管栅极的电位却一直不变,所以会在换档时使电路平衡状态变化。这就需要在每次例换到某档测量时,总要先调整一下R\(_{11}\),使达零位。假如能找到双刀五掷的转换开关,可以利用剩下的另一半6Х2П,与前一半对称地同样再装一组分档分压器,接到6Н1П的右栅极(管脚7)。这就可以做到两三极管栅极从各分压档上取得的起始负压相同,而各档的零点都一致,不用在换档时每次调整,但结构就要复杂了。
本电压表的电源可按普通两管机的电源电路装置。
二、装制方法
本表的表头可选用1毫安的。如能找到1毫安以下的表头,灵敏度还可提高,使电表的量程可小到0~1伏,或0~0.3伏;同时刻度的直线性也有所改善。
在测量高频时,为了避免干扰,检波部分要装在探头里。探头的制法参看图2。直流电压的输出线6,要用金属隔离线。6Х2П的灯丝电源线7,可用双心金属隔离线,其中一条心线是接地的,这样接是因为交流灯丝不走金属隔离皮要好些。
探针1用固定螺丝2装在绝缘板3上。探针可利用表笔上的铜针,或铜螺钉。绝缘板3可用瓷八脚管座的瓷板。
4是瓷质小七脚管座,装量时可将管座的铁卡片焊在屏蔽外壳8上。为了防止R\(_{6}\)与外壳相碰短路,应该把它整个放在绝缘套管内套好。滤波电容器C4应选体积小的,以减小探头的体积。
为了保证足够的分压电阻值10兆欧,支架5的绝缘必须很好,甚至不用支架,而直接连接。开关Ⅱ\(_{1}\)、Ⅱ2,甚至6Н1П的管座,都需要选用绝缘好的,如瓷质的。
E是测量交流电压时的一个接线端。
电容分压器可参考探头的装制方法,也装在一个金属屏蔽壳内。
在测量高压或50赫交流市电时,必须注意探头及电容分压器的屏蔽外壳也是被测交流电压的一端,因此需要在它们的壳外加装良好的绝缘套;或者将它们放在桌子上,另由它们接出两根测试线去测量。
检波二极管6Х2П可以用6Х6、6Н6、955、9002等管代替。放大管6Н1П可以用6Н7С、6Н8С、6SN7、6N7、6Н9С等双三极管代替,只要用试验方法改变图1中各打※符号的元件的数值,使表头能在3伏档指示满度即可。

图3、4为电压表的面板尺寸及各零件的排列方杂,供作参考。可以从“直流”电压测试孔引出两根线,去测量直流电压。探头引线则接入“交流”测试孔。
表箱和面板最好用金属板,使屏蔽良好,如没有材料,也可用木板做。
三、校准及刻度的画制

经检查线路装接无误后,接上电源,将电位器R\(_{11}\)放在中间位置。开关Ⅱ1倒在位置“= ”。分档开关Ⅱ\(_{2}\)转到3伏档。调整R11,使表针指零。用三节(4.5伏) 手电筒电池,按图5,甲电路接好。调整VR,使标准电压表V\(_{1}\)指示3伏。变更R7、R\(_{8}\)或R9、R\(_{1}\)0,使被校电压表指示满度。并在满度处画一短刻度线,注明3伏。接着,旋动VR使V1指示2.9伏,并在被校表指针所指位置画出2.9伏刻度线。再用同样方法画出2.8、2.7、2.6、……直到0伏的全部刻度线,将得到图6所示的下面一道刻度。

然后按图5,乙接法,把电源变压器6.3伏50赫灯丝电源引到电位器VR。开关Ⅱ\(_{1}\)搬向“~”位置。依照校刻直流刻度的方法核对一下前刻的直流电压刻度是否与现在送入的各交流电压数值符合一致。假如电路和元件没有毛病,一般不会相差太大。
假如没有标准电压表V\(_{1}\),就只能使用电池粗略地校刻了。这时仍然用图5,甲电路(V1没有),电池改用两节,约得3伏电压。将VR旋到最上头,调准被校电压表在3伏档指示满度,刻出3伏。然后改用一节电池,表针将指在满度的1/2处,这里可刻画为1.5伏。为了使刻度尽可能准确,可以多换几个电池试验,最后选用电压比较适中的电池作为刻画的依据。
然后将Ⅱ\(_{2}\)转到10伏一档,依次用一节、二节、三节……直到六节电池换入。则指针应指出1.5伏、3伏、4.5伏……直到9伏各指数,按照这些指数依十进等分,就能画出图6所示的上一条百分刻度。
最后再校验3伏档和10伏档在测同一电压时,两个读数是否相符。这时可用两节电池(3伏),将Ⅱ\(_{2}\)转到3伏档应指满度3伏,Ⅱ2转到10伏档,如果也指3伏处,表示两刻度相符。转动电位器VR,把电压调到2伏,再依同法看两刻度值是否一致。如不一致,应以3伏档的读数为准,重新调整10伏档的刻度值。同法再换几个电压数值校验,便得到一定准确度的刻度。
至于交流电压,也可找几个已知电压用同样方法校核。(栗新华)