上海无线电二厂生产的“飞乐”261-A型交流六灯三波段超外差式调幅收音机,小巧玲珑、外型美观,机箱设计有好几种颜色,以适合用户的不同喜好。该机各项零件与整机性能都经过严格的测试和检验,因此结构牢固,电性能稳定,在去年10月第三届全国广播接收机评比中荣获一等奖。
一、工作原理简述
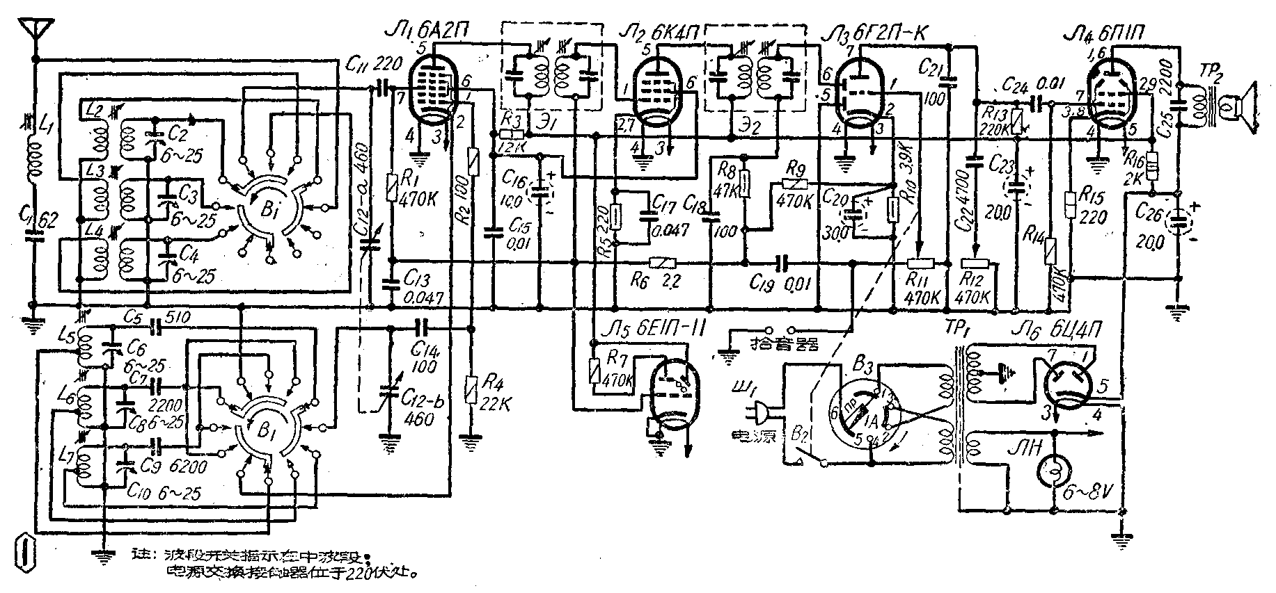
本机采用超外差式电路(见图1)。振荡部分每个波段均采用三点统调。用6А2П电子管作变频;6К4П作中放;6Г2П-К作检波、自动增益控制及音频电压效大;6П1П作功率放大;6П4П作电源整;流6Е1П-11作调谐指示器。音调控制采用连续式高音频削减方式(图中的C\(_{22}\)及R12)。本机采用110状或220伏、50~60赫单相交流电源。

本机在电性能方面均超过局标三级机标准,能经受高温、低温、潮湿、振动、冲击等环境考验。在天线输入电路中接有串联式陷波器,以增加中频波道衰减,阻止中频频率的干扰进入收音机。
高频部分的接线和一些容易受振动的元件都加以妥善的紧固或用胶水固着于底板上,因此有效地防止了高频机振。在6А2П和6К4П的帘栅极接入10微法和0.01微法退交连电容器,大大稳定了帘栅极电压,显著地降低了调幅交流声。在输出级阴极电路中还采用了电流负回授,以改善音质。
在元件安排方面做到尽量缩短接线长度,以减小分布电容,节约铜线和附加零件。为了增加牢固度,O.05微法以上的电容器都加装有固定夹。
本机采用飞乐4P6型100×160毫米高效率椭圆形扬声器(1瓦、3.5欧),不但提高了音质,而且使体积大为缩小。电源部分采用内藏保险丝(1安)的新式电源电压变换插子,确保了安全和使用方便。更换保险丝时,可用铝币转动胶木顶盖,保险丝管在缺口处即能跳出,更换后可将顶盖转回到需要的电压指示位置上。
二、主要特性指标
1.波段:中波:515~1700千赫;短波1:2.2~7.2兆赫;短波2:6~20兆赫。
2.灵敏度:中波在600、1000、1400千赫时分别为22、20、24微伏;短波在2.5、4、6、7、12、18兆赫时分别为28、24、26、50、52、38微伏。
3. 选择性:偏调±10千赫处的衰减为36分贝。
4. 假象波道衰减:中波1600千赫为32分贝;短波6、18兆赫均为16分贝。
5.中频波道衰减:30分贝
6. 自动增益控制:输入变化26贝时,输出变化6分贝。
7.拾声器插口灵敏度:130毫伏
8.额定输出功率:2伏安
9.交流声水平:-44分贝
10. 整机频率特性:在150~3500赫范围内声压不均匀度为14分贝,电压不均匀度为6分贝。
11.整机非线性失真:调幅度60%、额定输出功率时,输出声压的非线性失真系数在200~400赫内为8%;400赫以上为7%。输出电压的失真系数在200~400赫内为7%;400赫以上为5%。
12. 电力消耗:36瓦左右。
13. 机箱尺寸:360×200×190毫米。
14.重量:5.5公斤。
三、使用说明
左方中心小旋钮是带电源开关的音量控制器;外套大旋钮为音调控制器,向右转时为高音调,向左转时为高音削减而突出低音。右方中心小旋钮系作调谐电台之用;外套大旋钮为波段开关,在该旋钮旁边注有三点标志:上点为中波;中点为短波1;下点为短波2。
使用电唱机时,可将拾声器插头插入机后插孔中,同时应将电台调谐旋钮转到无电台信号处,以免干扰。当收音时须将拾声器插头拔去,否则将影响收音。
四、调整
.频率范围调整:
中波 短波1 短波2
频 率
600 1400 2.5 6 7 18
千赫 千赫 兆赫 兆赫 兆赫 兆赫
调节元件 L\(_{5}\) L6 L\(_{6}\) C8 L\(_{7}\) L10
2. 灵敏度调整:
中波:低频端调L\(_{2}\)的铁心;高频端调C2。
短波1:低频端调L\(_{3}\)的铁心;高频端调C3。
短波2:低频端调L\(_{4}\)的铁心;高频端调C4。(孟津)

