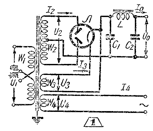
在有电子管的设备中,不但需要供给电子管屏极所需的直流电压,而且还要供给灯丝电流。因此所用的电源变压器,如图1所示,其次级通常由供给整流用的高压线圈W\(_{2}\)和灯丝线圈W3和W\(_{4}\)组成。初级线圈为了能适用于220伏或110伏的市电,可分绕成两组,当市电为220伏时串联,而110伏时则并联。整流电路通常是用双二极管Л组成的单相全波整流电路。为减小输出电压的脉动,在整流器的输出端还接有由电容器C1和C\(_{2}\)以及电感L组成的π形滤波器。

对于电源变压器设计的基本要求是:(1)获得所需电压。(2)变压器内部电压降不能太大,以免负荷变动时,引起输出电压有大的波动。(3)温度不能超过100℃~110℃,以免烧坏绝缘。(4)经济、省材料。要满足上述要求,设计时需要经过细致的计算和比较。但在业余条件下,为了简化计算和便于绕制,有些数据不得不取得保守一些。现将设计步骤分述如后。
(一)变压器功率怎样算
设计变压器时,首先需要知道各线圈所需电压与电流,以便计算变压器所需要的功率。
首先看整流部分,设所需直流电压为U\(_{o}\),直流电流为Io,则在采用电容器输入式滤波器的单相全波电子管整流电路中,高压线圈的电压有效值U\(_{2}\)和电流有效值I2与U\(_{o}\)和Io的关系,可用下面的近似公式表示:
U\(_{2}\)=(2~2.2)Uo
I\(_{2}\)=(1~1.2)Io
高压线圈所供给的功率则为
P\(_{2}\)=0.7U2I\(_{2}\)
系数0.7是考虑到高压线圈系分成两半,而每半个线圈只导电半个周期,由此通过线圈中的电流就有直流成分,该直流成分只使该线圈发热,但并不感应到初级,所以所需功率就较U\(_{2}\)I2要小一些。
灯丝线圈所需的电压和电流,按所使用的整流管及电子管丝极的需要来决定。其所需功率可用公式:P\(_{3}\)=U3I\(_{3}\), P4=U\(_{4}\)I4来计算。
因此变压器次级功率总和为:
P\(_{II}\)=P2+P\(_{3}\)+P3+P\(_{4}\)……
而变压器初级从交流电路所不用的功率为
P\(_{I}\)=PIIηT
式中,ηT为变压器之效率。
一般在业余条件下制作的小型电源变压器,当P\(_{I}\)<1OO瓦时,效率约为0.85~0.9。
初级电流I\(_{1}\)=(1.1~1.2)\(\frac{PI}{U}\)1
系数(1.1~1.2)系考虑了次级空载情况下,初级线圈中所存在的激磁电流。
(二)变压器铁心选多大

小变压器多使用如图2之EI形铁心,国产铁心规格如表1。

变压器的容量与铁心截面积S\(_{ж}\)及铁心窗口面积So的大小有关。铁心线圈所产生的感应电动势的计算公式为:
E=4.44fWф\(_{m}\)=4.44fWBm·S\(_{ж}\)
式中W为线圈的匝数、S\(_{ж}\)为铁心截面积、f为电源频率、Bm为铁心的最大磁通密度、ф\(_{m}\)为铁心最大磁通量(等于BmS\(_{ж}\))。从这个公式可看出,如f、W不交,选定Bm后,则增大铁心截面积S\(_{ж}\)时电势E将增加,也就是说在电流不变的情况下,变压器的输出容量将增大。同理,Sж减小,输出容量也减小。
至于变压器容量与窗口大小的关系,则可以这样理解,当S\(_{ж}\)m、W、f均不变时,窗口较大就意味着导线可以用得粗一些,从而在规定技术条件下(可增大变压器的输出电流,因而容量也可以增大。
在效率为0.85~0.9、电流密度为2.5~3安/毫米\(^{2}\)的范围内,可以用公式
S\(_{o}\)·Sж=\(\frac{1400}{Bm}\)P\(_{II}\)(厘米\(^{4}\))
来表示变压器输出功率与铁心截面积及窗口的关系。
式中最大磁通密度B\(_{m}\)的数值可以根据硅钢片的好坏及变压器容量的大小来选定。在业余设计中可采用下列值:
D310电工钢钢 11000~12000高斯。
D41,D42电工钢 10000~11000高斯。
黑铁皮 5000~7000高斯。
如不知道硅钢片牌号,则可以把硅钢片扭一扭,薄而脆的较好,厚而软的较差。
在有现成铁心情况下,S\(_{o}\)是已知值,从而可以根据上式求出Sж与铁心厚度B,或用来校验现成材料是否可以设计足够容量的变压器。
若无现成材料,则可初步假定S\(_{o}\)=Sж,那么,
S\(_{o}\)=\(\frac{\sqrt{14}00}{B}\)mP\(_{II}\),(厘米\(^{2}\))
根据所算出的S\(_{o}\),选定窗口大小和它相近的标准铁心,当铁心型号选定后,实际的So知道了,就可以和用现成的铁心一样,来求出S\(_{ж}\)与B。
计算铁心厚度B时,因为硅钢片上是有绝缘的,故须考虑一填充系数0.9,即B=S\(_{ж}\)/(0.9.Lo),计算出之B值应校核一下,若B/L\(_{o}\)=(1~2)可认为合适。
(三)每个线圈绕多少匝
依公式
E=4.44fW B\(_{m}\)·Sж·10\(^{-}\)8伏
代入f=50赫,则每伏匝数为
W\(_{o}\)=\(\frac{W}{E}\)=10\(^{8}\);4.44fBm·S\(_{ж}\)=4.5×105Bm·S\(_{ж}\)匝/伏
各个线圈的匝数,等于每个线圈的电压乘以每伏匝数,但需考虑到内阻抗压降△U的影响。可认为各个线圈的匝数:W\(_{1}\)= U1(1-△U%)W\(_{o}\),W2=U\(_{2}\)(1+△U%)Wo,W\(_{3}\)=U3(1+△U%)W\(_{o}\)……变压器容量愈小,△U愈大,容量愈大,则△U愈小。一般可取△U为2—5。
(四)导线如何选
在已知流过导线的额定电流I后,若选定导线的允许电流密度J,则
I\(_{H}\)=jS =j(πd\(^{2}\)/4)
因此导线直径d=\(\sqrt{4IH}\)/πj
若 j=2.5安/毫米\(^{2}\),则d=0.7\(\sqrt{I}\)\(_{H}\);
j=3安/毫米\(^{2}\) 则d=0.65\(\sqrt{I}\)\(_{H}\)。
计算出d后,再根据电磁线线规表选择线径与其相近的标准导线,并查出连同绝缘的直径d′。小变压器都用漆包线,只是在漆包线的线径不够大时,才采用纱包线或其他线。
(五)线包在窗口放得下吗
变压器各个线圈的绕法见图3。先绕初级圈,在初级圈外面再绕次级圈,在同一线圈的每层之间以及各个线圈之间,均需绕上绝缘层。

在铁心型号选定后,窗口高度h已经知道,因此绕制线圈的框架的长度也就等于h。为避免导线与铁心相碰,在线圈框架两端需各留出约5%不绕线,因而框架的有效长度为0.9h。
根据0.9h长度及每个线圈所用导线直径、线圈匝数及绝缘布置,就可求出每个线圈厚度C\(_{i}\)。
用W′\(_{i}\)表示每层可绕匝新,下标i=1, 2,3……以表示不同线圈,则
W′\(_{i}\)=0.9h/d′i,
需绕层数 D\(_{i}\)=Wi/W′\(_{i}\)。
囚此每个线圈所占厚度为:
C\(_{i}\)=Di(d′\(_{i}\)+β)+r
式中β为层间绝缘厚度,r为线圈间绝缘厚度。
层间绝缘在导线直径小于0.5毫米时,可采用0.05毫米厚的电缆纸一层,当导线直径大于0.5毫米时,则采用0.12毫米厚的电缆纸一层。若线径很小,则可采用0.006~0.008毫米厚的电容器纸二层。线圈间的绝缘r ,在电压不超过500伏时,可采用3层0.12毫米厚的电缆纸。
在电源变压器中还经常在初经线圈与次级线圈之间加一层厚度为0.05~0.10毫米的薄铜箔或薄铝箔,组成隔离层。隔离层的作用是避免从初级进来的无线电干扰通过静电感应传到次级。隔离层对初级线圈及次级线圈的绝缘,和线圈间绝缘相同。在没有铜箔或铝箔的情况下,可以用接地的灯丝线圈兼作隔离层,但该灯丝线圈的层数最好为一层,否则效果不太好。另外用导线绕一层当作隔离层以代替铜箔也可以。但隔离层必须注意不能短路,即铜箔两头不能相接触,否则变压器就没有用了。隔离层连接铁心的接地线,可用多股绞线。
因此,在计算初级线圈的厚度时,还要包括隔离层及其绝缘的厚度。
线圈框架多用青壳纸作成,其厚度B\(_{o}\)为1.5~2毫米。
最后计算出的总厚度
H=(β\(_{o}\)+C1+C\(_{2}\)+C3+……)(1.1~1.2)
必须小于铁心窗口宽度L\(_{1}\),式中(1.1~1.2)为安全系数。
如果验算结果,发现窗口太大或太小,则可适当减小或增大铁心厚度,然后再进行计算,直到合适为止。
(六)浸点漆,烘一烘
变压器在绕制时,不但要把绝缘垫平,导线排齐压紧,而且绕完以后,可以浸点漆,以加强绝缘,防止潮气。
浸了漆以后怎样烘干呢?可以把所有次级线圈短路,然后在初级串上一个两倍于变压器功率大小的灯炮,接到电源上,利用变压器本身的发热来烘干,当然要随时注意变压器的温度,别让它烧坏了。
最后让我们设计某五灯收音机所需电源变压器作为举例。假定电网电压为220代或110伏,电网频率50赫,输出直流电压U\(_{o}\)=220伏,直流电流Io=75毫安,灯丝线圈U\(_{3}\)=6.3伏,I3=0.6安;U\(_{4}\)=6.3伏,I4=1.8安。它的计算方法和计算结果列在表2内。(黄济清 谭楚梁)
