1.在长走廊的中间装一盏电灯。要在走廊的两头各装一个电门,都能够单独地开关这盏电灯。你能画出这个电路图吗?(工)
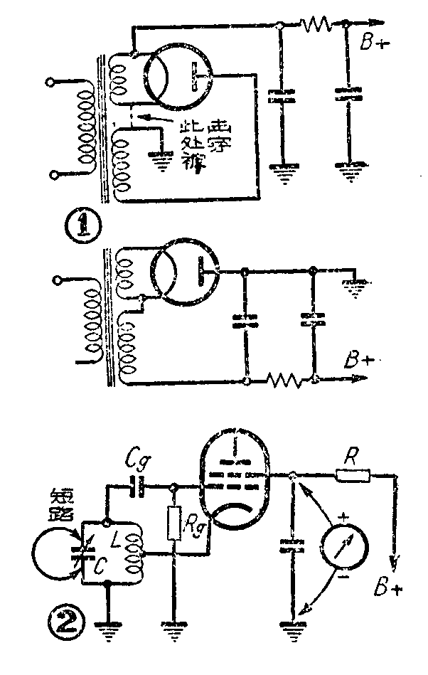
2.为了提高直流输出电压,将图1的整流电路改装成图2的整流电路,这样做行吗?(张冲)

3.小杨有一架超外差式5灯机,机后附有电唱插孔。他想用耳机代替话筒,使收音机喇叭发出声音。但是当接有耳机的塞子刚插入大半时,耳机内却有电台播音声,当塞子全插进去将耳机当话筒用时,播音声又没有了。这是为什么?(张雄才)
第5期“想想看”答案
1.因为五极管的放大系数μ较大,可以在电路中得到高的放大倍数;同时屏极和栅极间的电容C\(_{ag}\)小,因而可提高收音机的稳定度,不致在电路中引起自激而影响收音机的工作。
2.照图1那样改动,即可使收音机正常工作。

3.把电压表跨接在变频管的帘栅极(相当于振荡部分的屏极)和地之间(图2),表上即有一读数。这时用导线将振荡回路电容器C短接一下。如果电压表的读数减小,就表示振荡器是在振荡,如果读数不变,就表示没有振荡。因为在振荡时,电子管有栅流,在栅漏电阻R\(_{g}\)上产生负偏压使帘栅极电流减小,R上的电压降减小,帘栅压就较大。如果把回路电容C短路使振荡停止,Rg上的负偏压消失,帘栅极电流增大,R上的电压降增加,因而帘栅极电压就减小了。如果根本没有振荡,在将电容C短路时,帘栅压当然是不会发生变化的。