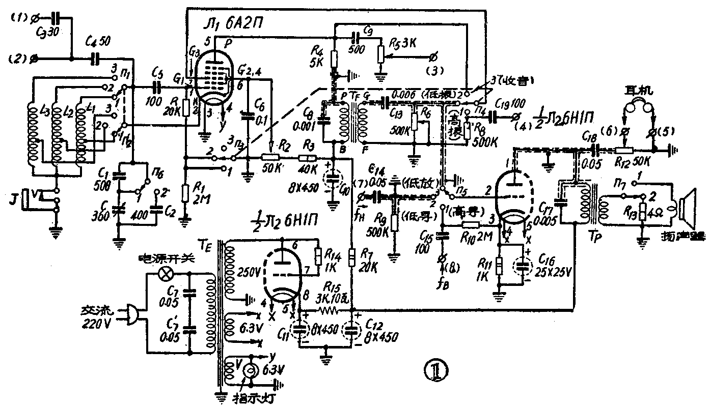
一、线路原理及使用
在图1线路中,当各开关转到不同位置时,将得到各种不同用途的电路,现分别说明如下。

1.低频信号发生器
将开关分别转到下列位置:П\(_{3}\)П4→2;П\(_{2}\)→3;П7→2;其它任意,便得到图2所示电路。这是一种由电子管Л\(_{1}\)和音频变压器TF等构成的变压器回授式低频振荡电路。调节R2,可以改变帘栅极电压,从而控制振荡的强弱。振荡频率用R\(_{6}\)或C13来调谐。

振荡信号由Л\(_{1}\)的屏极输出,经TF交连到Л2的半边三极管进行放大后,从接线柱(5)(6)输出,调节R\(_{12}\)可控制输出的大小。
Л\(_{1}\)屏极电路中R4的阻抗比TF初级线圈的阻抗小得多,C\(_{9}\)、R5对音频的短路作用也不大,因此可以不考虑这些零件的影响。
2.电码练习器
开关位置同上。将电键插入插孔J内,当电键按下时,Л\(_{1}\)的阴极电路接通,遂有音频振荡,电键放开时,阴极K与地断开,振荡停止。振荡信号经\(\frac{1}{2}\)Л2放大后由扬声器放出(开关П\(_{7}\)→1)供多人收听;如仅需一人收听,可将耳机接到接线柱(5)(6),此时开关П→2,输出变压器次级线圈与扬声器断开,换接到一负载电阻上。声音大小用R12来调节。
3.高频信号发生器
等幅信号发生器П\(_{1}\)П2→1、2或3;П\(_{3}\)П4→1;П\(_{6}\)→1,其它任意。等效电路见图3。

由电子管Л\(_{1}\)与振荡器回路L1C(或L\(_{2}\)C,L3C)等构成一高频振荡电路。第一栅极G\(_{1}\)的栅漏电阻R1被短路,只剩下R,于是Л\(_{1}\)处于振荡工作状态。调节R2改变帘栅极G\(_{2,4}\)的电压,从而控制振荡的强弱。
从负载电阻R\(_{4}\)得到放大的高频振荡信号,通过C9,R\(_{5}\)输出。由于TF初级线圈的分布电容及旁路电容C8对高频的阻抗很小,其作用可忽略。
高频振荡共有三个波段,用开关П\(_{1}\)П2转换。П\(_{1}\)与П2是波段开关的两个刀,转动时一齐转到1、2或3,就使得振荡频率在下列三波段内变换:
第1波段:7~22兆赫(П\(_{1}\)П2→1)
第2波段:2~7兆赫(П\(_{1}\)П2→2)
第3波段:550~1650千赫(П\(_{1}\)П2→3)
当П\(_{6}\)→2时,C1、C\(_{2}\)加入谱振回路中,可使波段得到扩展,本机所用C1、C\(_{2}\)能使第三波段的低频端延伸到400千赫,从而产生出465千赫的中频信号。
高频信号可以从栅极经接线柱(1)(5)输出(第1、2波段);以及经接线柱(2)(5)输出(第3波段)。从栅极输出的振荡波形较好,但信号弱,且负载对谐振频率的影响大,故不常用。最好是从屏极输出,即从接线柱(3)(5)输出,输出大小可由R\(_{5}\)来调节。这时波形不够好,谐波成分多,但信号强,受负载影响小。
当负载阻抗很高时可从栅极输出;而一般测试中从屏极输出比较合宜。
G\(_{3}\)空置不用,为防止在工作过程中积留电子,故加栅漏电阻R8。
调幅信号发生器 П\(_{1}\)П2→1、2或3;П\(_{3}\)П4→2;П\(_{5}\)离开3;П6→1;其他任意。等效电路是上述低、高频振荡电路的组合。此时在Л\(_{1}\)内同时时行着两种振荡,分别由G1与G\(_{3}\)担任高频与低频振荡栅极,通过电子流的偶合,使高频振荡的幅度受到低频振荡的调制,从而在R4上得到调幅的高频信号,由接线柱(3)和(5)输出。调节R\(_{5}\)可控制输出的大小。
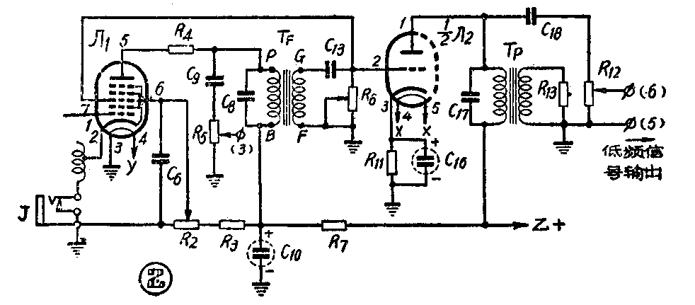
4.频率计
П\(_{1}\)П2→1、2 或3;П\(_{3}\)П4→1;П\(_{5}\)→3;П6→1;П\(_{7}\)→2;其他任意。等效电路见图4。

待测频率为f\(_{x}\)的等幅高频信号由接线柱(4)(5)输入C3,与本发生器的高频信号(频率为f\(_{г}\))在Лl内混频后,所产生的各种频率中只有我们所需要的差频f\(_{г}\)—fx能通过T,并被12Л\(_{2}\)放大后送到耳机,其他成分因为频率高均被C8旁路掉。结果在耳机中将听到差频的声音。当f\(_{г}\)与fx逐渐接近时,耳机中的音调由高变低,到最低点将听不到声音,在这一点差频为零,这时f\(_{г}\)=fx。调节电容器C到无声点,则本机刻度盘上指针所指读数就是待测频率f\(_{x}\)的数值。
5.再生式收音机
П\(_{1}\)П2→1、2或3;П\(_{3}\)П4→3;П\(_{5}\)→3;П6→1;П\(_{7}\)→1或2;其他任意。这时R1接入栅电路,因R\(_{1}\)》R,故使Л1处于“栅极检波”工作状态,用12Л\(_{2}\)做低放,这样便组成一个两管再生式音机电路。调节R2改变G\(_{2,4}\)的电压可控刺再生力强弱。
G\(_{3}\)此时接到屏极P上,加大屏极输出,提高音量。
在收听短波(第1、2波段)时,天线接到接线柱(1);收听广播段(第3波段)时,接到接线柱(2)。
R\(_{6}\)起调节音量的作用。R4、C\(_{9}\)、R5的作用近似于高扼圈及电容组成的高频滤波器的作用。
6.信号寻迹器
低频信号寻迹器П\(_{5}\)→2;П7→1或2,其他任意。总线路中只剩下一级低频放大和电源,其它部分不参与工作。频率f\(_{H}\)的低频信号由接线柱(7)输入至\(\frac{1}{2}\)Л2的栅极2。R\(_{12}\)可调节音量。
高频信号寻迹器П\(_{5}\)→1;Л7→l或2,其他任意。所得等效电路与上述相似。此时机极电阻R\(_{1}\)0直接接阴极,是为了不让R11的阴极自给偏压加到栅极上,R\(_{1}\)0很大,故Л2的半边三极管此时位于“栅极检波”工作状态。高频调幅信号(f\(_{в}\))由接线柱(8)输入。
在作信号寻迹用时,本机的振荡部分还可以同时独立工作,两者互不相干。
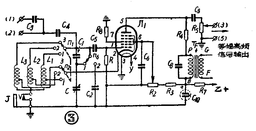
7.电容、电感测试器
电容测试器П\(_{1}\)П2→1、2或3;П\(_{3}\)П4→2;П\(_{5}\)→1;П6→1,П\(_{7}\)→1或2;其他任意。等效电路见图5。

设欲测电容器的容量为C\(_{x}\),将已知电感量的线圈L与Cx并联后,接到接线柱(5)(8)。用一根软线一头接(3),另一头移近L,或在L上绕一圈,则本机产生的调幅信号通过这种“弱偶合”加到LC\(_{x}\)回路。
调节可变电容器C改变f\(_{г}\),当fг调到等于LC\(_{x}\)回路的谐振频率f时,则引起谐振,谐振电压通过\(\frac{1}{2}\)Л2的检波放大,在耳机中将听到最强的低频信号声音。这时本机的频率刻度盘上的读数f\(_{г}\)就是f,因此可从下式算出要求的Cx:
C\(_{x}\)=\(\frac{1}{(2πfг)}\)\(^{2}\)L
为测试方便起见,可预先计算出已知L下的f\(_{г}\)~Cx曲线,这样实验确定f\(_{г}\)后,可以马上由曲线查出Cx之值。
电感测试器 方法全同电容测试,只不过是将L换成已知电容C,而根据f\(_{г}\)来求得未知电感量Lx罢了。
二、零件选择
线圈 采用市售超外差式三波段线圈中的输入回路线圈(振荡线圈不用),将初级拆去,只用次级。
抽头位置并无严格规定,若由“近地端”算起,中波约抽在1/8~1/6的地方,短波约抽在1/5~1/4的地方。
电容器 凡在高频工作下的电容,最好采用云母或陶瓷介质的,以防高频损失过大而影响振荡强度及稳定。其他可选用纸质的。
波段开关 П\(_{1}\)П2与П\(_{3}\)П4可选用一般市售四刀三掷波段开关。为防止接触不良,可将每两刀接在一起成一刀,并将其各对应触点两两并连,于是四刀三掷即变为二刀三掷。П\(_{5}\)可用矿石机的“分线器”代用,不过注意,安装时应在螺母与底板间加装绝缘片,使旋柄与底板绝缘。
变压器 TF为1:3的低频变压器,若不易购得时,可取配合输出管3Q5的输出变压器一只(配合6V6管的也勉强合用),将次级拆去,用0.1毫米漆包线绕1,200圈做初级,原有的初级圈用作TF的次级。
Tp可以用配合3Q5管的输出变压器代用。若用6V6管输出变压器时,可将其次级拆去13圈,以配合6H1П所需之10,000欧负载阻抗。
TE为三灯收音机用电源变压器。
三、安装与焊接
各主要零件在底板和机壳上的位置,以及各处的尺寸请看封三所示之结构图。外壳必须用金属壳。频率调谐采用缓旋式,与一般收音机上装法一样。在电容器旋轴上固定一根由铁片弯成的指针。刻度盘用两根铁条固定在底板上,位于拉线盘前面。若采用半透明塑料板做刻度盘时,还可在刻度盘后装二指示小灯(6.3伏)。
在面板上开有扇形的窗口,安上一块玻璃或透明板,使刻度盘露出。
焊接时要注意下列各点:
1.高频部分接线要短而粗。零件安排要紧凑,但又要防止不需要的偶合。
2.公共地线应用一根粗铜丝,越直捷越好,不宜在底板上往复盘旋。千万不能用机壳本身做地线,因在高频时,铁壳电阻损失极大,往往造成谐振回路的Q值降低,影响振荡的强度及稳定。
3.三个线圈与波段开关距离越近越好。由线圈到电容器、插孔J,以至地的接线应当短粗。
4.低频部分的某些接线最好用隔离线(图中线旁加虚线的线段),以避免干扰。
5.Л\(_{1}\)与Л2的灯丝最好分别供电,如公用一组电源,灯丝线圈一端要接个0.1微法的电容器到地,以防止交流声。
C\(_{7}\),C'7是防止调幅交流声用的。
四、检查与调整
低频振荡П\(_{3}\)П4→2;其它任意。用耳机串联一只0.01微法电容器,一端接TF的“p”端,另一端接地。将R\(_{6}\)旋到中点位置。开启电源开关,右旋R2,加大帘栅压到某点应听到音频振荡声。如听不到,可再加大C\(_{2,4}\)的电压,或将TF的“p”与“в”两接头对调一下试试,经过上述调整,一般讲是会起振的。
调节R\(_{6}\),则音调会发生变化,可由最低到最高试之,如嫌整个“音阈”过高或过低时,可以改用大些或小些的C13,一般可以在0.001~0.01微法之间选择。在无线电测试中常采用400赫或1000赫两种频率,故希望本机音频振荡范围内能包括这两个频率。
频率校准方法是用另一台标准音频信号发生器,将它发出的400赫声音与本机输出音频相比较,调R\(_{6}\)至这两个声音的音调一致,则此时R6旋钮所指刻度应为400赫。1000赫及其它频率的校准可依同法进行。这种发生器低频振荡频率的稳定度比较差,频率刻度也只能表示大致数值。
高频振荡 检查高频振荡时,只要检查调幅波,若调幅波振荡正常,等幅振荡也就没有问题。
先利用广播波段来检查。将各开关转到产生高频振荡的位置。利用一架三波段收音机。由接线柱(3)引出一根软线与收音机天线接近,或串一几十微微法的电容器后与它相连。旋动C(或收音机的频率调谐旋钮),到二者频率相同时,在收音机内必可听到调幅低频的声音。然后再旋动R\(_{6}\),如果收音机中也有相应的音调变化,就可证明振荡部分工作正常。
然后,将C由最小旋到最大,检查是否能在整个波段内“全盘起振”。再旋动R\(_{5}\),检查输出大小的调节是否有效。
短波振荡部分可依同法检查。
然后,再进一步作频率的校准,一般有下列几种方法:
(1)用收音机校准:开启一架刻度比较准确的三波段收音机,依上述方法用收音机接收本机所产生的调幅高频信号,并根据收音机刻度盘上读数标出本机刻度盘上各点的数值。
这种方法简便易行,但因为收音机刻度盘不是很准确,所以准确性很差。
(2)用频率计校准:将本机发出的等幅高频信号由接线柱(3)(5)输出接到一标准频率计,根据频率计的指示校准之。
(3)用标准信号发生器校准:调节各开关使本机处于“频率计”的工作状态,然后将标准信号发生器发出之高频信号由接线柱(4)(5)输入到Л\(_{1}\)的G3,用差频法根据标准信号发生器的刻度数值校准。
以上(2)、(3)两种方法比较麻烦,且需有标准仪器设备,但结果精确。
广播波段以下的中频展阔段可根据它的二次或三次谐波来校准。
再生式收音电路和低放整流部分的调整和检查与一般收音机相同,故从略。
本机应用了较少零件而能提供多种用途,这是它的优点,但也因此而使设计有很多不够完善之处,例如高、低频波形均非正弦形,谐波多,调幅度不能改变(甚至会有过调幅),以及其他种种缺点。但对一般业余爱好者的要求来讲,影响并不大。最后,作者希望与大家共同进一步研究试验,使本机有所改进。(张希源)