在无线电设备中,常常利用各种耦合电路来传输能量。图1就是常见的电感和阻容耦合电路,它们通过电感或电容的耦合,将初级电路的交流能量传输到次级电路中去。

可是在实际电路中,信号除了按着我们所设计的耦合电路传输以外,还可能通过各级电子管公共电源的内阻,或是线圈和接线电感以及电子管极间电容、杂散电容等使各级电路之间,造成一些不需要的耦合,由于电能回输而引起自激振荡,这样就使无线电设备产生很多杂声,如哼声、汽船声、哨叫声等。为了避免这种不必要的耦合,除了采取远离和屏蔽的办法以外,在放大器和收音机中经常采用去耦滤波电路,来避免各级电子管由于使用公共电源而产生的耦合。
在图2甲中,乙电池B同时供给Л\(_{1}\)、Л2两个电子管的屏极。两个电子管的屏极电流都通过电池B,但电池有内阻,所以Л\(_{1}\)、Л2两个屏极电路就由于这个共同电阻(电池内阻)而产生耦合,如图2乙所示,Л\(_{2}\)的交流屏流通过电池B时产生交流电压降,这个交流电压传递到Л1的屏路时,就会使整个放大电路产生不正常现象。为了避免这种耦合,在电池旁并联一个电容器C\(_{в}\),由于Cв有足够的电容量,它对于交流屏流的阻抗极小,因而在它上面所产生的电压降也小,如果电容量极大,容抗接近于零,就相当于将电源内阻短路,两个电路之间的耦合也就不存在了。因此这个电容器C\(_{в}\)就叫做去耦合电容器。这种电路在直流收音机里常会遇到。

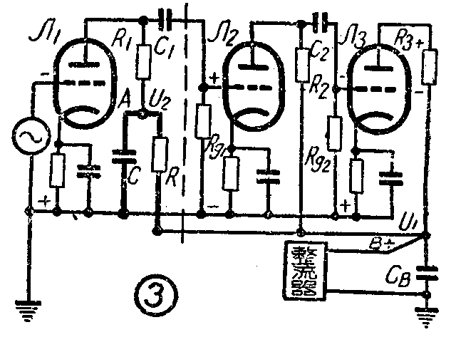
在放大级数多的机件里,除采用象图2甲的去耦合电容器外,常另加RC组合的去耦滤波电路。下面就用多级低频放大器为例,来说明去耦电路的作用和它的设计方法。图3是一个三级阻容耦合低频放大器的电路,图中的R、C就是起去耦作用的。在这个电路里,三个电子管也是合用一个乙电源。因为末级的输出电能已相当大,虽然在整流器的输出端一般都是并联有较大容量的电容器C\(_{B}\),使电源的内阻抗减低,可是末极输出的较大电流仍能在这很低的阻抗上产生相当的电压降,而且这个阻抗\(\frac{1}{2πfC}\)в是随着频率f而变化的,频率愈低,电容器的阻抗愈大,因此在电源内阻上的低频压降就比较大。同时从电路图中我们可以看出,假设加在Л\(_{2}\)栅板上的瞬时信号电压为正半周(上正下负),经过Л2放大输出后的电压与输入电压反相,这个电压加到Л\(_{3}\)栅板上再经过一次放大倒相,那么Л3屏极输出的信号电压也将是正半周,这个交流信号在电源内阻上的压降通过R\(_{1}\)、C1、R\(_{g1}\)回输到Л2栅极上时,与原来输入信号的电压相位是接近相同的(实际上并不一定完全同相,因为上面讨论为方便起见,忽略了C\(_{1}\)、C2、C\(_{B}\)等电容器所产生的相移),也就是产生正回输,如果回输的电能足够大,就会产生自激振荡。上面说过低频信号在公共电源内阻上所产生的交流压降比高频大,所以低频段更容易产生自激振荡。加入RC去耦电路以后,情况就不同了。R、C是跨接在电源内阻的两端的,由于在设计上,我们使电容C的容抗1;2πfC远小于电阻R,因而电源内阻上的交流电压降(U1)绝大部分都降落在R上,也就是说通过R后有很大的衰减,到达A点后,在电容器两端的交流电压(U2)已经很小了,再通过R\(_{1}\)、C1、R\(_{g1}\)回输到Л2栅极时,已经小到不能产生自激的程度,就达到了去的目的。在Л\(_{2}\)和Л3所组成的两级放大器里,输出的信号电压通过公共电源内阻回输给Л\(_{3}\)栅极的电压相位和Л3的输入信号电压相反,不致产生自激,所以在Л\(_{2}\)的屏回路里可以不加去耦电路。

公共电源上的交流电压U\(_{1}\),通过衰减后,在C两端的电压为U2,如取U\(_{2}\)与U1之比的滤波系数K,则与被衰减电压的频率f以及RC有着下面的关系:
=1\(\sqrt{1}\)+(2πfRC)\(^{2}\))×100%
从公式里可以看出RC的乘积(也称时间常数)愈大,则K愈小,因此RC的乘积愈大愈好。另外频率f愈高,K也愈小,也就是得到的衰减愈大,因此去耦\(_{电}\)路R、C的值如果是按照所需衰减的最低频率设计的,对低频有足够的衰减,不产生自激,那么高频就更不会产生自激了。
设计举例:例如我们需要将公共电源上30赫的交流电压,经过去耦电路后,使U\(_{2}\)=0.1U1,通过上式计算,RC之积应为0.052,若R取5.2千欧,则C取10微法,若R取2.6千欧,则C取20微法。

为满足一般的使用,可以利用图4查出RC之积。例如设计K=\(\frac{U}{_{2}}\)U1=10%,f=100赫,可查出RC≈16,若R取1千欧,C则取16微法,R取2千欧,C则取8微法。
应该指出,若R值取得太大,则直流消耗大,且降压大;如C选得过大,体积大,价格贵,也不适宜。一般低频放大器去耦电路中所用的R约为几千到几万欧,C约为几到十几微法。

在具有多级中放或高放的收音机里,为了避免各级间通过公共电源电路的耦合,也都要采用RC去耦电路。图5就是收音机具有两级中放的电路。Л\(_{2}\)、Л3是两级中放管,R\(_{1}\)、C1和R\(_{4}\)、C5分别组成去耦电路,它的原理和低频放大器中所采用的去耦电路是相同的。不过由于所滤除的信号频率比低频放大器为高,因此RC的乘积选用得比较小一些,一般R用1~5千欧,C用0.01~0.1微法即可。0.1微法的电容对500千赫的容抗只有3.2欧,已可使高频顺利地傍路了。(江枫)