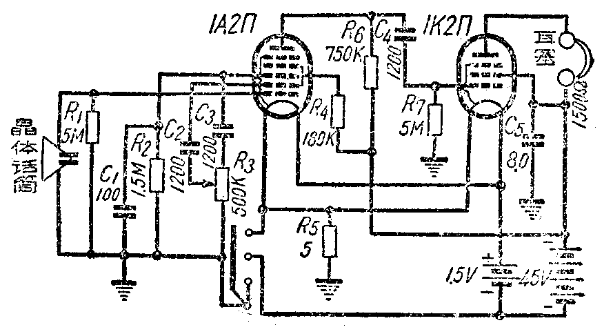
上图所示为一个直流助听器电路。它由国产小型管1A2П和1K2П装成。1A2П用作话筒前置放大,调节电位器R\(_{3}\),可以调节回授的大小以控制音量。1K2П屏极电路中的听筒可采用青年牌耳塞(阻抗1000~1500欧)。电源使用1.5伏(A电)和45伏(B电)干电池各一节。A电可用20小时左右,B电约用100小时左右。这架助听器效果良好,制作简单,业余爱好者大都可以做到。(黄海根)

直流助听器
上图所示为一个直流助听器电路。它由国产小型管1A2П和1K2П装成。1A2П用作话筒前置放大,调节电位器R\(_{3}\),可以调节回授的大小以控制音量。1K2П屏极电路中的听筒可采用青年牌耳塞(阻抗1000~1500欧)。电源使用1.5伏(A电)和45伏(B电)干电池各一节。A电可用20小时左右,B电约用100小时左右。这架助听器效果良好,制作简单,业余爱好者大都可以做到。(黄海根)
