原纤维性变消除机是一种医疗设备。借助于这个设备,可以使心脏摆脱人在触电和进行心脏手术时经常发现的原纤维性变状态。消除原纤维性变是利用电容器放电所获得的短暂高压电脉冲来施行的。当人触电时,就利用电极将这些脉冲加到人的胸廓。这时必须把脉冲的持续时间严格控制在0.01秒。在仪器中必须使电容器能够平稳地充电。在每一种个别情况下,电容器的充电应在一定电压下进行,这个电压的大小取决于放电对象(人体)的电阻,电压的数值可由千伏计上读出。
此外,仪器的构造应保证操作便利、简单和迅速,尽可能地避免错误使用的可能性。因为在原纤维性变开始发生后3~4分钟,病人就已临近死亡了,所以这些要求是十分必要的。在使用这一设备时保证安全,也是一个很重要的条件。
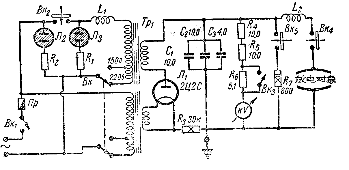
上述设备可按所示的电路图装配。为维持心脏正常工作所需的适当形状和持续时间的脉冲由电容为24微法的电容器(C\(_{1}\)+C2+C\(_{3}\))通过电线圈L2(0.266亨)放电而得到。也可以用其他的电容器组合来得到所需的电容量,只要这些电容器的总电容量等于24微法,并且耐压能大于6000伏就行了。在装配时,要考虑到电容器总电容量的改变将会引起脉冲持续时间的改变。

从图中可以看出,电容器是用由二级整流管Л\(_{1}\)(2Ц2C)构成的整流器来充电的。整流器上的电压由两个单独的变压器供给:第一变压器Tp1,输入电压150—220伏,输出电压6000伏,接屏极电路;第二变压器Tp\(_{2}\)则接灯丝电路。使用两个变压器是为了符合安全的要求。特别应该注意变压器线卷间的绝缘质量。
高压变压器用截面积为15平方厘米的Ш形铁心。它的初级线卷是用直径0.6毫米的耐久漆包线绕600圈,并在450圈处抽一个头,供150伏输入用。次级线卷用0.16毫米直径的耐久漆包线绕13500圈。灯丝变压器也用Ш形铁心,截面积为6.5平方厘米,它的初级线卷用直径0.24毫米的耐久漆包线绕1760圈,在1200圈处抽一个头。次级线圈用直径0.6毫米的耐久漆包线绕21圈。以上所有线圈最好都用石蜡浸制。
和变压器Tp\(_{1}\)的初级线圈串联接入线圈L1(0.213亨,电阻57欧)以限制充电电流。
当按钮Bk\(_{2}\)闭合时,监察电容器充电的指示氖灯Л3便开始作用;氖灯Л\(_{2}\)则用来监察市电电压。和这两个氖灯串联的电阻,其大小取决于氖灯的点火电压。
为了保护二级整流管和使电容器平稳充电,在整流器的阴极电路中接入电阻为30千欧的R\(_{3}\)(10瓦)。R4、R\(_{5}\)、R6电路组成分压器。千伏计的量程(0到3000伏和0到6000伏)用开关Bk\(_{3}\)来确定。
在电容器放电电路中接入线圈L\(_{2}\) (0.266亨)。它是一个有可调空气隙的扼流圈,以便于调节电感。按下按钮Bk4时,电容器便开始在放电对象(人体)上放电。在必要时可按下按钮Bk\(_{5}\)以除去电容器的放电电荷。
整个设备的控制机构及指示器都装在面板上(包括:充电按钮、指示灯、微安计、开关、放电按钮、量程转换开关、塞绳插孔、地线接线柱等等。
电级是用镀镍薄钢板制成,其形状为平板状,并附有绝缘把手。电极能从电缆上取下,以便在动手术时进行消毒,因此绝缘把手要用耐高温的材料来制造。
原纤维性变消除机在接通电源前必须妥当接地。应当时刻记住:它的一个电极是和机壳相连,这个电极永远要接地。这个设备最好附一个相应的说明书。
编者按:原纤维性变消除机和其他电气医疗设备一样,只有在懂得运用这一设备的医师的监督和最严格地遵守安全技术的条件下才可以使用。 (曹松生译自苏联“无线电”1961年第5期)