在现代生理学和医学的实验和诊断中,广泛地使用着能产生具有各种不同宽度、频率、波形和幅度的脉冲电流的电子仪器,可用来测定易变性、综合值、时值、强度时间曲线,用来进行肌肉的诊断刺激和治疗刺激以及电催眠等。
下述仪器可得到不同极性的有节奏的矩形脉冲或指数脉冲,其频率可连续地由0.25赫变到2000赫。脉冲宽度可在0.02~200毫秒内连续调整。在负脉冲时,其振幅可连续地或阶跃式地在0~250伏内调整,正脉冲时可在0~15O伏内调整。脉冲频率、宽度和振幅的调整是互不相关的。
此外还能产生不同极性的、宽度和振幅可以连续变化的单个矩形脉冲,以及电压由0~300伏的直流电。
仪器电路比较简单,没有特殊的零件,可在任何实验室内制造。

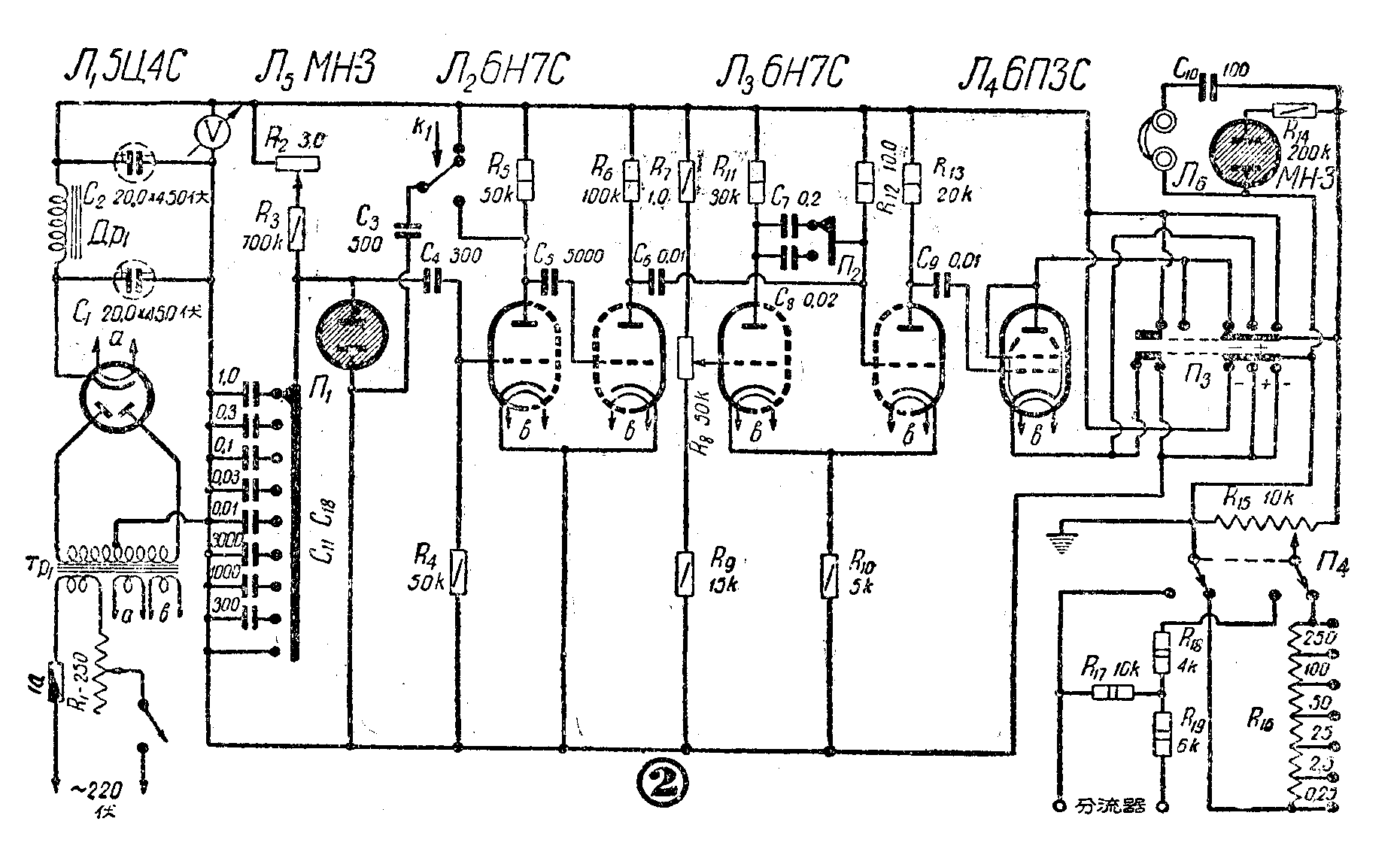
仪器方框图及主要波形图如图1所示。装有MH—3型氖管(图2中的Л\(_{5}\))的张弛振荡器1产生后沿陡峭的锯齿形脉冲(曲线a)。
RC积分电路把它变成短时脉冲(波形图б),以后被放大器2放大(波形图B)。脉冲在放大后进入触发线路3,触发线路在此脉冲作用下产生矩形脉冲(波形图τ);放大器4再把它放大到所需要的值。

仪器的原理电路如图2。用转换电容器(转换开关П\(_{1}\))的方法实现频率的阶跃变化,用变化电阻R2的方法实现频率的连续变化。要得到单个脉冲时,可将氖管短路,将振荡器断开。
脉冲放大器是推挽式的,用6H7C型电子管Л\(_{2}\)装成。此电子管的第二个三极管没有栅漏电阻,这样便可获得极短时脉冲。在“单个脉冲”位置时按压按钮K1,电容器C\(_{3}\)的放电电流即加到第二个三级管的栅极而被Л2放大。
下一级用6H7C型电子管Л\(_{3}\),其工作如下:起初,第一个三级管由于阴极电阻上的电压降而封闭,而第二个三级管通流。这种状态是稳定的,它可继续到任意长的时间。当把负脉冲加到第二个三级管的栅极时,第一个三级管通流,第二个三级管封闭,即转入不稳定的状态。电路处于不稳定状态的时间主要决定于电容C7(C\(_{8}\))和第一个三级管栅极的电位。随后发生第二次跳变,电路又回到原来的稳定状态。
正的矩形脉冲由第二个三极管的屏极负载输出,其宽度等于电路处于不稳定状态的持续时间。转换电容C\(_{7}\)—C8,可以阶跃式地改变脉冲宽度;要使脉冲宽度连续改变时,则用电位计R\(_{8}\)。电阻R9的大小在调整和定标度时选定。
正脉冲由电子管Л\(_{3}\)的屏极加到末级电子管Л4的栅极,这个栅极也没有栅漏电阻。极间偶合电容器由于栅流而充电,于是电子管封闭。只有在脉冲输入时,电子管才工作。负载电位器R\(_{15}\)可用转换开关П3接入电子管的屏极(这时输出脉冲为负)或阴极(这时脉冲为正)。П\(_{3}\)转到最右位置时,在电位器上加有已整流的电压。用同一个转换开关,根据脉冲极性的不同,使已整流的电压的正极或负极接地。这是为了使患者与仪器外壳有相同的电位。输出指示器是用的耳机和氖管。
仪器由300伏整流器供给电源,用的是一般的电路,电源变压器可以用任意的结构,功率为60~70瓦。屏级电压用磁电式仪表监测。在电源变压器初级线卷的电路中接一变阻器,用以调节电源电压。
若对频率稳定性和脉冲宽度提出特别严格的要求,则氖管振荡器和触发电路的电压可用СГ—4型稳压管加以稳定。
矩形脉冲能变换为按指数规律增长和下降的脉冲。为此在输出端联接一积分电路(图3)。

根据RC电路的时间常数的不同,可得到或大或小的增长陡度和下降陡度。
本仪器利用示波器和声频振荡器来划定标度。
在低频上定标时可利用秒表,在高频时则采用跟声频振荡器频率相比较的方法,为此将声频振荡器的信号加到示波器的水平输入端,刺激器的信号加在垂直输入端,而在荧光屏上即可观察到一些特殊形状的李沙育图形(图4)。

在定宽度的标度时,接通示波器的扫描信号发生器,并使其频率跟声频振荡器频率同步。将刺激器的信号加在垂直输入端,以观察脉冲宽度占扫描周期的几分之几。
定振幅的标度时,首先要确定示波器的灵敏度,为此在垂直输入端加一已知大小的交变电压Y(例如100伏),并记下电子束的偏转X(如50毫米),这时灵敏度为σ=\(\frac{X}{2}\)\(\sqrt{2}\)Y=50;2×1.4×100=0.179毫米/伏
随后由刺激器加一信号,由于知道了示波器的灵敏度,所以可以求出这个信号的振幅。(〔苏联〕Ю·谢尔巴柯夫)