收音机里的各级放大,振荡或是变频级,都在电子管的栅极上或多或少地加有一个较阴极为负的电压,叫作“栅负压”。电子管为什么要加“栅负压”,不加“栅负压”行不行呢?

我们先设想一下象图1那样没有栅负压的情况。当输入信号U\(_{g}\)是在正半周的时候,栅极为正,阴极为负,这时从阴极放射出来的一部分电子就会被吸向栅极——产生栅极电流Ig(电流的方向是和电子流的方向相反的)。当这个电流流过栅漏电阻R\(_{g}\)时就产生电压降U'g。这个电压,从图中可以看出,是栅极端为负,阴极端为正的,正好和原来的输入信号电压U\(_{g}\)方向相反。这样,实际加到栅极和阴极之间的电压就等于真正信号电压Ug和U'\(_{g}\)之差,即Ug-U'\(_{g}\)。这种现象在输入信号越大时,就越显著。由于实际加到栅极上的电压和真正输入信号电压不同(见图1乙),那么电子管输出电压的形状也就和原信号电压不同了,就产生了所谓“失真”。
另外一个原因是当电子管产生栅流时,它就要吸收上级电子管的输出功率,大大降低了输入阻抗,使上级电子管负载阻抗降低,因而减小了放大量。上级如果是高放或中放时还将降低其调谐回路的Q值,使选择性降低。
如果加上了栅负压,使输入信号在任何时候都不使栅极比阴极正,那么上述的栅极电流就不会产生(见图2乙)。

怎样加上栅负压呢?最简单的办法是在输入栅电路中串联上几个干电池,如图2甲。这个办法看起来很简单,但实际做起来很不方便。电池不但体积大,而且经常要调换,所以一般都不采用。下面介绍几种常用的电路。

甲、用阴极栅偏电阻(图3甲)。这种方法很简单,只要在阴极与乙负(一般是机壳或叫无线电“地”)间接入一个电阻R\(_{k}\)。这时屏极电流Ia(如果是五极管,还有帘栅电流)就流过R\(_{k}\),方向如图上所示。电流Ia在R\(_{k}\)上产生一个电压降,使阴极为正,“地”为负。因为栅极在没有栅流时是和“地”同电位,所以栅极就比阴极为负了。明白了它的道理,计算起来就很容易了,只要将屏流(在五极或四极管时再加帘栅流)乘Rk就是栅负压了。例如6П1П的栅负压是-12.5伏,屏流是44毫安,帘栅流小于7毫安,如果就以7毫安计算,那么通过R\(_{k}\)上的总阴极电流应该是51毫安。Rk就应该是\(\frac{12.5}{51×10}\)\(^{-}\)3=250欧。但要注意,这种算法只有在屏路直流电阻极小,如输出级、中放级及高放级才可以这样计算,但在用电阻电容耦合的电压放大级上就不能这样计算了。因为这时屏路负载电阻极大,实际屏压极低,屏流远没有特性表中所注明的那么大。这时得用图解法,但计算比较复杂,这里就不谈了。C\(_{k}\)是用来旁路电流的交流成分的,使在Rk上只有直流成分,否则屏流中的交流成分将通过P\(_{k}\)回授到栅极去,即产生负回授,会降低电子管的放大量。
乙、利用栅流本身在栅漏电阻上产生负偏压。它的原理电路如图3乙。这是利用所谓“起始栅流”I\(_{go}\)在栅漏电阻中产生的电压降形成的。所谓“起始栅流”是在栅阴极间无任何外加电压时,由于自阴极飞出的电子借原始冲击能量飞到栅极而形成的栅极电流。由于这种栅流很小,所以一般这时用的栅漏电阻Rk的数值比较大,约在2兆欧到10兆欧之间。例如在二、三级收音机的电压放大级中就常采用这种电路。
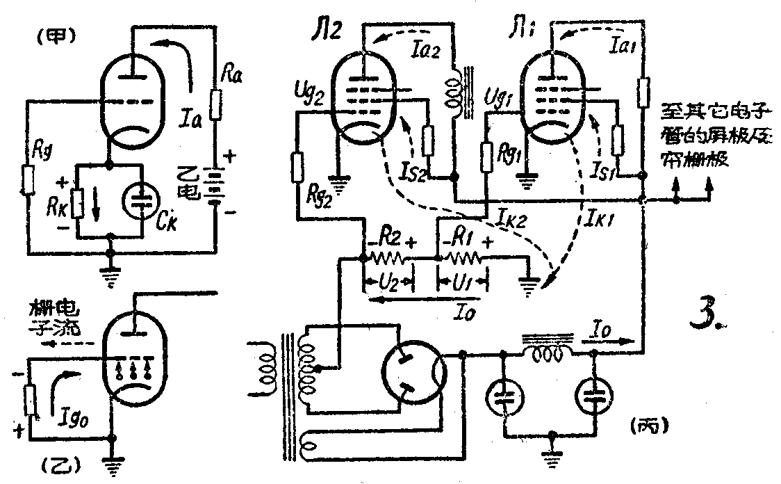
丙、从总屏压电源电路中取得栅负压。它的原理图如图3丙。从这图中可看出所有电子管的屏流及帘栅流(如图中的I\(_{a1}\)、Ia2、I\(_{s1}\)、Is2,或是I\(_{k1}\)及Ik2)都流过整流高压线圈中心抽头与“地”之间的电阻R\(_{1}\)和R2,在R\(_{1}\)和R2上产生电压降,极性如图中正负符号所示。在图中可以看出Л\(_{1}\)管的栅极比“地”(也就是阴极)负一个R1上的电压降U\(_{1}\);Л2栅极比阴极负R\(_{1}\)加上R2上的电压降,即U\(_{1}\)+U2。因之在计算这种电路时应先算出总屏压电源电流I\(_{0}\),再用R1=U\(_{g1}\);I0的公式算出其中栅负压最小的那一管子的栅负压电阻R\(_{1}\)(式中Ug1就是那个管子的栅负压)。然后用同样式子(R′2=\(\frac{U}{_{g2}}\)I0)算出第二个管子应该用的栅负压电阻总的数值R\(_{2}\),那么R2=R′\(_{2}\)-R1。若有三个或更多电子管的话,计算方法都是类似的。例如有一架5灯收音机,它的总屏压电源电流是70毫安,电压放大管6H2П的栅负压为-1.5伏6П1П管应该是-12.5伏。那么供6H2П栅负压的R\(_{1}\)=1.5;70×10\(^{-}\)3=21欧;供6П1П栅负压的R′2=\(\frac{12.5}{70×10}\)-3=180欧,所以R\(_{2}\)=180-21=159欧。
最后必须指出,并不是所有电路中都要栅负压或不许有栅流的。如在发射机的一些电路中,以及音频放大器的推挽功率输出级中,为了提高效率起见信号电压比栅负压大,有时栅负压甚至为零(如用6N7作乙类推挽放大时),有较大的栅流。不过这时它们和上级都是采用变压器耦合,或用其它特殊的电路(如阴极输出器),使栅路的直流电阻很小,不致消耗过多的输入功率,并引起明显的失真。(承恒)