原理和使用方法
这种万用表可以测量交、直流电压的大致数值。可以作电路的通断测试,并能大致测量几毫安内的电流数值,以及作一些附带的用途。对于业余无线电爱好者来说,已够准确,使用也很方便。
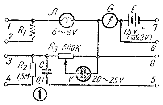
一、交、直流低压测量
1.1~6.3伏电压测量——用插孔1,8
将待测电压通过表笔和插孔1,8加到小电珠Л上,观察Л的亮度,凭经验可判断出大致为几伏,误差约在0.5伏左右。
2.6.3~25伏电压测量——用插孔2,8

还是用小电珠Л测量,但这时要在测量电路中串联一个降压电阻R\(_{1}\)。R1的阻值可以试验决定:先不串电阻,将1.5伏电压加到插孔1、8,Л发亮, 记住发亮程度。然后试将一个自绕(绕法详后)的电阻R\(_{1}\)串入电路,并改加6.3伏电压到2、8插孔,如果这时小电珠的亮度和上一次不串电阻时的亮度一样, 那么所加电阻正好合适,否则应将电阻改小些或改大些,如此作几次试验,就可以决定合适的阻值。这是因为:如果小电珠的电阻为r(图2),所加降压电阻将为3r。整个电路总电阻为3r+r=4r。当2、8两端加电压U时,根据分压器原理,电阻R1和小电珠Л上的电压降分别为:
U\(_{1}\)=\(\frac{3}{4}\)UU2=1;4U。
所以,当外加电压为6.3伏时,Л上的降压为1.5伏,它的亮度应当和直接接1.5伏时的亮度一样。
同理,如果串入电阻,且外加电压为25伏时,Л的亮度应当和不串电阻直接接6.3伏时的亮度一样。
因此,串联了三倍于小电珠阻值的电阻R\(_{1}\)后,就可以利用1~6.3伏一档同样地凭经验来判断6.3~25伏的电压了,也就是说量程扩大为前一档的四倍。
例如:用1、8插孔测量,在小电珠发某种亮度时估计为3伏,那么用2、8插孔测量,小电珠发同样亮度时,电压就是12伏。
R\(_{1}\)可以用38号细铜丝先大致在一个大阻值电阻上绕几十圈,然后用上述方法试行增减圈数,以取得所需要的阻值。
二、交、直流高压测量
交流的或直流的几十伏到几百伏的电压,是利用氖管按照分压原理测量的,测量原理叙述如下:

在图3中,设电位器a、b两端的外加电压为U,加到氖管V上的电压为U\(_{N}\)。电位器的滑臂C向右(向b)移动时,UN减小,移到尽头U\(_{N}\)为零;反之向左(向a)移动时,UN增大,移到头U\(_{N}\)最大。因此,当插孔3、8上加了某个电压时,移动滑臂到氖管起辉(发亮)时就停下来,这时电位器c、b两点间的电压降就等于氖管的起辉电压,因为每个氖管都有一固定的起辉电压值,电压加大到这个额定值,它才起辉。当外加电压U减小时,c、b间电压也相应地减小,滑臂要向左移过一些,也就是把加到氖管上的电压增大一些,它才能起辉;反之,当外加电压U增大时,c、b间的电压降相应地增大,滑臂要向右移,这时只要较小电压就可以使氖管起辉。
经过以上分析可知,当外加电压改变到各个不同数值时,氖管将对应地在电位器转到各个不同位置时起辉。如果把一个已知的电压加到插孔3,8,转动电位器使氖管起辉,并在电位器旋钮所指位置上记下外加电压数值;然后再换一个已知外加电压,同样地记下数值,这样就可以得到某个范围的刻度盘。以后测量时,只要把未知的电压加到3、8插孔,转动电位器到氖管起辉一点停下来,那么电位器旋钮所指刻度盘上的电压数值,就是要测量的未知电压的大小。
需要说明:以上的测量必须在氖管内阻比电位器的电阻大得多的条件下才是正确的。
外加电压U必须大于(或等于)U\(_{N}\),才能使氖管起辉。因此,如果要求能测量的电压低一些的话,氖管的起辉电压也要低。我们选购氖管时,最好买起辉电压比较低的。本表所用氖管的起辉电压为20~25伏。
本表设计的高压量程有两档:
1.25~∞伏电压测量——用插孔3,8
外加电压直接加在电位器R\(_{3}\)的两端,量程的最低电压就是氖管的起辉电压。而量程的“上限”数值理论上可达到非常大。
2.100~∞伏电压测量——用插孔4,8
因为25~∞伏档的刻度不均匀,电压越高,刻度越密,因此高压的读数就难于准确。因此需要将量程扩大。还是利用分压原理,在测量电路中串联一个电阻R\(_{2}\),其阻值应为R3的三倍。
本表对交流电压和直流电压都可测量。测量交流电压时氖管两端都发光;测直流电压时,氖管中只有接负极一端发光,所以还可判断所测直流电压的极性。
测量直流电压时,不是根据氖管的起辉点取得读数,而是先使氖管起辉,然后再退回一些,使辉光刚好消失时电位器所指的刻度。才是所测电压的数值。
测量未知电压前。最好先用100~∞伏一档,将R\(_{3}\)由最右向左旋到起辉,估计出电压的大概数值,然后再用相应的档做准确的测量。否则如果外加电压足够大,而且电位器又放在最左位置,那么加到氖管两端的电压就很大,会烧坏氖管。
使用熟练时,25~∞伏一档误差在3~5伏以内;100~∞伏一档在10~20伏以内。

刻度校准 在4~50千欧范围内选取一个有活动抽头的线绕电阻,按图4将它与一交流标准电压表(0~250伏)连接,电阻两端通以220伏交流电源,利用分压原理来取得不同的电压作为校准时应用。校准时要注意人身安全,人体要与地绝缘,并且最好用单手操作,以防触电危险。
当表笔在电阻上滑动时,3、8两端电压就发生变化,同时由标准电压表上指出相应的电压数值。先移动表笔,把插孔3、8上的外加电压U调到25伏,电位器R\(_{3}\)转到最右端(图3)中,然后由右向左旋转电位器到氖管起辉,在旋钮尖端所指位置上作一记号(刻一小痕),并另用纸记下电压数值;然后移动表笔使电压升高,并且每升高5伏刻一个刻度,同时记下电压数值,直到100伏;接着再升高电压,每升高10伏刻一次,到160伏;以后每升高20伏刻一次,刻到200伏时就不要再往下进行了。最后将记录的电压数值刻到所刻各标记旁,就得到一个刻度盘。
将所得的刻度值乘以4倍,使得到100~∞伏档的刻度,不必再作校准。
这是按照交流电压校准的刻度,用来读取直流电压读数时将有些误差,但影响不大。
如果所选用的氖管起辉电压很高时,就要适当选择扩大量程的倍数。例如用50伏的氖管,可采用二倍R\(_{3}\)的分压电阻,使量程扩大三倍,可分为50~∞和150~∞两档。
三、音频输出电压的测量
在收音机中,我们往往对末级放大后的音频电压很感兴趣,需要测量它的数值,因此本表设有此档。
测量方法是插接插孔5、8,并将一表笔接触强放管的屏极,另一表笔接负极(机壳)。但因在屏压中除了交流(音频)成份外,还有直流成份,所以测量电路中要串进一个电容器C,以隔断直流成份。
四、通断测试
待测电路连接插孔6、8。外电路通时,电流流过电流计,指针摆动;但往往外电路电阻很小,瞬时电流很大,消耗电池过多,因此也可使用插孔2、7或1、7作通断测试,但灵敏度将稍有降低。
五、电流测量
1.直流电流测量 当通过3~5毫安的电流时,指针即有指示。电流越大,指针偏转越大,根据经验可以判断出电流的大小,唯电流大到几十毫安以上,指针偏到头将不再偏转,但业余制作中很少遇到大电流,故影响不大。
2.交流电流测量 当电流小时,指针在“零点”附近摆动,电流大时将在顺铁轭方向左右摆动,但数值量不出来,只能做定性估计。
六、其它测试
本表除了作以上各项测量外,还可以附带作以下各种测试之用。
1.在装修无线电机时,可利用表内的电阻、电容来代换无线电元件。如插孔3、4接有1.5兆欧电阻,插孔3、5接有0.1微法电容器,插孔3、8接有500千欧电阻等。
2.插孔6、7可输出1.5伏(或3伏)直流电源,用以点燃直热式电子管灯丝。
3.插孔3、5与耳机串联后接到低频电压放大管屏极与地之间,还可以检查电子管低频放大的情况。
制作

外壳 选取盖面比较平整的塑料肥皂盒一只。按图5尺寸画好各个开孔位置,先用烙铁烫出各个孔的大致轮廓,再用圆锉细心锉光滑。
底板 取2毫米左右厚马粪纸贴在火炉壁上烤热,并趁热涂以石蜡(或普通蜡烛的蜡),使纸板全部被蜡浸透,风干待用。涂蜡是为了增强机械强度和绝缘。然后在板上按图6尺寸及位置开孔、割缝。要注意底板与盒盖的尺寸必须很准确,否则将造成安装困难,使用不便。
电流计 选购约20毫米直径小型指南针一只,最好也是塑料壳的。再选取一片剩磁小的软铁片(否则断电流后仍处在磁化状态,指南针将不回“零”),例如坏电子管的屏极,或较软的罐头盒剪下一块在炉中烧到红热,然后埋在炉灰中慢慢冷却后使用,按图7变成一个铁轭,在上面用28号线绕300圈左右的线圈。由于指南针有始终指南的特性,为了便于测量,取一小缝衣针,在永久磁铁上擦几下使之磁化(磁化不可太强),然后在与电表纵向成45°角的方向上(图8)用蜡固定于指南针下的底板上。于是在无电流时,指针就受这根针的作用而指向一固定的与电表纵轴成45°角的方向(假定称为“零”点)。
取铝或铜片(非磁性金属均可),剪成四个Г形小片,然后用烙铁将Г形片的水平部份烫进指南针的塑料壳侧壁上,并将另一端穿过底板的缝折弯使固定在底板上。再将绕好了线圈的铁轭也对准指南针下底沿纵轴方向固定在底板上。这几部分便组成了一个电流计(图9)。
插孔 取电子管八脚插座一只,拆下铜管脚套,插入底板的八个小孔及缝内,弯之使固定在底板上。
以上各项零件安装固定以后,便可进行焊接了。取两根粗硬铜丝,一端焊在Л及V的一个极上,另一端焊在电磁铁轭上,使Л及V固定,并将它们的玻管穿过底板上的孔对准盒盖的圆孔。其它电阻、电容等零件及接线分别焊好。至此,全部零件都已安装在底板上了(图10)。
底板与盒盖可利用电位器的螺母将它们固定。电位器R\(_{3}\)的旋柄如太长可据短一些,然后装上带小尖的小旋钮。
然后进行校准工作。刻度就刻在盒盖上,用白色粉笔在上面擦几下,就得到一个清楚的刻度盘了。
电表的电池最好用金属夹片固定在盒底上(图11),并做成簧片接触式,以便于电池的更换。各金属部分都用烙铁烫进盒底的办法固定之。
最后焊上电池接线,将盒盖盖好就做成一个图12所示的万用表了。
电表配有带手枪插头的表笔一付。如果有条件,还可以用圆珠笔的心子来代替表笔,笔心内的油墨可以用汽油洗去,然后穿进细软线做接线,并在盒底或旁边安一个卡子卡住表笔,就可以做成一个小巧玲珑的电表,放在衣袋内随身携带,非常方便。
本表是初次试制,还有许多不完善的地方。希望大家共同研究改进,使它更加完善。(张希源)