三、线圈的材料和绕制要点
制作线圈所用的导线,大多用漆包线,它的绝缘层薄而可靠,占空较小。蜂房式线圈为了便于堆迭,多使用单丝漆包线。高频线圈为了减小集肤效应,则可用多股丝包漆包线绕制。间绕的高频线圈,也有用没有绝缘层的镀银铜线绕制的,因为高频电流只在导线的镀层通过,用镀银铜线可以减小一些阻力。
线圈管的材料,大多是用纸管的,制作容易,但介质损耗较大;胶木管的较好,有机玻璃又好一点,高频瓷管最好。
绕线时导线要紧紧地缠在线圈管上,单层密绕式要排列整齐,不要留有空隙或互相迭住,间绕线圈的间距要均等,手工绕制时,是另用一根外直径和间距相等的导线和所绕的导线并排密绕,绕好后将这根线拆去,就得到均等的间距。
线圈的头尾线应该很好地固定起来,以免松散,最好是在线圈管的上面铆上接线焊片,将线头焊上,既牢固又便于将来焊接。

为了使线圈在绕好后,能略为调整以校准它的电感量,可以在绕到最后时,离开绕组几毫米的地方多绕几圈作“调整圈”(图1甲)。调整时,如果电感量不够,可以逐圈拨到绕组上;电感量过大,也可将绕组逐圈拨上去。微调到适合为止。间绕线圈的调整圈则是将最末一圈穿过管壁,在上面弯成一个半圈(图1乙),以后将这个半圈拨动变更它的距离,就可微调电感量。
线圈绕好后还要作浸渍处理,使绕线紧固和起防潮作用。浸渍所用的材料也影响到线圈的质量因数。最简便的方法,是将线圈放入融化的石腊里煮透,或将线圈烘热浸入凡立水中取出烘干。如果能用防潮材料浸渍,那就更好了。
四、几种常用的售品线圈
业余制作收音机,采用售品线圈比较方便。这些线圈中再生式线圈和超外差式线圈的规格是比较定型的,此外有时还能见到各式各样的矿石机线圈。这里将前两种售品线圈简要介绍一下:
再生式线圈 是一般再生式收音机上所用的三回路线圈,多采用混合型的,即是调谐线圈(L\(_{2}\))和再生线圈(L3)单层密绕,天线线圈(L\(_{1}\) )则是绕成圈数很多的蜂房式(图2甲)。天线线圈有较高的阻抗,因此常称为“高阻抗式”,它的自然频率比调谐回路的最低频率还要低(低约30%时最为有利),这种线圈对低频端电压传输系数较高,接收波段的低频端较为有利。也有少数售品将天线线圈绕成圈数不多的“低阻抗式”(图2乙),它的自然频率比调谐回路的最高频率还要高,接收这个波段高频端的电台是比较有利的,但接收接近低频端的电台就比较差。

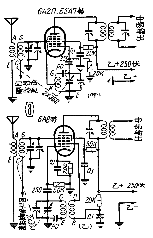
超外差式线圈 超外差式收音机,要根据不同类型的变频管,选用不同类型的振荡线圈。国产售品线圈中的振荡线圈有两种。一种是三点式振荡线圈(又叫抽头式或S式),适用于6A2П、6SA7等变频管,它是利用阴极电流通过部分线圈而产生振荡的,接线图如图3甲。另一种是回输式振荡线圈(又叫A式或K式),适用于1A2П、6A8等变频管,它是利用屏极回输来产生振荡的,接线图如图3乙。而这两种线圈的输入回路线圈(又叫天线线圈)则是相同的。接收频带有中波段的(550~1650千赫);两波段的(550~1650千赫,6~18兆赫);三波段的(550~1650千赫,2~7兆赫,7~22兆赫)。中间频率都是465千赫。配合2×360微微法双连可变电容器及售品600微微法的垫整电容器(PD)。在线圈接脚处标有接线符号,如A(天线)、E(地)、G(栅极),K(阴极)等,以便接线。

各个工厂制造出来的超外差式线圈型号很多,使用上大致相似,下面列举几种使用比较广泛的售品线圈,说明一下它们的特点和使用方法。

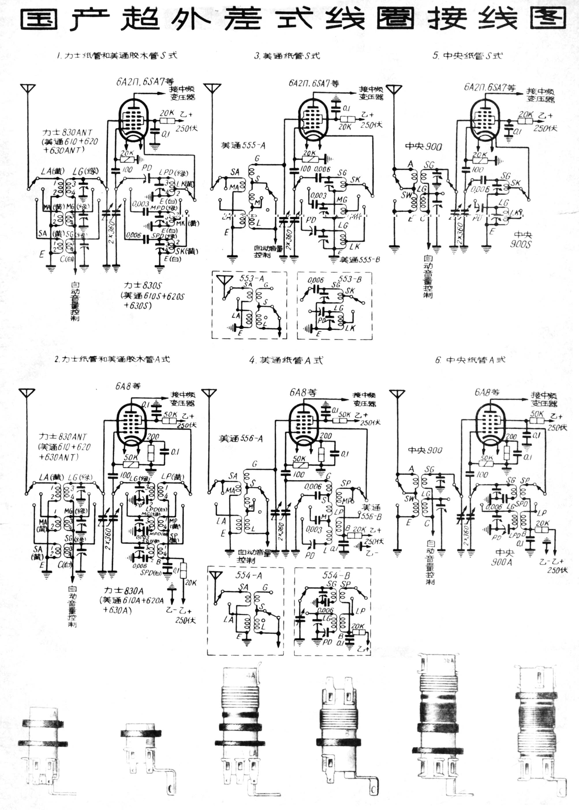
①力士牌线圈 这种线圈用得最多的型号是两波段的800型和三波段的830型,它们的振荡线圈型号后面带有S的是S式,A式的在型号后面不带字母。各个波段的线圈是单独绕制而共绕在一个纸管上的。各波段的调谐线圈可以分别并接上微调电容器C\(_{T}\)(见图4甲),校验比较方便。由于几个波段的线圈同绕在一个纸管上,在短波段工作的时候,波段较长的线圈空着不用,如果短波段的频率正好调到长波段线圈的自然频率上,大部分的能量就会被它吸收,在这一点就会造成“哑点”。830型三波段线圈的接线方法可参考封三接线图,800型两波段线圈的接法和830相同,只不过少一个波段罢了。力士牌还有各个波段单独绕制的纸管线圈,810型是中波段用的,811型是短波段(6~18兆赫)用的,合起来也可装成中短波收音机,接法和800型一样。此外还有高放耦合线圈,在上列型号后面带有RF字样。

②美通牌线圈 种类也比较多,500型是纸管型的,其中551型是包括有输入线圈(551A)和振荡线圈(551B)的中波段S式;552型是A式;553型和554型分别是两波段的S式和A式;555型和556型分别是三波段的S式和A式;557型和558型分别是两波段和三波段的高放耦合线圈。
这类线圈也是几个波段同绕在一个线圈管上的。它和力士牌线圈所不同的,是在变换波段的时候,将调谐线圈不用的部分短路(图4乙),可以避免“哑点”,但是不能加接微调电容器,校验时稍有不便。封三上图3、4就是美通555型和556型的接线图,并把553和554型两波段线圈的接法附列在旁边,以便接线时参考。
美通600型是胶木管小型线圈,各波段独立绕制,可避免各波段相互影响的缺点。其中:610型是中波段的,620型是中短波段(2~7兆赫),630型是短波段(7~22兆赫);640型是短波段(6~18兆赫)。610型可以单独用作中波段收音机,它和640型配合,可以成为两波段式,和620型、630型配合,可以成为三波段式。这些型号的振荡线圈后面,还带有S、A、K、R四种字母,是区别所配合的变频管的。610S配合6A2П、6SA7,610A配合6A8、1A7,610K配合6K8,610R配合1A2П、1R5等。它们的接线方法和力士牌基本相同,只是在线圈管上所注接线头符号是1、2、3、4等号码,并在焊片上有黄、绿、白等颜色作为标记,接线更为方便。接线图可参考封三图1、2。此外,还有配合这几个波段用的高放耦合线圈,是在型号后面带有RF字样。还有一种用有机玻璃作线圈管的,如700型,用法和上述相同。
③中央牌线圈 这是最近几年的新产品。910型是中波段的,900型是两波段的,都分别有S式和A式。虽然它的两波段线圈也同绕在一个纸管上,但是变换波段的时候,是将天线线圈不用的部分短路,所以调谐线圈上仍然可以并联微调电容器,便于准校(图4丙)。接线图见封三。中央牌还有胶木管的810S型(中波段)和840S型(6~18兆赫),可以用作中波段或配成两波段的超外差式收音机。它们的接线脚符号、颜色标记、接线方法和美通600型胶木管的大致相同。
高放耦合线圈在结构和形式上和天线线圈基本相同,初级线圈两端一端接高放管屏极(P),一端接乙电(B),次级线圈两端一端接变频管栅极(G),一端接自动音量控制(C),各接脚也分别用拉丁字母或颜色及号码表示,典型的接线图如图5。

封三绘出了几种线圈的外形图,它们分别是中波段,两波段和三波段线圈。(冯报本 冯炜然)