输入信号经前级放大后,就分作两路分别对信号的高音频和低音频进行放大的放大器,称为“双频道放大器”。它的优点是放音频带宽、低频调制失真小,音质优美动听。这是因为高、低音频分开来放大,就不致因电子管和大口径扬声器的非线性而产生相互调制,造成失真。此外还可以在每一频道内使用较深的负回授,以避免因不同频率、不同相移而引起自激。由于高、低音频分开,也还可以采用不同的输出变压器,从而改善频率特性。
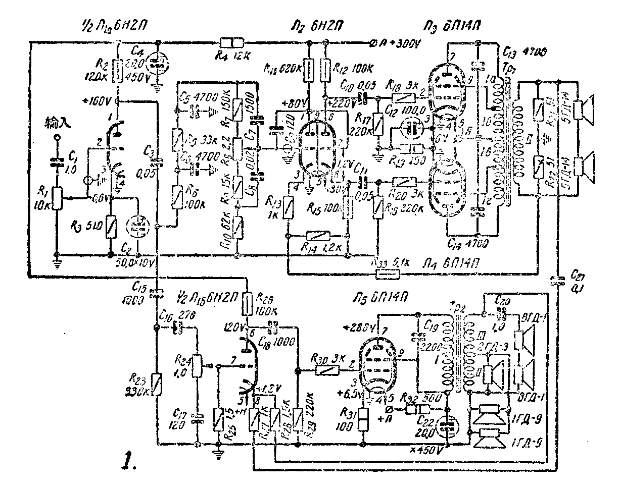
这里介绍的一种双频道放大器是用两个6H2П和三个6П14П装成的(图1)。它的音频放大范围是30赫~15千赫。非线性失真在1千赫时为0.5%;30赫和15千赫时都不超过2%。高、低频道的输出功率分别为2瓦和4瓦。放大器的灵敏度为150毫伏。低频道输出端的交流声电平为—50分贝。高频道的互调制失真系数不超过1.5%。

高、低频道合用的前置放大级用电子管Л\(_{1a}\)(6H2П的一半);其控制栅极电路中的电位器R1,用来调整整个放大器的音量。 R\(_{1}\)的数值用得较小(10K,其目的是减小放大器和收音机、电视机或录音机相连接的导线(一般有3~5米长)中产生的杂散电磁感应干扰。但此时应注意各机的输出阻抗必须和放大器的这一低输入阻抗相匹配。
高、低频道是在电子管Л\(_{1a}\)屏及电路中分开的。高音频信号通过小容量电容器C15和C\(_{16}\)进入放大器的高频道;而低音频信号则通过低通滤波器R5、C\(_{5}\)和R6、C\(_{6}\)进入低频道。
高频道由Л\(_{1б}\)(6H2П的右三极部)和Л5(集射管6П14П)作两级放大。电位器R\(_{24}\)用来调节高音频的音调,调节范围对15千赫的频率是±15分贝。为了进一步抑制高频道中的低音频,还采用了负回授。回授电压从变压器TP1次级电路中的电阻R\(_{21}\)取得,通过C21和R\(_{27}\)加到电子管Л1б的阴极。
为了降低放大器高频道的非线性失真,还采用高频负回授;回授电压从高音频输出变压器T\(_{P2}\)的次级线卷取出,通过电阻R28加到Л\(_{1б}\)的阴极上。电子管Л1б的栅偏压是利用屏流在R\(_{28}\)上产生的电压降供给。负回授电压与栅偏压串联。由于阴极与地之间没有旁路电容器,在电阻R28到T\(_{P2}\)次级线卷的电路中还有一个电流负回授。
高频道的输出级采用电子管6П14П。由于偏压电阻R\(_{31}\)的两端没有并联旁路电容器,因此也有电流负回授作用。电流负回授不但能减小非线性失真,而且还降低了本频道对低音频的增益。为了防止放大器在25~30千赫的频率上产生自激,在输出变压器TP2的初级线卷两端并联了一个0.001~0.002微法的电容器。
输出变压器T\(_{P2}\)的次级接有五个扬声器(BГД-1可用国产小高音扬声器代替;2ГД-3可用国产124毫米、6欧扬声器代替;1ГД-9有同型号国产的,即156/98毫米椭圆形扬声器。——译者注),如图1所示。由于这些扬声器的放音频带不同:BГД-1型扬声器的最佳放音频带是5~15千赫;1ГД-9和2ГД-3型的则是1~7千赫,这样就能使高频道中的1~15千赫全部高音频都能很好地放出。因为放大器采用了深负回授电路,负载的阻抗允许在较宽的范围内变化,所以扬声器数量可以酌量减少。例如在TP2次级的抽头和下端之间并联接两个124毫米径、6欧扬声器,以代替原来的三个扬声器。
低频道由电子管Л\(_{2}\)(6H2П)和Л3、Л\(_{4}\)(6П14П)构成。电子管Л1a输出的低频电压通过低通滤波器R\(_{6}\)、C6和R\(_{5}\)、C5,进入低频道电路。电位器R\(_{8}\)用以调节低音频音调,对50赫低音频的增益调节范围是±18分贝。
低频道第一级放大由Л\(_{2}\)的左边三极管担任。由于屏极和栅极之间接有电容器C9,因而产生负回授。阴极电路中的电阻R\(_{13}\)和R14用来产生栅偏压。Л\(_{2}\)的右边三极管用作倒相管,它的屏路和阴极电路内接有同样阻值(100K)的电阻(R12和R\(_{15}\)),因此负载对剖成两部分,且两部分的相位相反。
值得注意,Л\(_{2}\)左边三极管输出的电压直接加到右边三极管的栅极上,即采用了直接耦合。左边三极管屏极电压和右边三极管阴极电压之差,就构成了右边三极管的栅偏压。这样可以大大改善低频传输系数。本频道最前面两级的工作状态和电阻数值应选择得使倒相级的栅偏压约为-1.2伏。
电阻R\(_{12}\)和R15上输出的电压反相地加到推挽输出放大级的Л\(_{3}\)和Л4的栅极上。本级应用两个6П14П,其中由于帘栅极接在特制输出变压器T\(_{P1}\)初级线卷的抽头上,这种接法等于末级使用帘栅负回授,并且使电子管的工作状态介于五极管和三极管之间。因此非线性失真大为降低,而增益降低不多。这种电路称为“超线性电路”。
输出变压器T\(_{P1}\)的次级线卷接有两只5ГД-14型扬声器(5ГД-14型扬声器可用国产202毫米径、4欧的3F1型扬声器代替。——译注),旁路电容器C13和C\(_{14}\)用以短路高音频,并改善负载的频率特性。低音频道的各个放大级中都有负回授,回授电压是从TP1次级的电阻R\(_{22}\)上获得,通过电阻R33接到低频道输入电子管Л\(_{2}\)的阴极。需要指出:高频道只有两个放大级,而低频道有三个放大级,多一级将增加180°相位移,所以高、低倾道的负回授电压是反相的,需要从输出变压器次级的不同位置接出。
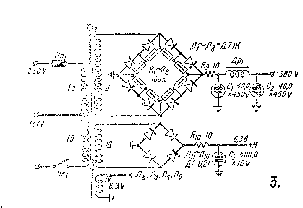
本放大器用单独的整流器供电(图3)。屏极高压取自由8个Д7-Ж型半导体二极管构成的桥式整流电路。接在滤波器输入端的也阻R\(_{9}\),用来限制刚接通电源瞬间流过二极管的电流。如果没有半导体二极管,也可以用一般电子管整流器,例如用5Y3、80或两个6Ц4П作全波整流。
为了减小交流声,电子管Л\(_{1}\)的灯丝用直流燃点,直流电压取自ДГЦ-21型半导体二极管装成的桥式整流电路。Л1也可以用交流作灯丝电源,这时灯丝电压应降低到5伏。
表1 变压器和扼流圈的结构数据
铁 心 绕线
编号 线卷 (漆包线) 圈数
叠片型号 叠厚(毫米)
30 1a,12 0.16毫米 1,140
T\(_{P1}\)Ш-22 (无空 1б,1θ 同 上 860
气隙) 次级 0.64毫米 140
30 Ⅰ 0.18毫米 1,000
T\(_{P2}\)Ш-16 (0.1毫 Ⅱ 0.59毫米 20
米空气 Ⅲ 同 上 30
隙)
Ⅰa 0.59毫米 280
Ⅰб 0.74毫米 380
T\(_{P3}\)Ш-32 50 Ⅱ 0.31毫米 700
Ⅲ 1.20毫米 19
Ⅳ 0.59毫米 19
Д\(_{P}\) Ш-26 30 — 0.31毫米 2,200
T\(_{P1}\)的线卷排列方式见图4。这一变压器也可以用一般推挽输出变压器代替,但效果较差。TP3可以用10瓦扩音机或电视机上用的电源变压器代替。

整个放大器装好后,可检查一下电路各点电压,看是否符合图1上标注的数值。如各点电压正常,而放大器产生自激,则将T\(_{P1}\)次级或TP2初级线卷两端接线对调即可正常。每组扬声器应经过测试,使它们发音同相,以免声音失真。图5介绍一种扬声器箱的结构,适合本放大器应用。(朱邦俊根据苏联“无线电”杂志196l年第5期原作编译,沈成卫审校。)(苏联 工程师B.莫夏科夫)


