不用价格昂贵的表头,只用“电眼”(调谐指示管)和其它零件就可制成万用表。这种“电眼万用表”和普遍万用表一样,能测量交直流电压、电流和电阻。
电路原理。
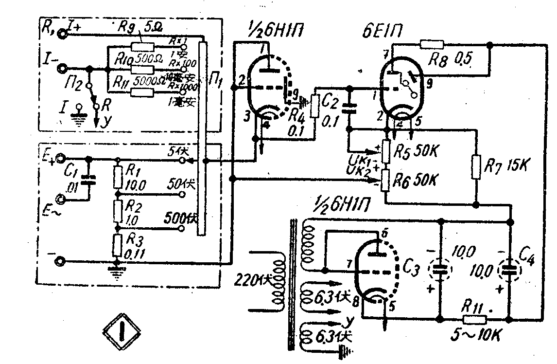
电眼万用表的电路图如图1所示。图中左下方虚线框内的部分是供测量电压时使用的,左上方虚线框内的部分是供测量电阻、电流时使用的。R\(_{1}\)、R2、R\(_{3}\)组成的分压器作电压量程转换用。总电阻为10.0+1.0+ 0.11=11.11兆欧。当П1处在50伏档时,它的分压比为\(\frac{1.0+0.11}{11.11}\)≈1;10;当П\(_{1}\)处在500伏档时,分压比为0.1111.11≈1;100。电阻R9、R\(_{1}\)0、R11分别在不同量程上测电阻和电流时使用。

6Н1П的一半用作电源整流,以供给电眼管6Е1П的屏流。另一半接到测量电路内,以对待测量的交流电进行整流。R\(_{4}\)及C2作滤波用,使在测量交流时,6Е1П的指示不致发生脉动。
6Е1П的作用是这样的:三极管部分加有一定的栅偏压时,就有一定的屏流,并在R\(_{8}\)上引起一个电压降,使三极管保持一定的屏压。荧光屏前的控制电极是和三极管部分的屏极相连的,所以和三极管屏极的电位相同。这电位使荧光屏上产生一定大小的阴影。如果加大三极管的负栅偏压,屏流就减小,R8上的电压降就减小,结果三极管屏压增大,也就是控制电极电位增高,因而荧光屏上的阴影区域就减小。反之,如果三极管上的负栅偏压减小(栅极电位更高一些),阴影区就增大。由此可见,荧光屏上一定大小的阴影,就对应于一定的栅偏压。
测量电压:
在测试直流电压时,将试笔插在E\(_{+}\)和“-”间。先将R6的滑臂旋到最顶上的位置,这时R\(_{6}\)上的电压降UK2未接入三极管栅路内,对电眼管不起作用。然后将两试笔短路(即加入零电压),调节R\(_{5}\),使R5上的偏压U\(_{k1}\)刚好使荧光屏上的阴影最窄(零调整)。这时如果将试笔放到被测电压E两端,加到三极管上的实际偏压就是被测电压E和Uk1相串联的结果。总的负偏压为U\(_{k1}\)-E,比原来的Uk1小,因而荧光屏上的阴影就变宽了。旋动R\(_{6}\),使它上面的一部分电降压加入栅极电路,增加一些负偏压。如果调到刚好使荧光屏上的阴影闭合,总的负栅偏压就义等于零调整时的值,也就是等于Uk1。由此可见:


