这个航空模型遥控设备有6个通道,可以控制6个基本动作:左转、右转、爬升、俯冲等等。设备分发射和接收两大部分,现在把制作方法分述于下。
发射机
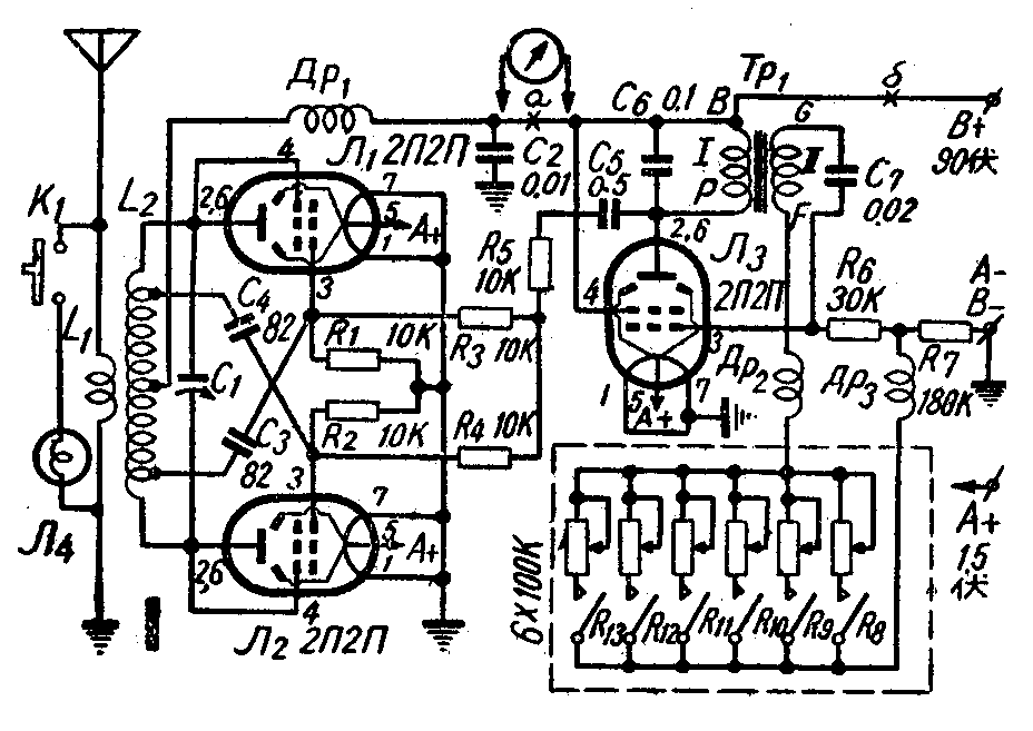
发射设备是用一个有一级音频振荡、栅极调幅的推挽式发射机,功率约一瓦左右。电路原理图见图1。

音频振荡部分,使用电子管Л\(_{3}\)( 2П2П)。振荡频率由低频变压器Тp1、C\(_{7}\)及栅极电阻(包括R6、R\(_{7}\)及操纵盒中的R8—R\(_{13}\))决定。这是一个一般的调屏调栅振荡电路,振荡频率从200~500赫。改变R8~R\(_{13}\)的接入方法,可以改变振荡频率。
低频变压器T\(_{p1}\)为1:2或1:3,采用窗口截面积为2平方厘米的铁心(可直接用6П1П的输出变压器铁心),用0.06毫米直径的漆包线绕2200匝(Ⅰ) 及6600匝(Ⅱ) ,乱绕,不用排齐。
音频振荡部分的输出,经C\(_{5}\)、R5、R\(_{3}\)、R4加到高频振荡部分电子管Л1及Л2的栅极,对高频振荡进行调幅。在高频振荡电路中,线圈L\(_{2}\)用直径1.5~2毫米的漆包线或裸铜线绕成空心线圈,线圈直径25毫米。L2绕8匝,中心抽头,匝距为3毫米左右。L\(_{1}\)用同样粗细的导线绕2匝,线圈直径约22毫米。线圈L1套在线圈L\(_{2}\)中。
电容器C\(_{1}\)与线圈L2构成振荡槽路,采用国产КПК—1型半可变电容器,电容量为6~25微微法或8~30微微法的都可以。C\(_{3}\)、C4必须用云母(KCO型)或陶瓷(KTK或KДK型)电容器,以减少高频损耗。
Дp为高频扼流圈,用直径为0.5~0.2毫米的漆包线绕在直径为5~10毫米、长35毫米的瓷棒或胶木棒上。也可以绕在一个不小于0.5兆欧、0.5~1瓦的电阻上。扼流圈的匝距应逐渐增大,接L\(_{2}\)中心抽头的一侧,匝距应为最大。绕ДP的导线长度l,可按下式计算:
l=93.5/f\(_{最大}\)
式中f是最大工作频率,按兆赫计算,算出的l长度为米。如果发射机工作频率为28兆赫左右,l可取为3.5米,绕17O匝就可以了。
在音频振荡部分,也有两个高频扼流圈ЛP\(_{2}\)及ЛP3,是防止人体感应的。这两个扼流圈可以绕在一个直径为8毫米的胶管或瓷管上,用两根直径为0.2毫米的漆包线平行缠绕,共绕60匝即行。也可以分两层绕,每个扼流圈绕一层,中间垫以绝缘纸,每层绕30匝。
在天线线圈L\(_{1}\)的两端并联一个6.3伏的小电珠Л4,用按键K\(_{1}\)控制。发射机正常工作时,按下按键K1,Л\(_{4}\)应燃亮。
全机装配在一块60×100×3毫米的胶木板上,天线高度为1/4波长(例如工作频率为28兆赫,用2.52米长的天线)。天线可以用直径10毫米左右的铜管或铝管制作。
电源甲电用1.5伏,可用6节手电筒电池并联供电乙电90伏,可用45伏干电池两组。
操纵盒用6个100K的电位器组成。每个电位器连接一个按钮开关。为了控制方便,可以做一个特制四档开关,每档分别接通一组电位器,以便像飞机上的操纵杆一样,可以控制飞机的上、下、左、右航行。另外用两个按钮开关,装在特制开关的两旁,控制相应的电位器,发出控制飞机大风门和小风门的信号,改变飞机的速度。操纵盒的外形见图2。

装配完了后,检查一下接线有无错误,然后接上电源。把Л\(_{3}\)拔去,在图1中“a”处串接一个最大读数为30~50毫安的电表。电表读数为10~20毫安,则发射机工作正常。这时,可以用一个拾电圈(见图3)靠近L2,可看到拾电圈的小电珠发亮。旋转L1可以找到小电珠最亮的一点,同时毫安表的读数为最小,这是发射机的最佳振荡点。要求这时的振荡频率应在工作频率附近,不然应增减L\(_{2}\)的匝数。L1与L\(_{2}\)间的耦合是很关紧要的。过紧的耦合,会使天线的发射功率减小,并且会剧烈地降低振荡频率的稳定度。耦合太松,又会降低发射机效率。因此,寻找最佳振荡点,即调整L1在L\(_{2}\)中的位置,必须仔细进行。此外,调整L1的匝数也可求得最佳耦合。

发射天线在调整时,应先将发射机固定在某一频率,这时增减天线的长度,看毫安表的读数变化。如果天线谐振的话,那么接上天线与取下天线时的读数差最大。如果用手摸天线,电流读数会下降,天线谐振时,读数下降最大。
拔去Л\(_{1}\)及Л2,插上Л\(_{3}\),把毫安表改接在图1中的“6”处,读数应在0.5毫安左右,指针并有微微跳动。按下操纵盒上任一按钮,电流应上升到7~15毫安。这时如用耳机的一个接头放在TP1的P点,另一个接头用手捏住,则可听到“嗬”的响声,这说明工作是正常的。如果电流太大,可在Л\(_{3}\)帘栅电路内接入一个3~5K的固定电阻。
插上全部电子管后,再在“a”点测量电流,按下操纵盒上按钮时,电流会下降,这说明调制正常。这时用耳机的一端接天线,另一端接一0.1微法的电容器后拿在手中,按下操纵盒上的按钮,可以听到长声音频,不按按钮时,则可听到“噗噗”的汽船声,这说明发射机工作正常。
接收机
接收机的原理电路图见图4,用三个电子管。电子管Л\(_{1}\)(2П2П)接成自熄式超再生检波电路,电子管Л2(1K2П)为电压放大,电子管Л\(_{3}\)(2П2П)为功率放大。工作频率为28~29.7兆赫。接收机的输出接有一个谐振继电器P谐振,在谐振继电器上有六根谐振簧片,各簧片的谐振频率不同,约自200~500赫。每根谐振簧片控制一个中间继电器P\(_{п}\),由中间继电器控制传动机构,操纵飞机的航行。电路的其他部分,与一般超再生收音机相似,这里只介绍有关制作的资料。

线圈L\(_{1}\)绕在直径为10毫米的线圈架上。线圈架应具有良好的高频绝缘性能,最好用夹市胶木管或塑料管,不能用胶纸管。线圈用直径0.5毫米的漆包线(最好用涂银铜线)绕16匝,匝距1毫米,中心抽头。C2一般约7微微法左右,视频率高低来增减,最好不要超过15微微法。如果频率还要调低,可以增加L\(_{1}\)的匝数,反之,则减少L1的匝数。也可以把L\(_{1}\)套在优质的高频铁粉心上,调整铁粉心在线圈中的位置,改变L1的电感,来配准频率。但是,这种铁粉心很难找到。如果找不到优质高频铁粉心,宁可把C\(_{2}\)改用半可变电容器(用KПK-1型,2~7微微法或4~15微微法)。
在第一级中的电容器,最好都采用陶瓷介质的。R\(_{1}\)C3根据熄灭频率选择其数值。熄灭频率一般至少是最高调制频率的4~5倍。确定了熄灭频率,就可按下式算出R\(_{1}\)及C3的数值:
f\(_{0}\)=160000/R1C\(_{3}\)
或R\(_{1}\)C3=160000/f\(_{0}\)式中f0为熄灭频率,单位为赫;C\(_{3}\)单位为微法;R1单位为欧。
ДP\(_{1}\)为高频扼流圈,制作方法与上述发射机中的ДP1相同。ДP\(_{2}\)作为Л1的负载,可用华北厂生产的一种超小型输出变压器,把线圈重绕,用直径0.05毫米的漆包线绕3000—4000欧或更多一些(电感量约2亨)。ДP\(_{2}\)也可用一个50~100K的电阻来代替。C6C\(_{7}\)是两个超小型电解质电容器,型号是ЭМ—М型,耐压60伏。如果没有ЭМ—М型,用近似数值的、体积较大耐压较高的电解质电容器也可以。其它电容器最好用小型的纸质电容器,如БМ型电容器。
谐振继电器P谐振并联的电容器C\(_{11}\),可能影响音频电流的大小,应根据接收的音频范围选配,使在6个音频都能得到较强的电流。6个C12及R\(_{9}\)组成6组延时电路,使中间继电器不致因谐振簧片的抖动而释放。R10是降压电阻,根据中间继电器的工作电压选配。
接收机装好后,先检查接线有无错误。然后,拔下Л\(_{2}\)Л3,接上电源。在Л\(_{1}\)屏路中串接一个毫安表,毫安表读数应为0.5毫安。用耳机串接一个0.01微法的电容器并联在ДP2的两端,应听到一种较轻的沙声,这说明已产生超再生振荡。旋动L\(_{1}\)的铁粉心(如果未装铁粉心,应旋动半可变电容器C2),应该在全部工作频率范围内都能听到清楚的沙声。如果听不到沙声,电表读数较高,就需要调整。调整时可改变ДP\(_{1}\)的匝数,或改变电容器C4,C\(_{3}\)或电阻R1的数值。如果用电阻代替ДP\(_{2}\),那末可改用一个100K的电位器,慢慢旋转到耳机中出现沙声为止。总之,务使沙声达到最强,但不能出现尖叫声。
插上Л\(_{2}\)Л3,用串有电容器的耳机逐级在屏极负载上检查,应该一级强似一级,到末级P\(_{谐振}\)两端应该最响,甚至不用耳机也能听见一种哼声。但是这时谐振簧片不能有突跳,如果有突跳,应改善布线,检查布线是否过长,后级的布线是否与前级的栅级布线交叉或平行,检查滤波网络是否有问题。
收发信机的配合
把耳机接在接收机的P\(_{谐振}\)两端,打开发射机,把频率对上,应该听到一种噗噗汽船声。按下操纵盒上的各个按钮,相应的谐振簧片应动作,否则应调整图1中相应的电位器(R8~R\(_{13}\))。(沈卜洲)