1.电灯泡的灯丝烧断后,如果设法使它再碰接起来,发光要比以前亮很多。为什么?
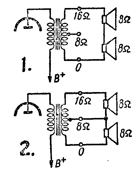
2.将两个8欧姆的喇叭接到输出变压器上,图1和图2的接法那个对?为什么?(张恩麟)

3.楼上有一部再生收音机,楼下有一部超外差收音机。当楼上收音机调节再生时,楼下的收音机常常随着发出啸声来。为什么?(尚药生)
第2期“为什么”答案
1.是30瓦的灯泡被烧坏了。大家知道,P=\(\frac{V}{^{2}}\)R。所以110伏、30瓦灯泡的电阻R\(_{1}\)=1102;30=403.3欧,40瓦灯泡的电阻R2=\(\frac{110}{^{2}}\)40=302.5欧。这就是说,用于同一电压的灯泡,瓦数小的电阻就大。另外,根据欧姆定律,电压等于电流乘电阻,而在串联电路中,各点电流相同。因此两个电阻不同的灯泡串联接到220伏的电路上以后,并不是每个灯泡上的电压都是110伏,而是电阻大的灯泡分配到的电压较大。可以算出,电路中的电流为220;R\(_{1}\)+R2=\(\frac{220}{705.8}\)。所以在30瓦灯泡上的电压降为220;705.8×403.3=125.7伏,比规定的110伏大很多,所以不久就被烧坏了。在40瓦灯泡上的电压降只有220-125.7=94.3伏,所以不会被烧坏,但是比接在110伏电路中时要暗一些。
2.晶体耳机对音频来说相当于一个电容器。所以分析矿石机电路时,可以用一个电容器来代替耳机。如图1。这时,高频信号的正半周可以通过矿石对C(晶体耳机)充电。但C没有放电电路,所以只能充电,不能放电,在它上面形成了一个直流电压,电压方向和矿石流通电流的方向相反,当信号电压小于这一电压时,就不能有电流通过矿石。如果信号电压大于这一电压时,就又进一步使C上充电到更高的电位,等到C充足以后,也没有电流了。所以在耳机中不能收到广播。如果在耳机两端并接一个20~40千欧的电阻R(图2),高频信号经过矿石检波后的电流就可以通过这一电阻,在它上边产生随信号大小而变化的电压降,因此和这一电阻并联的耳机就可以取得电压而发出声音。

3.由于天线和电灯绕耦合很紧,当电灯线中突然通过电流或电流突然中断时,就在矿石机电路中感应出一个较强的冲击电流,这电流可能把原来灵敏点击坏。所以需要调整矿石触针,另外找一个灵敏点。