再生式检波装置简单,代价便宜,在业余爱好者中很常用。但是再生检波器中的调谐回路和电子管的栅极、阴极相当于一个二极管检波器。也就是说它的等效负荷电阻较小,在调谐回路中有栅极电流通过,这就降低了调谐回路的品质因数,使它的选择性和灵敏度受到影响。同时再生回路又直接经检波管交连在输入回路上,这样不但易从天线发射电波干扰别的收音机,且使回授和检波相互发生影响,故调谐时要旋动二个旋纽,增加了困难。
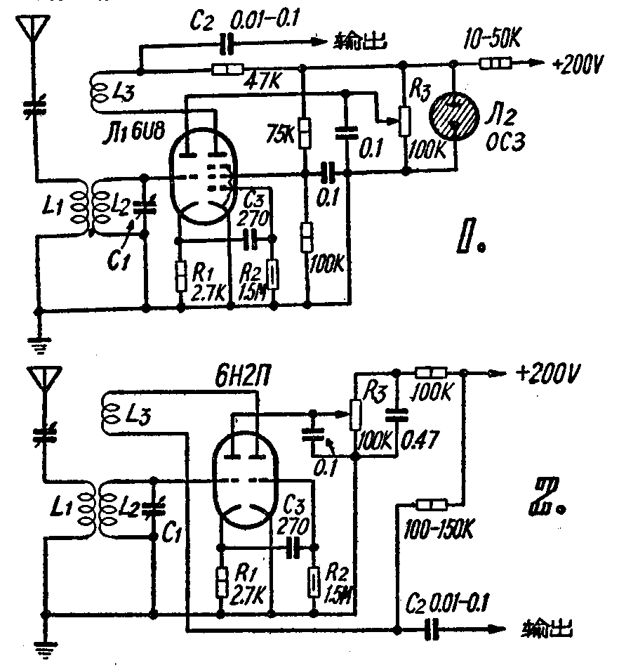
现在所介绍的电路,再生部分与输入调谐回路是分开的,电子管采用了复合管6U8。它的三极部份作为阴极输出器,虽然放大因数极小,但是它的输入阻抗极大,故对输入调谐回路的影响极小,因而提高了选择性与灵敏度。同时也有较高的保真度。信号经阴极电阻R\(_{1}\)和交连电容器C3交连到五极部分的第一栅极,进行检波。回授从检波部分的屏极取得而和调谐回路耦合,所以它不会影响检波部份。而调谐回路的品质因数也得到提高。
回授的强弱由电位器R\(_{3}\)来调节。使用的时侯,和普通再生式收音机一样,把电位器旋到将要发生振荡但尚未振荡的地方。由于再生不受调谐回路输入的影响,因而无论收听哪一电台,无需再旋动电位器R3了,这使再生检波的使用手续大为简化,在短波段中特别方便。
在装置时也要注意L\(_{3}\)和L2的接头。如果不起再生振荡,可以把L\(_{3}\)的二端反接。这个电路可以作为再生机的检波器,后面接低频放大器;也可以单独作为再生收音机,直接推动耳机;也可以作为超外差式收音机的前置放大器。在作后者时只要把C2换成100微微法就可以了。图1中Л\(_{2}\)是利用稳压管0C3,使高压更稳定,以保持再生的稳定。若没有此稳压管时也可以不用。
图2是改用双三极管6H2П的电路,作用原理也是一样的。(锡 编译)
