一、工作原理
单管收音机的装置比较简单,零件用得少,收程又相当远,很适合初学的无线电爱好者制作。本期封三和封底介绍了几种栅极检波再生式单管收音机。它们有比较高的灵敏度,接收远地微弱电台特别有利。一般白天可以收到省内各台;如果装有良好的天、地线,晚上还可以收到更远的电台。
下面我们先用典型电路来谈谈栅极检波再生式单管收音机的工作原理。
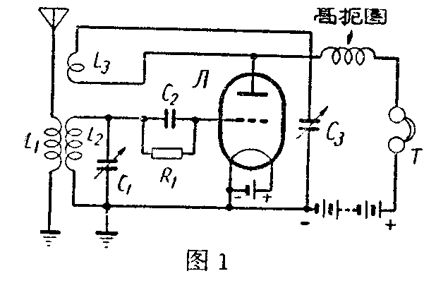
栅极检波 图1电路中,当有许多外来信号的电波作用在收音机天线上时,天线内便感应出信号电流,送入收音机,经过输入调谐回路L\(_{2}\)C1的选择,选出我们要收听的信号电压,加到电子管П的栅极与阴极之间。由于电子管的栅极和阴极这部分可以看成是一个二极管,所以相当于把信号电压加到一个二极管上。利用二极管的检波作用,信号电流中的音频电流成分将在包括L\(_{2}\)、R1栅极和阴极的环路内流通;其中的高频电流成分将在包括C\(_{1}\)、C2栅极和阴极的环路内流通。这两个电流都作用于栅极,三极管就把它们放大。放大后的音频电流流过耳机,发出声音来;放大后的高频电流经过L\(_{3}\)、C3旁路到地,使不影响音频电流。检波后,除了有音频和高频的电流成分外,还有一直流电流成分,它流过栅漏电阻R\(_{1}\),在它上面产生直流电压降,负端加到栅极,用作为电子管的栅极负偏压。

栅极检波比其它的检波方式有较高的灵敏度,但工作时有栅极电流产生,影响到调谐回路的质量而使选择性变坏,音质也受到影响,但在一般简单的收音机里,对于灵敏度的要求是比其它指标重要的,所以单管机中大多用栅极检波。
再生 检波后得到的高频电流成分本来是没有用处的,但如果把它回输到栅极调谐回路去,可以增加电能量,从而大为提高了收音机的灵敏度。这种再度利用高频能量的方法就叫做“再生”。
在电路中获得再生的方法最常用的是采用电感交连,即是在调谐线圈附近放置一个“再生线圈”(图1中的L\(_{3}\)),它与调谐线圈的磁通方向应该彼此相同。这样,经过电子管放大的高频电流流过再生线圈的时候,调谐线圈上就感应出一个额外的高频电压,它和信号电压一齐加到栅极上,从而增大了栅极输入电压,使得电子管的屏流将比最初没有回输时加大;然后再从屏极回输比上一次更大的高频能量到栅极回路,栅极上电压更大,屏流也更大起来;如此循环不已,使屏流得到很大的增长,因而收音机的灵敏度大为提高。由于调谐回路内添加了新的能量,它的衰耗减小,这使得回路的选择性也有所提高。
由再生所补给的能量如果刚好抵消调谐回路损耗的能量,这时叫“临界再生”。如果补给的能量大过回路的损耗,就会产生“自激振荡”,即收音机变成振荡器,发出尖叫声,反而不能收音。因此,为了不致产生振荡,回输的能量不能超过临界再生时回输的能量。在临界再生时回输的能量是极限的,收音效率最高,但这种状态不稳定,容易受外界影响,再生稍大一些就起振荡,所以一般总把再生调到接近临界点,即振荡将起未起的状态,这时的灵敏度和选择性最好。
上述再生作用并不能够永无止境地继续下去,它受到电子管特性和电路结构的限制,到一定程度就不能再增加了。另外,外来信号很大(如接收强力电台播音)时,加在信号栅极上的电压很大,会使电子管的工作范围变动,就会影响到回输所产生的电压和信号电压不再成正比,再生效果要比收弱信号时差得多。因此再生式收音机接收弱信号的效率好得多。
二、几种调节再生的方法
为了不致引起振荡,以及接收大小不同的外来信号时都能使再生接近临界点,要在收音机里加装控制(改变)再生的机件。下面介绍几种最常用的控制方法。
1.电容器控制再生 图1的线路就是一个例子。它是用可变电容器控制再生,当C\(_{3}\)的电容量加大时,对高频电流的电抗减小,通过L3里的高频电流增大,再生就增强,反之就会减弱。这个电容器叫“再生电容器”,它的电容量应选得只让高频电流通过,阻止音频电流,一般用100~250微微法。
此外,图1的屏极电路里还接有一个高频扼流圈(简称“高扼圈”),用以阻止高频电流窜扰到耳机的电路中去。如果没有它,高频电流将经过耳机里面线圈的潜布电容量漏掉一部分,使流过再生圈的高频电流减弱,削弱了再生效果,但影响并不严重。
这种控制方法比较均匀和稳定;容易调到接近临界状态;装置也比较简单,因此再生式收音机中都采用。
这种电路中,屏极电路的高频电流和音频电流分由两个并列的支路流通,所以叫“并连式再生”。也可以改接成图2的接法,让检波后的高频和音频电流都通过再生圈,在再生电容器和高扼圈之间分路,这种叫“串连式再生”;它的特点是工作时受到人体的影响较小(耳机和人体所构成的电容作用),如果再生电容器容量用得大一些,高扼圈可省去不用。

2.电位器控制再生 封底小图的第一个线路采用这种控制方法。这时再生电容器C\(_{2}\)用固定电容器。在再生圈两端并连一个电位器R2,变更它的阻值可以控制流过它的一部分高频电流,使再生圈里流过的高频电流也有增减,因而再生强度改变。由于再生回路交连程度和容抗都固定,所以控制起来也很平稳。
3.帘栅压控制再生 用五极管检波的再生式收音机,可以改变它的帘栅电压来控制再生(见封底第二个小图)。因为在这类电子管里,帘栅压的变动对于屏流是有相当影响的。帘栅压从并连在乙电电源两端的电位器上取得,转动电位器,增减帘栅电压,使流过再生圈的高频电流得到调节,再生便有增减,工作起来也相当稳定。
此外,封底小图上的第三个线路是一个低乙电的再生机线路,乙电只用9伏,线路和上述几种相似,只是通过栅漏电阻给栅极加上一个正电压,消除了阴极附近的空间电荷,使电子容易飞向屏极,所以屏压可以降低。但是减低乙电并不意味着会节省电源消耗,这种线路消耗的电功率和上面几种是差不多的。
再生线圈也不一定做成“三回路式”(有三个线圈)的,也可以只用一个线圈,在它上面抽出适当的抽头来实现电感交连。封三的单管机线路就是采用抽头式线圈的。天线线圈用2~3一段;1~3段用作调谐线圈;再生回输是从屏极经过C\(_{3}\)在4~3段产生电感交连,这一段就用作再生线圈。这种线路中的再生作用也相当稳定。
再生收音机适宜采用放大系数高的三极管。最好还是采用锐截止式五极管或集射四极管,因为它们的放大系数高,屏栅极间电容较小,有利于再生的稳定和控制。
三、装置
零件 这些单管机上用的零件的数值并不要求很准确,使用一般的产品就可以了,只有栅极电容器因为有高频电流通过,最好使用陶瓷或云母的。
线圈是采用售品的比较方便,它的各个引线端都已注明在上面,接线时按标志接上去就行了。线圈也可以自行绕制。封底各电路中的线圈,可以在直径30毫米线圈管上,用直径0.31毫米漆包线,L\(_{1}\)绕30圈,L2绕100圈,L\(_{3}\)绕60圈而成,各线圈间隔开5毫米,同方向绕制,但低乙电电路的L3要增绕到85~100圈,漆包线如果找不到相同规格的,可采用近似的线号。各个线圈的交连不要太紧,否则会降低灵敏度和选择性。再生线圈和调谐线圈交连太紧时,会使线圈之间的潜布电容量增加,使再生不好控制。
如果没有高扼圈,也可用10千欧、1/2瓦电阻代替;或者将它省去,影响也不大。
安装 各个零件在底板上的排列方法,要根据零件的形状、线路的要求和使用的方便等来决定。封三举出一个单管机的实体安装图。面板和底盆是用木板制成的,制造比较方便。调谐度盘是用纸剪出的,制好后先贴上,将来在实际收听时,按照收到电台的地方在度盘上做出标记,写上台名,以后接收时就容易寻找了。机箱外壳使用与否对收音效果是没有影响的。
零件的接线都应当焊接。零件本身要固定,不要让它悬摆。接线尽可能走最短的路。甲、乙电池引线是从机后引出来的,最好用不同颜色的塑胶软接线区别甲、乙电,以免接错电池;没有颜色线,也必须在接线上做上标志。
校验 收音机装好后,应对照线路图检查有没有接错,然后才可以接上电池进行试验。试验时,打开电源开关,用手拿着螺丝起子的金属柄碰触电子管的栅极。如果耳机里能听到“咯”的一声,就表示收音机已在工作。
下一步是接上天线和地线,再生电容器旋进约三分之二(用电位器控制再生的,把电位器转到电阻最大处),慢慢调动调谐电容器,到有电台的地方,耳机里就听到象鸟叫的啸声。在这一点停下来,然后慢慢减弱再生,最后,清晰的播音声就出来了。如果播音声较弱,可将再生加强,直到声音最大而振荡将起未起的一点为止。倘若这样调节开始时就找不到电台的叫声,没有再生现象,大多数的毛病是再生圈的接头接反了,这就要将再生圈的两个接头对调一下,重新再作试验。
在个别的再生式收音机上,有时会引起所谓“哑鱼”,那就是调谐电容器旋到某一位置时,再生振荡突然停止,过了这位置振荡又发生了。如果这里正好有个电台,就会收不到,这是因为这时调谐到的频率,正好和天、地线的电容与初级线圈组成的谐振回路的谐振频率相同,电磁波被天线吸收了。将天线的长度或初级线圈的圈数更动一下,这种现象就会消失。(冯报本)