1.小张房中的220伏的电灯泡坏了。他一时没有找到220伏的灯泡,却找到了两个110伏的,一个是3O瓦,一个是4O瓦。他想,把两个灯泡串联起来,不正好可以接到220伏的电源上吗!接上以后,两个灯的确都亮了。但过了不久,又有一个灯泡被烧坏了。大家想想看,是那一个被烧坏了呢?(张雷)

2.小华用两米花线绕在室内电灯线上作矿石机天线使用,有时一开电灯或一关电灯,耳机就不响了,必须重新调整矿石才能再收到电台。这是为什么呢?(杨润霖)

3.用一个晶体耳机按照一般电路图装一个矿石收音机,什么广播也收听不到;但是在耳机的两端并联一个20~40千欧的电阻,就可以收到广播了。为什么?(利剑雄)

第1期“为什么”答案
1.新旧电池不能并联起来使用。因为新电池的电压比旧电池的电压高,因此,对新电池来说,旧电池是它的一个负载。新电池将有一部分电流流经旧电池,将能量损耗在旧电池的内阻上,直到新旧电池的电压相同时为止。
2.由于人的唾液内含有很弱的酸。当耳机的两个接线插子碰到后,就可能产生轻微的化学作用,相当于一个小电池串接在耳机接线回路中。所以当插子断续触及舌尖时,便可以听到喀喀声。
3.棚极连线断路以后,在管内形成了一个自由栅极。阴极放射的电子碰到栅极以后,没有道路再流回阴极,因此在栅极上形成一个很高的负电位,排斥电子流向屏极。这样,屏流就很小,甚至截止,使电子管不能工作。
4.万用电表上的正负标记,是为了量直流电压或电流时用的。当电表作为欧姆表使用时,电表上标明正极的一端,实际上是接到干电池的负极,而标明负极的一端是接到干电池的正极。所以在量电解电容器时,应当把万用电表标明正极的一端(干电池的负极)接电容器的负极,而把标明负极的一端(干电池的正极)接电容器的正极。
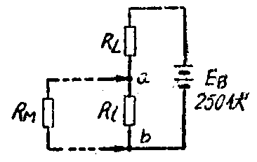
5.电压放大五极管的内阻R\(_{i}\)和负载电阻RL通常都很大,约在一兆欧左右。一般电压表的内阻R\(_{M}\)为每伏1000欧,当放在100伏一档时,RM为100千欧。所以将电压表并联在电子管上时,等于给电子管1兆欧的内阻R\(_{i}\)加上一个100千欧(只为Ri的十分之一!)的分路,因而使电子管的屏压降低很多。如图,设R\(_{L}\)=Ri=1兆欧, R\(_{M}\)=100千欧。当未接电压表时,电子管的屏压
V\(_{ab}\)=\(\frac{1}{2}\)EB=125伏。
而当接上电压表时,ab间的电阻降到
R\(_{M}\)=RMR\(_{i}\)RM+R=100×1000;100+1000=91
千欧,而
V\(_{ab}\)=EBR\(_{M}\)iRL+R\(_{Mi}\)=250×91;1000+91≈250;11+1≈21伏。
由此可见,用内阻较低的电压表测量电压放大五极管的屏压时,就破坏了电子管的工作状态,测得的数值并不是电子管原来的实际数值。
