这里介绍的一种简单自动控制用的继电器,可以用来作自动接通和切断电路、自动水位报警等试验。
一、工作原理

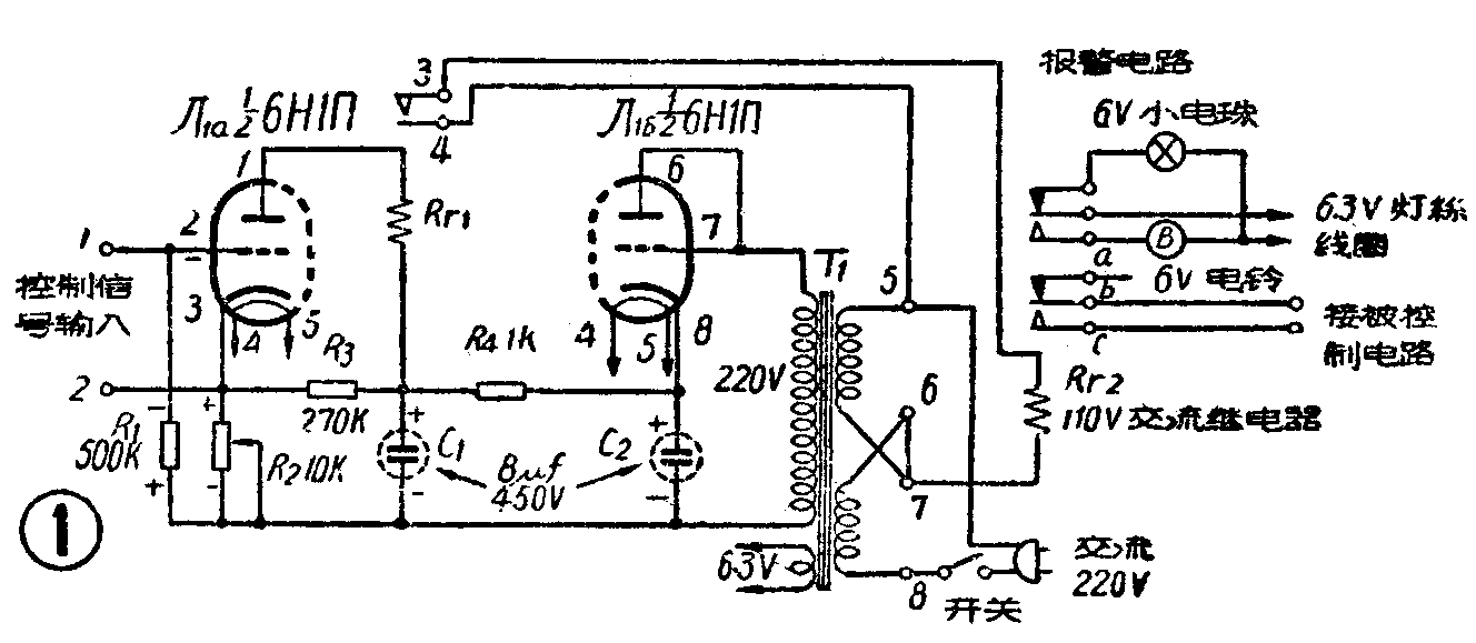
在图1中,双三极复合电子管6HlП(或6SN7)的一半三极管(Л\(_{1a}\))作放大,另一半三极管(Л1б)作整流。在放大管Л\(_{1a}\)的阴极上接一个10千欧(10K)电位器R2。整流后的电流在R\(_{2}\)上产生电压降,其负端通过电阻R1加到Л\(_{1a}\)的栅极,给栅极一个相当大的负偏压,使屏流截止。当它的栅极电路(图1中的1、2点)输入控制信号时,便减小栅极负偏压,使屏极电路出现屏流,于是串接在屏极电路里的灵敏继电器Rr1动作。它的接点接通另一个交流继电器R\(_{r2}\)的电源(图1),使它动作,从而又接通我们要控制的电路,同时发出警报(信号铃响)。
二、控制方法
这个多用电子继电器可以用人体感应作用,或是用光、声音来控制它的动作。例如,应用人体感应作用控制继电器,再通过它控制电灯电源,自动开关台灯。控制方法是在图1中的“1”处接一块长10厘米、宽8厘米的铜板(也可用铁板或铝板),立放在桌上。当我们在桌上看书或写字时,便有一微弱的感应电势,通过人体和铜板组成的电容器加到栅极上,使电子管导电,产生屏流,继电器R\(_{r1}\)动作。接通交流继电器Rr2。如果把R\(_{r2}\)的接点串接在台灯的电源电路内,Rr2动作时,它的接点便将台灯自动开开。当我们离开桌子时,栅极上便失去微弱的信号,屏流截止,电子管不导电,继电器R\(_{r1}\)、Rr2相继释放,台灯自动关闭。如控制不够灵敏,可将金属板适当加大。

在用光控制时,可以把图2的光导管(光敏电阻)接到图1中1、2两点。当有光线射到光导管上时,改变它的电阻大小,从而减小电子管的栅负压,屏流产生,使继电器R\(_{r1}\)动作。

在作声电控制或水位报警控制时,只要把图3、图4的1、2点和图1中的1、2点相接,那么话筒中有声音送入,或水位上升到一定高度时,和上述原理一样,也能产生控制作用。
三、继电器的制作

继电器R\(_{r2}\)可以用市售110伏交流继电器(也可以用交流220伏的,但此时Rr2要从接头7改接到变压器的8上)。这种继电器有两组接点,所以在完成控制作用的同时还能发出警报。继电器R\(_{r1}\)需要自制。作法参考图5。继电器的支架可用胶木板或塑料板。线圈架可用废旧的塑料板,用万能胶粘好。铁心可用普通的软铁片或罐头盒剪成五、六片,叠在一起弯成U形,焊成一整块。弹簧不要用弹力太大的,最好用小提琴的E弦,或类似的纲丝绕制。继电器的线圈,可用38号~48号线乱绕一个500欧以上的线圈就行了。继电器的衔铁一端被弹簧拉住,一端被调节螺丝止挡住,调节螺丝并能调节衔铁与铁心间的间隙。这个继电器也可以用小的蜂鸣器及普通耳机改制。
四、调整和使用
先将电源接好。调整电位器R\(_{2}\)到使Rr1的接点刚被释放,用手接触图1栅极接线柱1,这时R\(_{r1}\)的接点将以极快的速度颤动,使继电器Rr2接通,电铃响,表示控制作用正常。(黄懋广 刘炳忠)