我们利用热敏电阻制成了一具电机超温报警器。电机在运转中,如果线圈过热时,报警器就自动响铃,警告值班人员及时处理。这样,可以保障电机的安全。

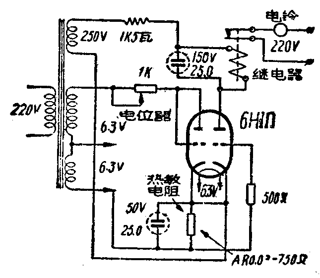
报警器的线路如图所示。双三极管6HlП的左面三极管接成二极整流管,通过热敏电阻(AR0.03-700欧)进行整流;热敏电阻上得到的整流电压加到右面三极管的栅极作为栅偏压,以控制这个三极管屏流的大小。在三极管的屏极电路中,接一个继电器(我们用的是1000欧电话继电器)。
热敏电阻的阻值,是随温度的变化而变化,而且反应很灵敏。当温度升高时,阻值就急剧减小。热敏电阻是放在电机线圈的表面,在电机正常运转的温度下,热敏电阻的阻值较大,因此12.6伏的交流电压经整流后,降落在热敏电阻上的电压也较大。这样,加在右面三极管栅阴极间的负电压较大,屏流较小, 继电器不动作。但当电机有故障,线圈温度升高的,热敏电阻的阻值减小,因此加在它上面的电压降减小。这样,右面三极管栅阴极间的负电压减小,屏流加大,使继电器动作,接通电铃电路,发出警报。
一般A极绝缘的电机最高允许温度是105℃。因为热敏电阻是放在电机线圈的表面,因此我们控制的温度是85℃。调节电阻值为1千欧的电位器,可以改变需要控制的温度。(顾明)