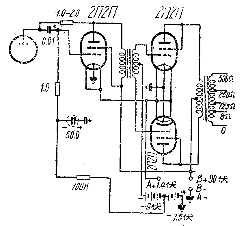
问:用一对干电式电子管2П2П作推挽放大时,屏到屏负荷总阻应用多少欧,输出变压器如何绕制?
答:用2П2П作甲类推挽放大时,如果屏压用90伏,帘栅电压用60伏,负栅压用负4.1伏至负4.5伏。那么屏到屏负荷电阻应为50000欧。输出功率为200毫瓦。
如果,把2П2П的帘栅与屏极连接,改成三极管做乙类推挽放大,屏压用90伏负栅压用负9伏。屏到屏负荷电阻为9000欧时,可以得到1.2瓦输出。输出变压器初级用40号线绕3000圈,次级用36号线500欧抽头绕720圈,250欧抽头线500圈,125欧抽头绕360圈,8欧抽头绕90圈。铁心为\(\frac{3}{4}\)×3;4时。
推挽放大级的推动级用102П2П。推动变压器初级用40号线绕1800圈,次级用40号线绕1800圈在900圈处有中心抽头。铁心截面积为\(\frac{1}{2}\)×1;2时,留0.1毫米空气隙。
推挽放大级的静止屏流为4—5毫安,最大屏流为22—25毫安。推动级屏流为4—5毫安。电路如附图。

问:县广播站离开我们学校有三四十公里,广播线系用铁线,喇叭声音很响。可是我们学校的一部扩音机,电力25瓦,带动两只16欧高音喇叭,并联成为8欧,接在扩音机输出的0与8欧两个线头上。喇叭线也是用14号双铁线,距离只有300公尺左右。但是喇叭就是不大响,为什么?有什么办法改进?
答:两只16欧高音喇叭,并联后成为8欧,这是不错的。如果喇叭线路电阻比8欧小得多,线路上损耗不大,喇叭就很响。如果线路上内阻比8欧大得多,线路上损耗很大,喇叭就不响了。14号铁线线径是2.0毫米。每100公尺长度,电阻约为8欧。600公尺铁线,电阻达48欧,比8欧大得多,线路损耗很大,喇叭就不响了。应该每只喇叭配一个线路变压器。变压器的次级应为16欧,与喇叭匹配。初级应该有0和500、1000、200O欧等几个抽头。现在应该把变压器和喇叭看做一个整体。喇叭不再是16欧,而是根据抽头,变成500、1000或2000欧了。两只喇叭并联之后,应该接到扩大机相当的接头上。例如用1000欧的线头,两个并联后成为500欧,就应该接到扩音机输出0与500 欧线头上。这时线路上的电阻仍如48欧,比超500欧来是小得多了。线路上损耗大大减少,喇叭音量就会很响。高音喇叭通常总要配上线路变压器使用。只有在个别情况下,线路很短,线路电阻很小,才可以直接连到扩音机上。没有变压器的高音喇叭绝对不能接到广播站的广播线上。否则就要使线路上几十个或几百个广播喇叭都不响,影响宣传工作。(以上方锡答)
问:一部50瓦的机器,输出是120伏,288欧,我们现有10瓦8欧的高音喇叭二只,25瓦线间变压器二只(输入阻抗:400欧,500欧,1,000欧,2,000欧,输出阻抗:8欧,16欧),应如何接法?如用10瓦线间变压器(输入阻抗250欧~2,000欧)又应如何接法?
答:用50瓦机器带20瓦的负荷,还有30瓦的富裕,可采用代负荷电阻,接法如图所示。

匹配简单的计算方法如下:
线间变压器初级阻抗Z=
=\(\frac{P(扩音机电力)×R(输出阻抗)}{P(喇叭功率)}\)
=\(\frac{50×288}{10}\)=1,440欧。
用25瓦线间变压器初级抽头阻抗都不适合,但在1000~2000欧抽头之间的阻抗Z'=(\(\sqrt{2}\),000-1,000)\(^{2}\)=1,414欧,与1,440欧仅相差30欧基本上合用。
代负荷电阻=50×28830=480欧。
没有相同的电阻,可用500欧电阻代替。
10瓦线间变压器1000~2000欧抽头间线径较细,满负荷时,容易烧毁,不宜使用。
问:我有一部胜利牌四灯带有拾音器插孔的收音机,想带上6个舌簧喇叭,这些喇叭都分别安在6个教室里边,要求原机不动,把拾音器输入改为话筒输入,能接话筒讲话,应怎样改,6只喇叭怎样接才合适(可以不要原机上喇叭)。
答:可用舌簧喇叭代替话筒使用,直接由拾音器插孔输入,舌簧喇叭的灵敏度比话筒大得多,音质也很好。其次用送话器和电话感应线圈,直接由拾音器插口输入(如图),音量很大,但音质比较差些。

舌簧喇叭是高阻抗,不能直接和收音机动圈喇叭低阻抗相接,否则舌簧喇叭声音不响。如原机输出变压器窗口有余,可以在次级线圈上再加绕一组高阻抗线圈,供舌簧喇叭用,这样6个舌簧喇叭就可以并连到各个教室。如果原机输出变压器不宜改制,可以另外换一个具有高阻抗输出的输出变压器代替原机输出变压器。
问:我站有两部录音机,现在都发生了消磁不净的毛病,而第二次录的节目声音小,应如何解决?
答:录音机一般是用超音频抹音,当超音频振荡器工作不正常,超音频振荡弱或停止振荡时,会有抹音不净现象,可以更换振荡电子管试试,如不行,就测量振荡管各极零件和电压是否正常,振荡停止时,栅极就没有负压。检查抹音磁头线圈有没有短路的地方,其次抹音头方位未校正好也会产生这样现象,应适当调整水平和垂直方位变易位置。
问:我们制作了一个出力数很大的消磁器,经过试验,效果良好,一盘磁带只需要几秒钟即能全部消净,这是否有损磁带利用率?
答:对磁带没有损失。(以上彬答)
问:在市上买到华北厂的27片硒堆,上面没有型号,请介绍它的特性。
答:市售27片的硒堆多是华北厂的0427型,是供收音机作整流用的,整流电压220伏,输出电压和电流要看负载而定,负载电流不大于60毫安。还有0423和0425型的特性也和上面的相同,只不过它们的滤波输出电容量分别不能大于5微法和10微法,而0427型则不受限制。
问:2П2П直接用舌簧扬声器作为屏极负载是否可以?
答:2П2П的屏极负载阻抗是20千欧;一般舌簧扬声器在400周时的阻抗约为8,600欧(直流电阻约1,000欧),直接作为2П2П的屏极负载阻抗还小。但是为了利用现成的元件,将这种扬声器接入还是能够发声的,不过这会引起电子管特性的变动,主要的现象是输出功率要减小,音量不足,失真较大。(以上冯报本答)
问:火车上用的扩大器是交流供电的还是干电池供电的?为什么输出功率很大,可以带很多喇叭?
答:火车上装有电流容量较大的蓄电池。在火车开动以后,有直流发电机随时对蓄电池进行充电,无论在行车或停车时都可以供给全车照明及其它电气设备使用。火车上用的扩大器就是采用这种低压直流电源直接供给灯丝,高压则经过一个直流升压机(即一个用低压直流电作动力的直流高压发电机)来供给。因此电力较大且无论行车或停车均可使用。
问:铜线的圆密尔是怎么回事?
答:圆密尔是一种旧的度量铜线截面积的单位,一个圆密尔是以千分之一英寸为直径的圆面积。如果某种铜线的圆密尔为1000,就是说这种铜线的截面积相当于1000个千分之一英寸为直径的圆面积。一般在设计变压器时常以800—1500个圆密尔通过一安培电流计算。
问:一个普通的低放线路如图一。当R转向图示上方时,除音量增大外同时产生交流声,但音乐的低音也较丰富;转向下方时,除音量减小外交流声也没有了,音乐的低音也消失了,何故?如何解决?

答:由于交连电容C对于低音频的阻抗比高音频大得多(交流声属于低音频一类),例如C对100周的低音频较对2000周的高音频阻抗相差20倍,因此将R向上转时低音频才能获得较大的增益。可以采取有抽头的电位器如图二连接即可有所改善。因为C\(_{1}\)对高音频阻抗较小,当R向下方旋转时,C1将部分高音频旁路而低音频不受影响,可以起到自动调整的作用。交流声应由改善电源滤波性能、放大管栅极接线的隔离以及加接屏负载电路的退交连等来解决。
问:电容器的耐压分为直流耐压和交流耐压两种,如何解释?
答:电容器的直流耐压系指电容器两端所能承受的直流电压,交流耐压则包括有两种内容:1.能耐受的交流电压的有效值;2.在这种频率的交流电压下能耐受通过相应的交流电流。例如1微法的电容器对50周的交流电压的阻抗为3184欧,如果该电容器的交流耐压为100伏,则应保证通过31.4毫安的电流。因此常在注明交流耐压的同时应注明能容许通过的电流数据。(以上郑宽君答)