磁性瓷材料——铁淦氧可以用来做成室内电视天线。使用这种材料,主要困难在于它的导磁率随着频率的提高而降低,以及损耗的随之增加。从图1曲线中可以看出,铁淦氧材料的起始导磁率愈高,这样的导磁率降低和损耗的增加愈为显著,换句话说,就是起始导磁率越低的铁淦氧磁体,它的有效应用频率范围越高。根据图1所示,可以选定适于用作电视天线的铁淦氧磁体型号,例如波段在48—56兆周时,可以采用起始导磁率为μ=20(图中φμ—20型)的铁淦氧材料,如果频率更高时,可以使用μ=15 (图中φ—15型)的一种。

电视天线需要通过很宽的频带(4—5兆周),采用单根磁性天线是很难达到这一目的的,因为这样的天线输入回路品质因数很高。这一困难可以利用耦合电路的方法取得解决,办法就是使用两根磁性天线,采取紧密的耦合,这样就可以大大加宽天线可以通过的频带。

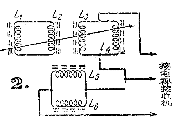
图2是适用于两个频道的磁性电视天线的电路,它的构造见于图3。为了避免各组天线之间不必要的交连,这种双频道天线是采取十字交叉形的装置。从图2电路中可以看出,第一频道天线是由两组成双地平行并连的元件,即单独的磁性天线所构成。每组平行并联天线是利用它们各自的接线电容而调谐的,这一电容量约为1.5微微法。单独的天线平行并联是为提高它们的有效高度。第三频道天线也采用耦合电路方式,但是利用单独电路效果也很好。

磁性电视天线装置在有机玻璃制成的座架上,架子的结构如图3。第一频道天线使用直径10毫米、长度100毫米φ-20型铁淦氧磁棒。第三频道使用直径8毫米、长度100毫米的φ-15型磁棒。线圈架用高频损耗很小的材料——氟塑料或聚苯乙烯制成,没有以上材料,可以采用聚氯乙烯。第一频道天线线圈绕在直径12毫米的线圈架上,线间距离为2毫米,用直径0.3毫米漆包线绕14圈。第三频道的天线线圈绕在直径10毫米的线圈架上,绕距1.5毫米,用同号线绕12—15圈。以上数据都是近似值,确实数据要看电视接收机的输入电路而确定。

这种天线在苏联实际使用,无论在莫斯科或远离20至25公里以外的地方,收到的电视图象和伴音效果质量都很好。(何祖康译自苏联“无线电”杂志1960年第2期)