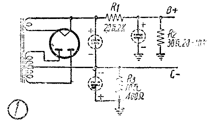
在扩音机里的整流器一般用三只电阻分别担任滤波、泄放和取得栅负压,如图1中的R1、R2、R3,为此需用三只阻值不同的线绕电阻器,如果能用一只电阻来完成岂不更好吗?经改用图2办法试用在50瓦甲乙2类807式扩音机里供帘栅极及前级电压,效果相当满意。


使用方法是:用一只30瓦左右20—30千欧滑动线绕电阻,一端调滑动环至2千欧固定作滤波,另一端再找一个滑动环(或自制一个)固定在300欧左右,供给栅负压,其余部分作泄放。两只滑动环可随意调到所需要的电压。三只电阻用一只电阻代替,既经济又方便,所以叫它“三合一电阻器”。(赵宏波)