有些一般结构的五灯机若能在线路上作些改动,可使音量更大音质改善,发挥更大作用。作者收集了一些资料,做过实验,把有6A2П、6K4П、6H2П、6П1П和6П4П五只电子管的一具产品普通五灯机,在中频放大级以后,按照图1线路加以改装,增加的另件和费用不多,但经过改装后,和原机相比,无论音量和音质,都有很大的改进。

改装中,力求对原有线路和另件尽量少更动,并且照顾原来五灯机电源变压器容量有限,不能增用更多的电子管,以免增加变压器的负荷而缩短了原机的每次开用时间,同时还考虑到在机箱和底盘的地位上都还有一定的限制。改装的要点如下:
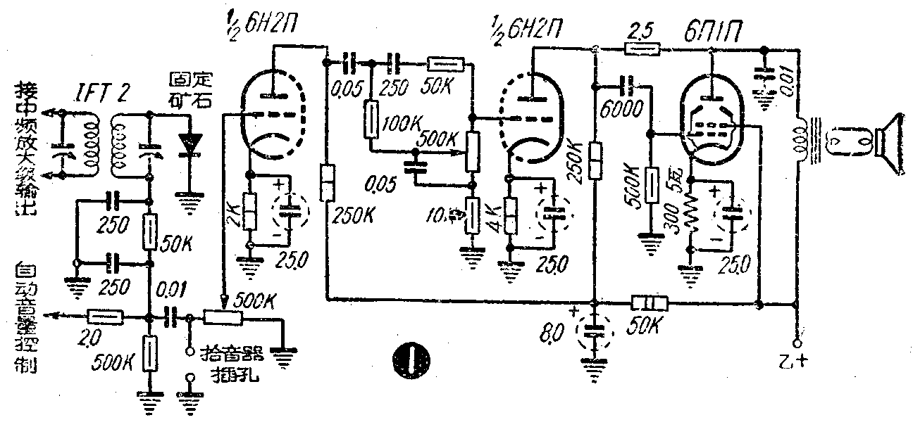
(一)原机的检波级是由6Н2П的一半接成二极管来担任,现在改用一只普通矿石收音机上用的固定矿石来担任。
(二)原机是用6Н2П一半检波一半低放,现在把6Н2П改作两级低放,并在两级之间加入一个RC高低音提升网络。这个网络是电阻电容衰减器线路,利用一只500K电位器充作音调调节。电位器箭头旋到最上端时,实际线路如图2。这时高音频通过阻抗很小的250微法电容器C\(_{2}\)和50K电阻R1加到第二个三极部分的栅极上。因为电路里并联有0.05微法的电容器C\(_{3}\),它对较高音频的阻抗还是较小的,使高音频大量地旁路,因而栅极上的高音频电位显得很低,增益很小。低音频由于C2的存在,只可经由100K电阻R\(_{2}\)加到栅极上去,但是C3对较低的音频,阻抗是较高的,电位器R\(_{3}\)的作用便比较显著,因此栅极上低音频的电位远比高音频为高,也就是说高音频被衰减,而低音频被提升了。反之,当电位器R3的箭头旋到最下端时,实际线路如图3。这时C\(_{3}\)已被短路,栅极上的高音频电位较高,增益较大,而低音频由于有C2和交连电容器C\(_{1}\)相串联,电容量减小,使栅极上的低音频电位较低,因而增益较小,这样就是衰减了低音频而相对地将高音频提升得很高。由于使用了这样一个衰减网络,原机音量输出约衰减负十余个分贝,必须多增一级低放才能得到弥补。现在把原作检波使用的6Н2П的第一个三极部分改成了第一级低放,增多了一级三极管放大,总的增益约可提升20分贝,因此输出音量就比原机宏亮得多了。

(三)在末级功率放大管的屏极上加有一只反馈电阻,使一部分输出电压回输到第二级低放的屏极。因为这两点的相位是相反的,所以完成了负反馈作用。这只反馈电阻的阻值必须很大,这样对减低输出波形失真的程度和取得更大的音频响应范围有较好的效果。功率输出级增加了负回授可以使强放管改低它的有效屏阻,这对输出级的电力放大是很需要的,尤其是在输出级里使用束射式强力四极管。需要的原因在于扬声器的阻抗对于各段音频频率并不一致,对某一段频率阻抗显得是很高,对其它频率会是很低。放大器的输出阻抗降低以后,就可以减除因扬声器阻抗的变动而引起的频率失真。至于前面两级低放使用的都是三极管,它本身产生的失真很小,所以就不再需要增加负回授了。
(四)在这两级低放的屏回路里都需要接连退耦电阻电容,以保证收音机工作稳定,并防止产生自激振荡。因为原机只有一级低放和一级强放,它们的相位关系是相反的,不会引起振荡。现在多加了一级电压放大,三级低频放大间的相位关系,就有正有负,如不接退耦滤波电阻电容,就会产生自激振荡而发生“扑扑……”的汽船声。
(五)检波用的矿石在焊接前须要加工,将矿石先在普通矿石机上试听确实灵敏,然后将矿石两端各焊出一根引线,然后用牛皮纸或青壳纸卷包起来,外面再用香烟合锡箔纸包裹,和通地一根引线相连接地。这样可以避免许多感应叫声。如不用矿石检波,可将中频放大级的电子管改用6Б8C,用它的双小屏极检波。但我试过中放级用6K4П或6SK7要比用6Б8C响亮,同时6Б8C还须另外购买,而将6K47搁置不用,殊不经济。在这一级里,有条件的话,能用上一只国产Д2型的半导体锗二极管担任检波,那是最理想的了。
经过以上的改装以后,全机所用耗电的电子管仍是五只,但在音量和音质方面有了极大增进,在灵敏度方面也显著地有所提高。(徐之振)