我们根据定电流式干电池充电方法,经过四个多月的试用,认为用脉冲定电流充电法,简单易行,效果显著。对一般干电扩音机上用的全套电池可以一起分头充电,还可以加充一套收音机电池和日用小电池,每套可充4到10次,一般效用,每充一次可用26—36小时,提高使用率3倍以上。现将使用情况作一汇报。
一、干电池为什么可以充电
这点以前(见本刊1957年11期)已有介绍,这里简略地再提一下。干电池是由化学方法生电放电的,放电时炭极周围产生了氢气,电阻增大。新电池本身有二氧化锰或活性炭它能放出氧气和氢化合,把氢消除。电阻不会增大,使用正常。但使用日久以后,二氧化锰或活性炭逐渐消失,因而氢气增加,内阻增大,电压降落,不能使用。但一般电池的有效物质远远尚未用完,据了解一节小电池有19克锌,能产生15.8安时的电,实际使用上一般只用了3—4安时,即用了19%—25%,这样很多电池就白白地浪费抛弃了,但只要充一下电,使炭棒附近产生氯,和氢化合为氯化氢,即把氢气驱除,消除极化作用,就能降低内阻,使干电池继续发挥有效作用,这对增产节约是很有意义的。
二、怎样充电
1.充电最主要的问题是控制好充电电流和充电时间。充电电流大小,就是用多大电容量去充电,电流大,充的时间可以短一些;电流小,时间需要长一些。但电流不宜过大,太大会使电池发热,发生冒电糊或锌皮胀大等现象,而且使用时电压降落很快。据实验六号甲电池充电用300—400毫安,乙电在80毫安左右。充电时间一般3小时为合宜,如电池陈旧则应长一些。
2.采用那种方法充电好?充电有直流电流充电和脉冲电流充电两种方法。我们采用了脉冲定电流方法,它比直流充电更有效,因为直流充电电流稍高或时间稍长一点,容易使电池发热,而且电流总是沿着内阻小的途径通过,所以大部充电电流只通过干电池的上层,难以深入到各个部分。用直流充电法所得到的容量,一部分来自电池电压的升高,但内阻下降并不显著。用脉冲法充电时,通过的脉冲时间很短,电流峰值虽然很高,但平均电流仍然很低,不会使电池过热,瞬时的大电流脉冲,可以使充电电流在电池内部分布比较均匀,效果也就比直流充电好。
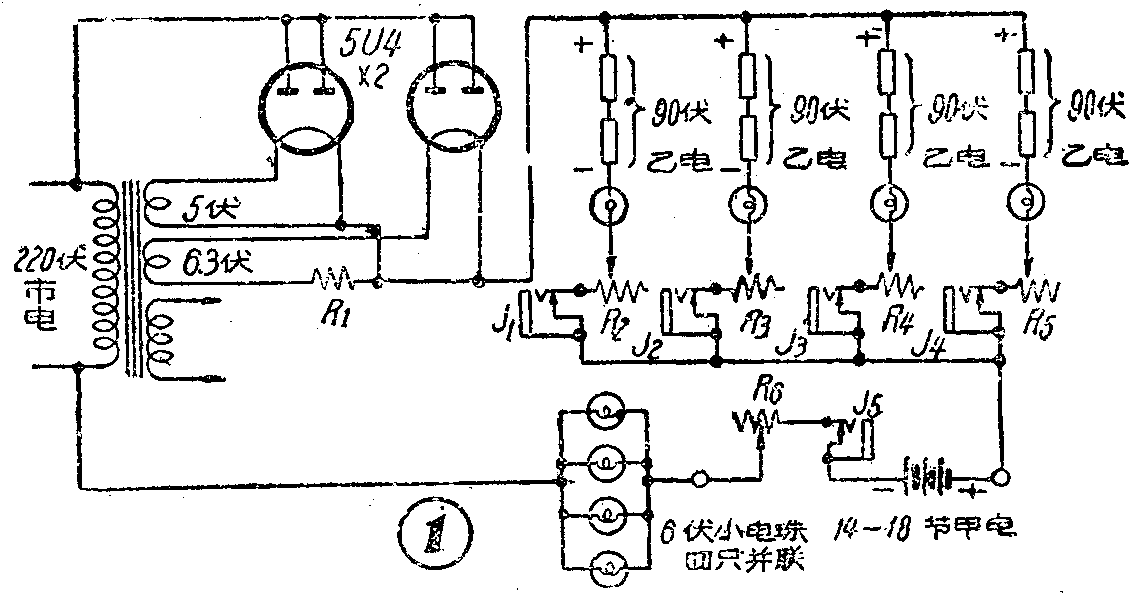
3.充电电路。产生脉冲电流的方法,我们是用两只5U4并联,利用半波整流电路不加滤波的输出电流。用两只5U4按计算输出电流有450毫安,足够作充一套干电扩音机电池之用,充电线路如图1。只用一只普通五灯收音机的电源变压器供给两只5U4的灯丝电压,其中一只是把6.3伏一组加上一只用25号漆包线长约40米绕制成的0.43欧电阻R\(_{1}\)作降压,高压直接利用电厂发电电压。R2—R\(_{5}\)是20瓦100欧可变电阻,作调整单组充电电流用。R6是50瓦100欧可变电阻作调整全组电池电流用。J\(_{1}\)—J5是随时测量各组电流的电表插孔。小电珠作保险丝同时又作指示灯用。

三、充电程序
1.电池排队:将电池一节一节地测好未充电时的电压,列表记录,根据电压的高低,把高与高的列为一队,低与低的列为一队,分为四组。各个甲电池也要查清有否脱焊,有否失效,另行排队,然后进行下一步工作。
2.排废补新:在检查中发现乙电降到25伏以下,一般是该方电池中有一节或多节小电池已破烂不能充电,必须取下,换上较好的补足。如发现甲电有锌皮破烂或开裂的,应用蒸溜水洗净,用火漆等绝缘物封好,方可充电。
3.上机充电:将分队各组电池分头将正电压接充电机正端,负电压接充电机负端(此时切莫接上电源开启开关,以防自动放电),将各组可变电阻调至最大电阻,即可开启电源,用电流表测各组电流,调整电阻将电流调到规定值(一般为80毫安),将各组电流调整平衡后,再调总电阻R\(_{6}\)至规定值。
4.适时调整电流:在充电时间内应每隔20分钟调整充电电流一次,因为这是定电流充电,开始时各组电池是相同的,经过一段时间,原来电压高较好的,电流降落很快,长时间不加调整,电流会降低到零。甚至有的会倒回放电。这时候应该把这一组的可变电阻阻值降低,使它继续充电。如果还不够高,可以把其他各组电阻升高(即电流降低),把总电阻降低(即电流升高),如果仍旧无效,就说明这一组电池已经充电完毕,可以单独取下,让其他三组继续充电。
5.充电结束:经过3—5小时的充电,测试各组电流不能升高到60毫安时,就算充电完毕。取下来搁置十多分钟以后,测试各级电压应在100—140伏左右,说明电池已经充足。甲电应在2伏左右。最后搁置12小时,等待电压降低到接近原值时方可使用。使用时电压逐步下降。根据测试资料列表(图2),可见在充电以后12小时内电压降落很快,以后下降速度就变慢了。

四、什么情况下可以充电?
1.电池的电糊未干可以充电。如果电糊干了,乙电须单独取下,注入食盐蒸溜水或氯化铵液,然后充电。甲电同样注入溶液,再充才有效。注入溶液方法可在电池身长\(\frac{2}{3}\)的上部用竹针凿开小孔四个,注后用绝缘物封好,以防溶液外流。
2.锌皮不太破烂,表明有效物质尚未用完,如有少许破烂,可用蒸溜水洗净后用火漆密封,可以充电。
3.电池电压不过于低落,一般在1伏以上,可以充电。
4.测试电池的短路电流一般能在300毫安以上的。
如果有不合以上四点的,应剔除补新后方可充电。否则将会妨碍全套充电的进行。
五、充电注意事项
1.因利用发电机线圈作高压线圈,全套设备上均带电,工作时须要注意防止触电。
2.充电时一定要使各组电流平衡,并保持电流固定。我们的经验是固定在80毫安左右。
3.充电时勿使各节电池碰极,更不能使本身一节短路,否则会使全套电池失效。
4.对作保险用的小电珠要随时增减,使其能起作用,以防烧毁整流电子管。(陆人全)