这部收音机按高放级带若干再生作用的来复式线路装配而成。高频锗三极管П1И担任不调整高放兼低放,锗二极管Д2E作检波。因而这部收音机是具有一级高放、检波和一级低放的1—V—1收音机。我所用的这二只半导体管都是苏联制造的,其中П1И可用国产截止频率不小于1兆周的П6型锗三极管(如П6Ж、П6Г等)来代替,而锗二极管Д2E可用国产锗二极管Д9(或Д1)来代替,线路不必更动。
锗三极管П1И的集电极直流(工作点)电流为250微安,消耗电源功率为450微瓦,如用一节容量为2.4安培小时的甲号手电池作电源,可以连续使用三百多天。

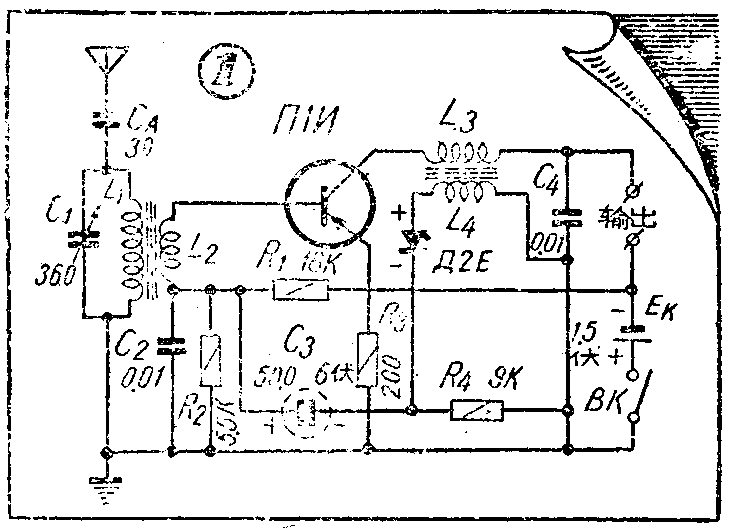
线路见图1所示。由L\(_{1}\)、C1所组成的输入调谐回路选择出来的无线电信号经线圈L\(_{1}\)而感应到耦合线圈L2再进入锗三极管П1И的基极。被放大的高频信号降落在高频变压器初线线圈L\(_{3}\)上并耦合到次级线圈L4上。经锗二极管Д2E检波而得的低频信号通过电解电容器C\(_{3}\)而反馈到锗三极管的基极。放大后的低频信号。经线圈L3而在输出负载上得到我们所要收听的广播节目。
由于半导体三极管的输入阻抗非常低(一般在50—2000欧)。为了获得阻抗匹配,以得到最大功率传输,必须要用圈数不多的耦合线圈L\(_{2}\)(或将线圈L1抽头)。否则收音机的选择性和灵敏度都将大大下降。
分压器电阻R\(_{1}\)和R2以及接在锗三极管发射极上的电阻R\(_{3}\),与三极管组成了一个简单而稳定性极好的线路。三极管的工作点不易因温度等变化而产生漂移。
线圈L\(_{3}\)有两个作用:(1)作为锗三极管的高频负载。(2)与电容器C4组成了LC再生回路,当线圈L\(_{4}\) 与L1存在着耦合时,就会发生反馈作用,当反馈是正反馈时,收音机的灵敏度和选择性就会提高。
收音机装在普通的塑料小盒中,其内部结构和外貌分别见图2和3所示。因为用了盖子后,收音机的厚度将增加数毫米,因此干脆不用,而用一块“П”型马粪纸塞在里面。


线圈L\(_{1}\)和L2绕在长100毫米,直径为10毫米的M\(_{4}\)型磁性棒上。L1用30号左右的三股漆包编织线绕55圈,L\(_{2}\)用28号单股漆包线绕12圈,如图4。在绕线圈L1前,磁性棒上先包上一层很薄的玻璃纸。为了使它不发生松动,可在线圈的二端各套上一个聚苯乙烯的套管,并用丝线扎紧。为了使线圈L\(_{2}\)可以在磁性棒上任意滑动,L2先绕在适当粗细的硬纸管上,然后套入磁性棒。
高频变压器的两个线圈L\(_{3}\)和L4绕在长45毫米、直径为10毫米的M\(_{4}\)型磁棒上。L3用40号左右的单股漆包线乱绕420圈,L\(_{4}\)用同号漆包线绕350圈。L3绕在外层,L\(_{4}\)绕在内层,层间用薄玻璃纸隔开。为了防止使用时弄断,在线圈外面包上两层较硬的纸。L3和L\(_{4}\)的线头都焊在用20号漆包线做的圆环上。见图5所示。
由于同型号的每个半导体管的电气参数不一致,所以半导体收音机装配完工后,一般都要进行多方面的调整,以充分地发挥它们的放大作用,提高收音机的性能。机中要调整的是耦合线圈L\(_{2}\),供给锗三极管基极偏压(或偏流)的电阻R2以及再生作用。首先调整耦合线圈L\(_{2}\),方法就是在磁性棒上移动线圈L2的纸管和增减其圈数,到选择性和灵敏度不能再提高为止。其次是选择电阻R\(_{2}\)的数值。方法是:用一只500K(或1MΩ)的电位器串联一只5K的电阻代替电阻R2,转动电位器,直至音量最响,失真又最小为止。然后测量此电阻值,并用此阻值的电阻接入电路。
最后是调整“再生”。假如刚装配好,电源一接通,就发生强烈的再生叫声,那必须首先用适当容量的电容器来代替C\(_{4}\),直到可变电容器C1从容量最大调到最小都不再发生叫声为止(这时最好使其离开再生振荡临界点远一些),再进行以上的调整手续。调整再生是从改换电容器C\(_{4}\)和适当移动高频变压器的位置着手。此项工作应比较仔细地进行。调整的要求是:将可变电容器C1全部旋出时,刚好不发生再生叫声。这样高频端1500千周附近,再生力较强,低频端550千周附近,再生较弱。但因半导体三极管使用频率愈高,增益愈小,因而使得在整个波段中,放大量几乎是均匀的。假如电容器C4不接入电路时,收音机的音量反而有所增加,证明线圈L\(_{3}\)(或L1)的方向接得不对头。应将线圈L\(_{1}\)(或L3)的二个端点对调一下。
在进行调整时,不能用金属起子在半导体三极管附近东碰西碰。因为一不小心,在其基极-集电极间发生短路,就可能使它损坏。
这部收音机最好用直流电阻为1千欧左右的低频负载(耳塞、耳机或扬声器)。假如手头只有直流电阻比1千欧大很多的负载,则最好把电源电压增加到3—4.5伏。
另外,应该指出:负载太大,不利于选择性的提高(对发射极接地线路而言。在基极接地线路中,情形正好相反)。电阻R\(_{2}\)对R1的比值愈大,也愈不利于选择性的提高。
可变电容器C\(_{1}\)最好用空气介质的,但也可用云母介质的。电解电容器C3的容量在数微法到数十微法的都可用。假如其外壳是金属做的,应用纸将它包起来,或用一张纸塞在它与可变电容器之间,以防因外壳接地而使锗三极管的基极-集电极间发生短路。
这部收音机不接天地线,可用耳机收听距收音地点十来华里远的省台的广播。接上电灯天线,不接地线,可用灵敏的电动扬声器收听上述电台,还可用耳机听到外省电台的广播,但这时选择性欠佳。假如再接上地线,音量将增加不少。(唐存训)