为了今年更大更好更全面的工农业的大跃进,大搞技术革新和技术革命,向机械化、半机械化、自动化和半自动化进军,电话通信和会议电话便成了党政部门掌握工作、听取汇报、布置工作和召开会议必不可缺的工具,因此提高电话和会议电话音质和音量就成为一项很重要的工作。现在各单位差不多都有收音机,如果利用它来作扩音设备,对工作是很有利的。
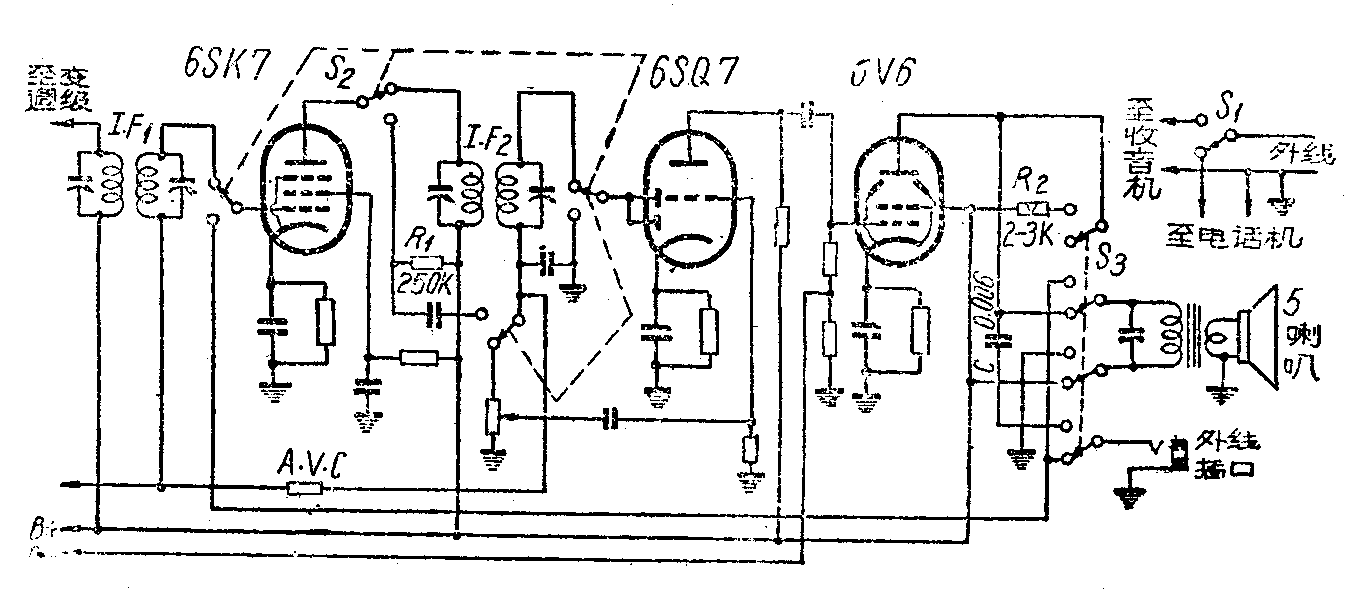
近年来,在各种无线电杂志上,经常有利用各种收音机改装为会议电话机的介绍,但是有一共同点,就是发话都是用晶体话筒或电话微音器,前者价值昂贵,后者声音容易失真。我们利用了一架普通五灯中短波超外差式收音机,增添了少数零件,进行改装为电话会议机,在平时打电话遇到声音低弱听不清楚或需记录时,则可利用它来作电话扩音机,改装后线路如附图。

在改装时,是以经济实用为原则来考虑的,因此尽量利用原有收音机上的零件,减少改装费用。可将原短波段拆除并将短波线圈短路,中波线圈直接接电子管各极,节省下一只四刀双掷开关用来作发话及收话用的转换开关。原收音机上的喇叭在发话时,可临时代替话筒使用。改装只须添购一只四刀双掷开关和几只电阻、电容器,全部费用仅用四、五元。
改装的另一优点是利用了原有中放管6SK7,加了一级电压放大,使末级输出功率有了很大增长(如用锐截止管6SJ7来作电压放大,效果更好)。如果收音机是用6SN7或小型管6H2П作第二检波兼低放的话,则可利用第二检波的三极部分作第一级低放,效果将会更良好。
开电话会议及电话扩音时,将接外线的话筒插头插入话筒插口,将S\(_{1}\)拨向收音机一侧,将S2拨至电话一侧,发话及收话时则利用S\(_{3}\)来控制。作收音机用时,将S1拨至电话一侧,S\(_{2}\)拨至收音一侧,S3拨至收话一侧即可。(李宗歧)