由于不同的用途和需要,有时要设计电源电压很低的收音机,又如在半导体收音机里,由于半导体在高频范围工作还有限制,使得晶体管超外差收音机的性能不够理想。这时,把电子管与晶体管搭配起来使用,让电子管担任高频范围的工作,晶休管担任低频放大,这样,在电源消耗功率不大的条件下,可以使得收音机性能大大提高。
究竟电子管在低屏压下的状态如何,电子管在低屏压下能担任什么工作,如何在低屏压下正确的运用电子管,这便是本文探讨的问题。

要研究低屏压下电子管的工作状态和如何正确运用它,我们可以从电子管的构造上去考虑。在低屏压时,五极管中电力线分布大致如图1所示。其中有两个区域存在空间电荷。一是非常靠近阴极(或丝极)表面附近的空间区域,丝极加热后发射出热电子达到平衡时,就分布在靠近阴极(或丝极)的一层,形成空间电荷层。屏流就是由于这些电子在屏极电场作用下到达屏极而形成的。另外,在帘栅极和抑制栅之间的空间电荷区是由于屏压低,吸引力弱,有些电子就聚集在帘栅极和抑制栅极之间而形成。这层空间电荷对直达屏极的电子有阻止作用,影响了屏流。
由于电子管在低屏压工作时的这些特点,使得电子管的放大因数μ和跨导S都大大减低。因而在设计低压收音机时,如不采取必要的措施,是很难令人满意的。针对这些特点,在设计时就应该注意减低和消除抑制栅和帘栅极间空间电荷的影响,并且使阴极 (或丝极)附近的空间电荷中的电子尽多地奔向屏极。
现在分别考虑担任各种工作时的情形:
栅极再生检波 低屏压工作的电子管作栅极再生检波要比担任其他工作优越。这种检波器本身就不要求有高的屏压,大约为普通放大器屏压的1/3左右。栅极检波本来就有栅流产生,但是它对谐振回路的影响被再生作用抵消,而谐振回路的Q值也由于有再生回授而增大,灵敏度和选择性都极高。这是由于谐振回路的品质因数是Q\(_{э}\)=ω0LR\(_{э}\),而Rэ=R-MS;C(其中R是谐振回路的损耗电阻;M是再生圈与谐振回路线圈间的互感;L、C是谐振回路的电感、电容;S是工作点的静跨导)。再生作用使得R\(_{э}\)减小,S越大,Rэ越小,因而Q\(_{э}\)大大增加。在低屏压下工作的栅极检波器应该尽力提高S值——采用高跨导的电子管;把五极管联成三极管以加大跨导和在栅极加以正偏压来选择适当的工作点能使跨导较大。工作点P是由加在栅极的偏压Ec和栅漏电阻值决定(见图2),在弱信号工作时栅漏电阻选1—5兆欧,同时,由于在栅极加了正偏压,也使得检波工作点在屏流栅压特性曲线的直线的上部,这对减轻振荡滞后现象有利。

低压再生检波的实际制作线路很多,这里举出一个常见的线路如图3,图中电子管第3、4脚接了正电,也就是前面谈过的为消除空间电荷和帮助屏极吸引电子而用,并且A\(_{+}\)接地,也使得栅极通过R3而加上了正偏压。

1K2П、1A2П(三极部分,或把它整个连成三极管使用)及2П2П都有较高的跨导,适合作再生检波。
担任低放 在低屏压下工作的低放管不适合于加正偏压,否则失真严重。但是可以把负偏压减少一些,以增加跨导,这样还是适宜的。但有时在作功率放大时,为了提高效率往往作正栅运用,也就是栅极上电压几乎有半个周期是处于正压。这时效率会提高,但是有了栅流出现,并且较大。如果输入信号源是低内阻的,并且再用降压变压器来交连(变压器要考虑到电子管在有栅流时的输入阻抗),这样,栅流在输入源内阻上引起的降压问题就可以不必考虑了。
2П2П作低放最好,其在低压下的参数参见附表。

担任高频放大 高频放大倍救K=S·R\(_{H}\)(S代表跨导;RH代表总的负载阻抗)。一般在低屏压下使用时电子管的跨导S小,当使栅极略带正性时,可有较多电子奔向屏极,使跨导有所增大。从特性曲线上来看,也就是运用了屏流——栅压曲线较陡的部分。由此,放大倍数K也就加大。但是过高的栅极正偏压反而会减小屏流,影响跨导的增大。因此,按照这个原则来制作时要精细地选择正偏压。对不同的电子管,甚至对同一种电子管,由于它们本身的正向及反向栅流不同,正偏压取值都各不相同。此外,帘栅极也应直接在乙正,以减少空间电荷和帮助加大对奔向屏极的电子的吸引力,这也可提高跨导。
但是由于栅极带了正电,产生了栅流,形成了数值很小的栅阻,使输入阻抗分路,使得输入谐振回路的Q值减低,因而使灵敏度选择性下降。对于这种不利的情况,一方面应该对栅极正偏压选用合适,使栅流不致过大,输入阻抗不致太小。另一方面,也可采用自耦输入谐振回路来减低输入阻抗对回路Q值的影响。按照图4所示的自耦输入谐振回路,它的品质因数是Q\(_{э}\)=\(\frac{Q}{1+P}\)\(^{2}\)Rэ;R\(_{0}\)(其中Rэ=ω\(_{0}\)2L\(^{2}\)r;P=Lb+M;L);这里Q表示LC谐振回路的品质因数;L\(_{b}\)为线圈抽头下部分的自感;L是抽头上部分的自感;M是抽头上下两部分之间的互感;r表示谐振回路本身的损耗电阻;R0表示栅极的输入电阻。当抽头越低时,P越小,也就是R\(_{0}\)对Qэ的影响越小。但是在一般直接耦合或变压器耦合的输入回路中,Q\(_{э}\)=\(\frac{Q}{1+}\)Rэ;R\(_{0}\)),可知R0对Q\(_{э}\)的影响很大。所以选用自耦式的输入回路是最适宜的。此外,由于上述种种作法,使屏内阻Ri也减低了,这样就使放大器的放大倍数K减小。这是因为K=S·R\(_{H}\)=S·RiR\(_{H}\)Ri+R\(_{Π}\);(RΠ是回路谐振阻抗并联于下一级栅路的损耗阻抗而形成的总阻抗)。可见R\(_{i}\)越小K也越小。并且,如果屏极电路有谐振回路的话,屏内阻Ri的减小也使得Q值减低,放大器的选择性也变坏。但是,如果栅极正偏压选择适当,可以实现既加大了跨导S,又使得屏内阻R减低得不多,那么影响就不大了。

中放级的设计原则与高放级相同。不过为了保证超外差机的检波前能有足够的放大倍数,往往要采用两级中放。1K2П在屏压为6伏时能有10倍的放大,这样有两级中放时,放大倍数能有100倍。而在正常电压下工作的一级中放也不过放大四、五十倍。因而低压收音机的灵敏度并不比正常供电情况下差。图5是一个中频放大的实际设计与制作的电路。适合作低屏压高放和中放的电子管为1K2П,和1A2П。二者在低屏压使用时的参数见附表。

担任变频工作 五栅变频管(如1A2П)它的第一栅第二栅联合构成三极管,作本机振荡。问题在于如何能使这个振荡器在低屏压下稳定地工作。一般振荡电路是采用调栅式的。它的稳定自激振荡条件要使耦合值M满足以下公式:M>\(\frac{rC}{S}\)(其中r,是谐振槽路电阻;C是谐振槽路电容;S是工作点跨导)。由此可以看出如果跨导越大,那么稳定自激振荡条件越容易满足。所以,要使振荡器在低屏压下工作,就应该提高工作点跨导S。提高S的方法可以把栅漏电阻R\(_{c}\)接到灯丝正端,以使栅极略带正性,这样就使本本振荡稳定工作。Rc的数值选在50K—150K之间,数值大时(100K—150K)变频跨导S\(_{пp}\)的均匀度较好, 但数值小;Rc值小时(50K—100K)S\(_{пp}\)数值可增大。小型管1A2П的三极部分在担任本机振荡时要在屏压8伏以上才能稳定工作,在9伏时就可以满意地工作到16—20兆周。
另外,变频管的五极部分(第三,四,五栅及屏极)担任混频和放大作用,要想使变颇级在低屏压下工作满意,还应提高变频放大倍数K\(_{пp}\),而Kпp=S\(_{пp}\)RH;而S\(_{пp}\)与振荡电压大小有关,要加大Sпp一方面应该加大振荡电压,另外也和高放级一样使栅极略带正性,以提高工作跨导。变频级的放大倍数一般是较小的,1A2П在6伏时约1.5倍,22.5伏时不过4倍。

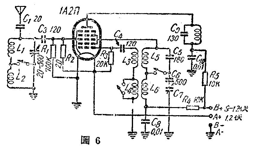
变频的实际电路如图6,在变频级一般是不希望加自动音量控制电压的,这是为了防止当低压时在接受强信号情况下可能破坏本机振荡的产生之故。

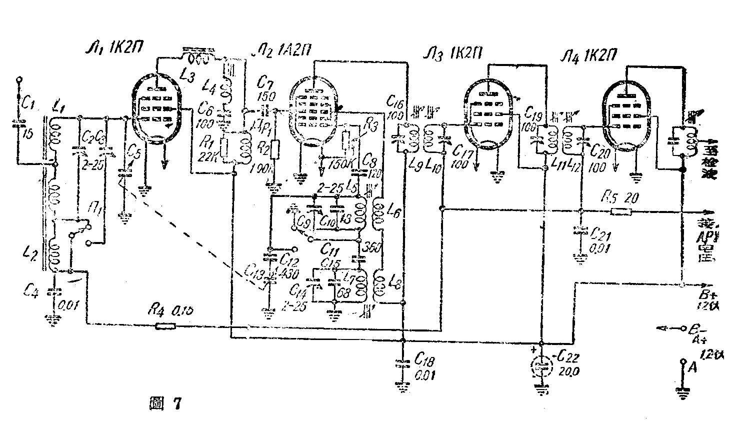
大多数现代接收放大电子管在低电压时(6—12伏)能够满意地工作。上面列举过的几种电子管是其中较好的,体积小,耗电省,性能好,因此完全有可能设计和制作低压超外差收音机。这里举出一个低压超外差机的部分线路(利用电子管的高频、中频部分电路)如图7所示,以供参考。图中高扼圈ДP\(_{1}\)有相当大的阻抗,为了提高Л1的屏压将电阻R\(_{1}\)与它并联。此外,为了加大高频的放大,除了将Л1—Л\(_{4}\)的帘栅极直接B+以外,所有电子管的屏极电路都不加去耦滤波器,实验证明这时收音机工作完全满意。另外,为了改善变频极的工作,振荡栅漏电阻R\(_{3}\)加大到150K,且接到灯丝正端,这样当屏压减到9伏特时,就还能在全部使用频带内得到稳定振荡。这个收音机线路在检波级以后是由晶体管担任的。(铎)
(1) 电视大学高等化学正在上课,这是北京师范大学化学系教师徐美丽正在电视台讲课。
(2) 电视大学的学生——北京医学院附属第一医院业余学校的教师们正在听课。(新华社记者 顾德华摄)
